Запчасти Case 821G (35.300.040[01]) - HYDRAULIC RESERVOIR ASSEMBLY (35) - HYDRAULIC SYSTEMS

Схема запчастей Case 821G - (35.300.040[01]) - HYDRAULIC RESERVOIR ASSEMBLY (35) - HYDRAULIC SYSTEMS
15
14
7
23
16
17
8
5
15
14
27
26
11
10
20
12
25
9
24
2
22
3
4
13
1
28
21
18
6
19
FIT
1:1
100%

Артикул

Название

Примечание

Количество

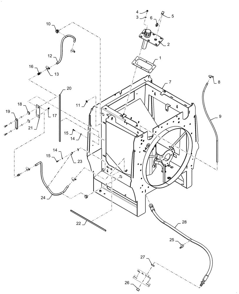
1

379587A2

GASKET

Hydraulic Tank

1шт.

2

8606005

CAP

Hydraulic Tank

1шт.

3

895-11008

WASHER,9mm ID x 16mm OD x 1.6mm Thk

9шт.

4

832-10408

NUT,M8 x 1.25, Cl 8.8

8шт.

5

86521965

ELBOW,90 Degree, 3/8"-18 Female x 3/8"-18 Male

1шт.

6

8606006

VALVE, CHECK

Hydraulic Tank

1шт.

7

47646705

FRAME

Cooling System

1шт.

8

214-1704

HOSE CLAMP,#04, 0.25" - 0.62", Type M Worm

1шт.

9

87549248

HOSE,9.50 mm ID x 1130.00 mm

Breather, Hydraulic Tank

1шт.

10

198826C1

GROMMET,19.05mm ID x 41.1mm OD x 26.9mm Thk

2шт.

11

84346910

SPRING NUT,M8

9шт.

12

47471712

HOSE

Sight Gauge, Upper

1шт.

13

214-1406

HOSE CLAMP,#06, 0.44" - 0.78", Type F Worm

4шт.

14

892-11008

LOCK WASHER,8mm ID

3шт.

15

627-8025

BOLT,Hex, M8 x 1.25 x 25mm, Cl 10.9, Full Thd

3шт.

16

76086829

HYD CONNECTOR

2шт.

17

833-40408

NUT,M8, U

2шт.

18

131-141

PUSH-ON NUT,.74", Push-on

2шт.

19

86988366

SIGHTGLASS

1шт.

20

8500136

SEAL

2шт.

21

47577217

BRACKET

Sight Gauge

1шт.

22

87312068

OIL SEAL

Header

2шт.

23

515-22190

CLAMP,3/4", Insul, 5/16" Bolt

1шт.

24

47471713

HOSE

Sight Gauge, Lower

1шт.

25

515-23317

CLAMP,31.75mm ID, 10.3mm Bolt Hole, P Type

1шт.

26

218-335

CAP,37 Degree, 1 1/16"-12

1шт.

27

218-1256

BHD LOCK NUT,Blkhd, 1 1/16"-12

1шт.

28

84240223

HOSE,19.05mm ID x 1592mm L

1шт.

Выбрано товаров: 28