Запчасти Case 400C (045A) - A140830 FUEL INJECTION NOZZLE, (336B) DIESEL ENGINE, WITHOUT TURBO-CHARGER (03) - FUEL SYSTEM

Схема запчастей Case 400C - (045A) - A140830 FUEL INJECTION NOZZLE, (336B) DIESEL ENGINE, WITHOUT TURBO-CHARGER (03) - FUEL SYSTEM
FIT
1:1
100%

Артикул

Название

Примечание

Количество

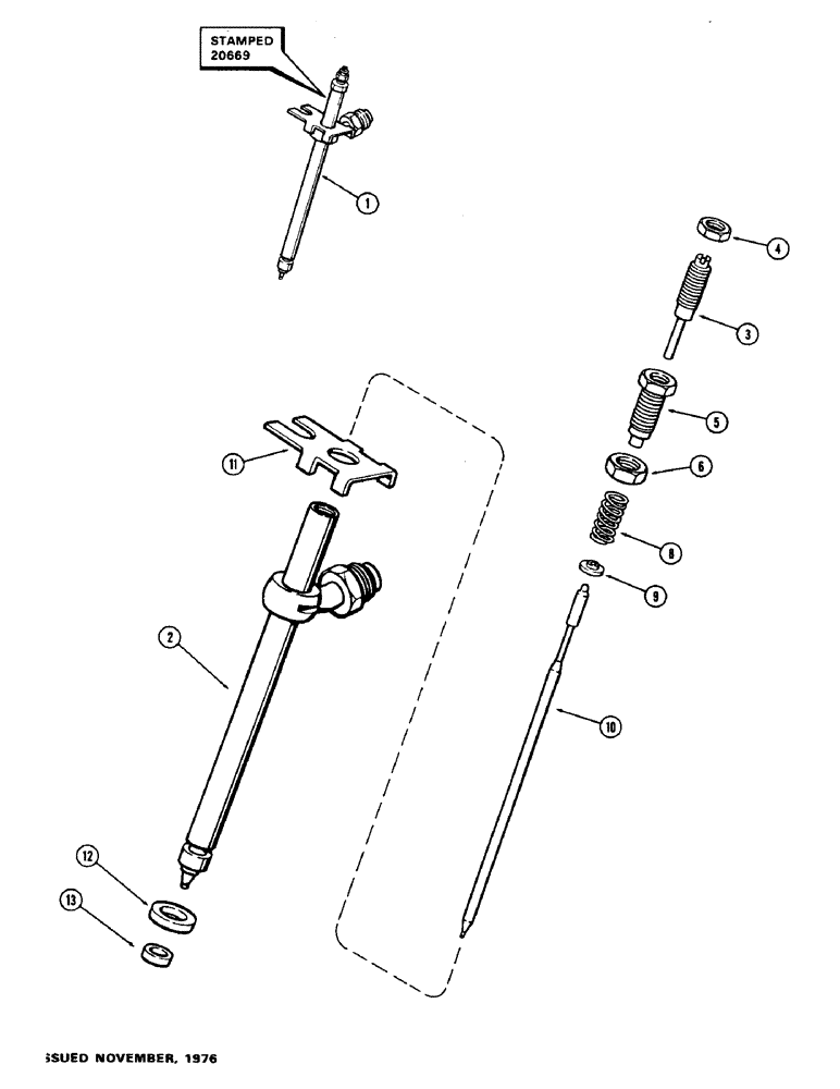
1

A140830

INJECTOR ASSY.

NOZZLE ASSY. - injector (Supplier's No. 20669 stamped on body) (Yellow & blue color code) (Replaces A64439 & A59092), Includes: Ref. 2 - 13

4шт.

Whenever nozzle is removed from head, the seal ref. 13 & washer ref. 12 must be replaced before nozzle is installed back in the head.

1шт.

A140830R

REMAN-INJECT NOZZLE

300C, 400C

4шт.

A140830C

CORE-NOZZLE, INJECT

Return Number

1шт.

2

NSS

NOT SOLD SEPARAT

BODY - nozzle

1шт.

3

A43599

ADJUSTMENT SCREW,#10 - 56 x 1.39"

SCREW - lift adjusting

1шт.

4

A43602

NUT

- lock, lift adjusting screw

1шт.

5

A43600

ADJUSTMENT SCREW,#10 - 56 x 0.68"

SCREW - pressure adjusting

1шт.

6

A42424

LOCK NUT

- lock, pressure adjusting screw

1шт.

8

A43733

SPRING

- pressure adjusting (9/16" free length) (Color coded red)

1шт.

9

A44369

SEAT

- spring

1шт.

10

NSS

NOT SOLD SEPARAT

VALVE - nozzle

1шт.

11

A41768

PLATE

- nozzle locating

1шт.

12

A41403

WASHER,9.55mm ID x 14.18mm OD x 3.38mm Thk

- nozzle body

1шт.

13

A41402

SEAL,7.89mm ID x 9.74mm OD x 2.87mm Thk

- carbon stop

1шт.

Выбрано товаров: 15