Запчасти Case 600 (057C) - INJECTOR NOZZLES, (336BD) DIESEL ENGINE (02) - FUEL SYSTEM

Схема запчастей Case 600 - (057C) - INJECTOR NOZZLES, (336BD) DIESEL ENGINE (02) - FUEL SYSTEM
FIT
1:1
100%

Артикул

Название

Примечание

Количество

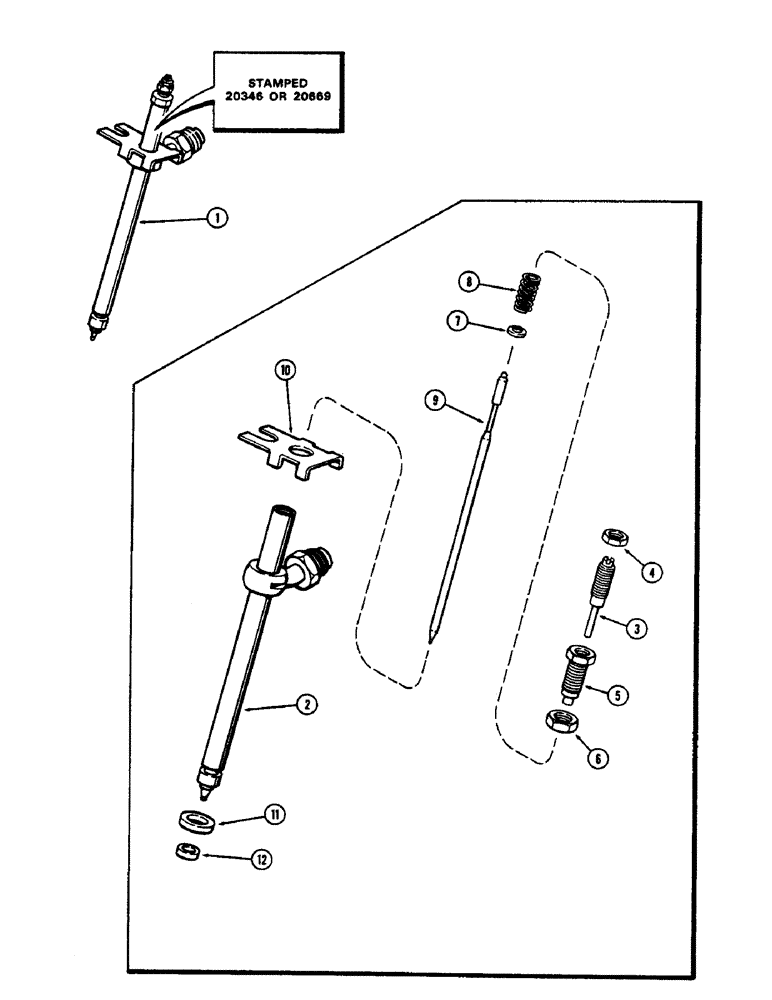
1

A140830

INJECTOR ASSY.

NOZZLE ASSY. - injector (Stamped 20669 on body) (Blue & yellow color code) (1st used eng. ser. no. 2581421), Includes: Ref. 2 - 12

4шт.

Whenever nozzle is removed from the head, the seal, A41402 and washer, A41403 must be replaced before nozzle is installed back in head

1шт.

A140830R

REMAN-INJECT NOZZLE

600, 800, 825

4шт.

A140830C

CORE-NOZZLE, INJECT

Return Number

1шт.

1

A64439

NOZZLE CAP

NOZZLE ASSY. - injector (Order A140830) (Stamped 20346 on body) (Blue & yellow color code) (Used prior to eng. ser. no. 2581421), Includes: Ref. 2 - 12

4шт.

Whenever nozzle is removed from the head, the seal, A41402 and washer, A41403 must be replaced before nozzle is installed back in head

1шт.

A140830R

REMAN-INJECT NOZZLE

600, 800, 825 ALL (USED PRIOR TO ENG. S/N. 2581421), Reman for new PN A64439

4шт.

A140830C

CORE-NOZZLE, INJECT

Return Number

1шт.

2

NSS

NOT SOLD SEPARAT

BODY - nozzle

1шт.

3

A43599

ADJUSTMENT SCREW,#10 - 56 x 1.39"

SCREW - lift adjusting

1шт.

4

A43602

NUT

- lock, lift adjusting screw

1шт.

5

A43600

ADJUSTMENT SCREW,#10 - 56 x 0.68"

SCREW - pressure adjusting

1шт.

6

A42424

LOCK NUT

- lock, pressure adjusting screw

1шт.

7

A44369

SEAT

- spring

1шт.

8

A43733

SPRING

- pressure adjusting (9/16" free length w/red stain)

1шт.

9

NSS

NOT SOLD SEPARAT

VALVE - nozzle

1шт.

10

A41768

PLATE

- nozzle locating

1шт.

11

A41403

WASHER,9.55mm ID x 14.18mm OD x 3.38mm Thk

- nozzle (3/8 x 9/16 x 1/16")

1шт.

12

A41402

SEAL,7.89mm ID x 9.74mm OD x 2.87mm Thk

- carbon stop (5/16 x 3/8 x 1/8")

1шт.

Выбрано товаров: 19