Запчасти Case W10 (166) - A16785 TWO SPOOL CONTROL VALVE (08) - HYDRAULICS

Схема запчастей Case W10 - (166) - A16785 TWO SPOOL CONTROL VALVE (08) - HYDRAULICS
FIT
1:1
100%

Артикул

Название

Примечание

Количество

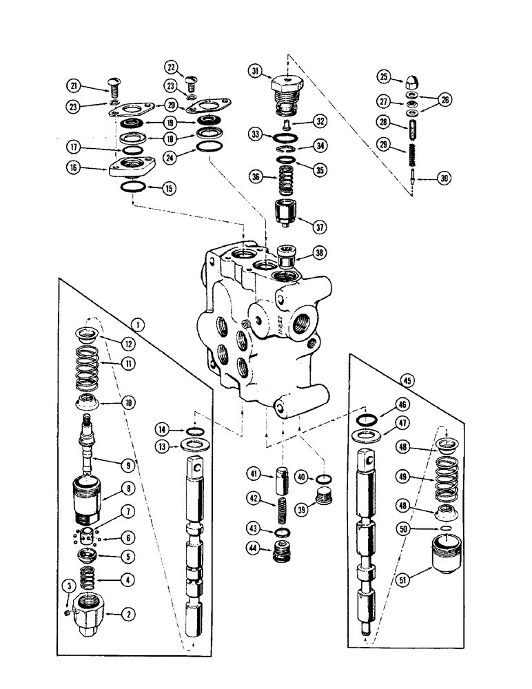
A16785

VALVE - complete (Order A19983), Includes: Ref. 1 - 51

1шт.

1

A25276

SPOOL - float valve (Change over kit), Includes: Ref. 2 - 14

1шт.

A25276 float spool is blue coated and will replace all other color coded spools in repairs. It can be used to change over A13915 valves.

1шт.

2

A16854

COVER

CAP - outer

1шт.

3

A16855

SCREW

- set

1шт.

4

A16853

VALVE SPRING

SPRING - cap

1шт.

5

A16852

RETAINER

- detent ball

1шт.

6

211-5

BALL,3/16" Dia

- detent (3/16" O.D.)

6шт.

7

A25278

BARREL

- detent

1шт.

8

A16850

CAP

- inner

1шт.

9

A16848

SLEEVE CYLINDER

SLEEVE - detent

1шт.

10

A16846

CAP

SPACER - centering, outer

1шт.

11

A16847

SPRING

1шт.

12

A13164

RETAINER,13.49mm ID x 37.31mm OD

SPACER - centering, inner

1шт.

13

A13166

WASHER

RETAINER - "O" ring

1шт.

14

A13184

O-RING,0.103" Thk x 0.987" ID, -120, Cl 5, 75 Duro

"O" RING

1шт.

15

A27355

O-RING,0.139" Thk x 1.17" ID, -217, Cl 5, 75 Duro

"O" RING - seal housing, float spool

1шт.

16

A13177

HOUSING - seal, float spool

1шт.

17

A13184

O-RING,0.103" Thk x 0.987" ID, -120, Cl 5, 75 Duro

"O" RING - float spool (Stem end)

1шт.

18

A13167

RETAINER

- "O" ring, spool

2шт.

19

A13168

WIPER

- spool

2шт.

20

A13169

PLATE - seal, spool

2шт.

21

75-616

SCREW - 3/8 x 1" N.C. rd. hd. mach. (Float spool)

2шт.

22

75-610

X

SCREW - 3/8 x 5/8" N.C. rd. hd. mach. (Tilt spool)

2шт.

23

92-6

LOCK WASHER,3/8"

4шт.

24

A13184

O-RING,0.103" Thk x 0.987" ID, -120, Cl 5, 75 Duro

"O" RING - tilt spool

2шт.

25

129-514

CROWN NUT,Low, 5/16" - 24

- acorn, relief valve (5/16" N.F.)

1шт.

26

D26270

WASHER, SEALING

SEAL - nut, relief valve

2шт.

27

25-155

JAM NUT,Jam, 5/16"-24, G5

- jam, relief valve (5/16" N.F.)

1шт.

28

176-297

SET SCREW,5/16"-24 x 1", Slotted

SCREW - set, relief valve (5/16 x 1" N.F. slotted)

1шт.

29

A15918

VALVE SPRING

SCREW - pilot plunger, relief valve

1шт.

30

D26267

PLUNGER

- pilot, relief valve

1шт.

31

A16856

CYLINDER END CAP

CAP - relief valve

1шт.

32

D26266

SEAT

- pilot plunger, relief valve

1шт.

33

A15988

X

"O" RING - cap, relief valve

1шт.

34

A16860

RING

- back-up, relief valve

1шт.

35

A13186

O-RING

"O" RING

1шт.

36

D26268

SPRING

- relief valve

1шт.

37

A16857

PLUNGER

- relief valve

1шт.

38

A16585

SEAT - plunger, relief valve

1шт.

39

86625138

PLUG,7/18" - 14

Relief valve opening Hex Soc, 7/8"-14 ORB

1шт.

40

86512512

PLUG,7/8" - 14 ORB

"O" RING - plug, relief valve opening

1шт.

41

A16861

VALVE POPPET

POPPET - check valve

2шт.

42

A13171

VALVE SPRING

SPRING - check valve

2шт.

43

A13186

O-RING

"O" RING - check valve cap

2шт.

44

A13172

CYLINDER END CAP

CAP - check valve

2шт.

45

A15979

SPOOL - tilt, Includes: Ref. 46 - 50

1шт.

46

A13184

O-RING,0.103" Thk x 0.987" ID, -120, Cl 5, 75 Duro

"O" RING

1шт.

47

A13166

WASHER

RETAINER "O" RING

1шт.

48

A13164

RETAINER,13.49mm ID x 37.31mm OD

SPACER - centering

2шт.

49

A15981

SPRING

- tilt spool

1шт.

50

A27020

RING

SNAP RING - spacer (Replaces A13190)

1шт.

51

A13165

CAP

- tilt spool

1шт.

Выбрано товаров: 53