Запчасти Case W10B (004) - CYLINDER HEAD AND COVER, (401) DIESEL ENGINE (02) - ENGINE

Схема запчастей Case W10B - (004) - CYLINDER HEAD AND COVER, (401) DIESEL ENGINE (02) - ENGINE
FIT
1:1
100%

Артикул

Название

Примечание

Количество

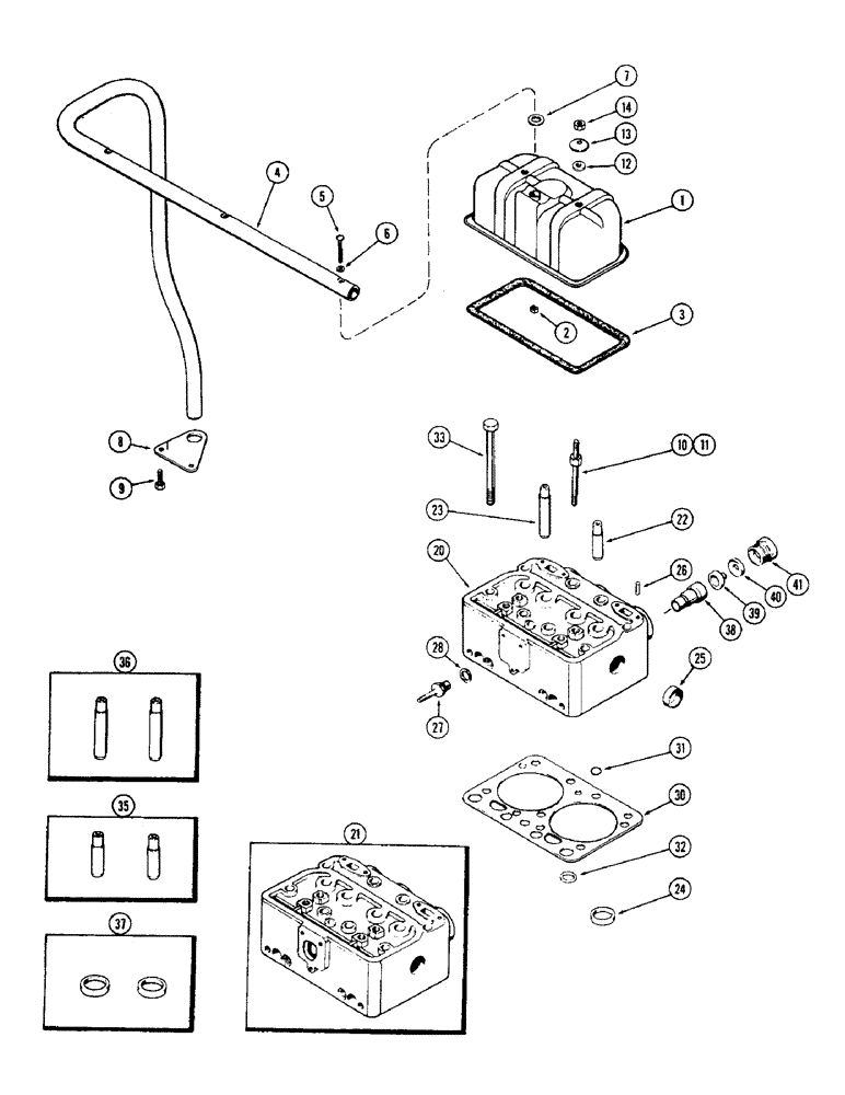
1

A42803

KIT

COVER ASSY. - cylinder head (replaces A23681), Includes: Ref. 2

3шт.

2

131-114

SPRING NUT,Rtnr, 1/4" - 20, 0.25" High

NUT - speed, 1/4" N.C. retainer type

1шт.

3

A57595

CYLINDER HEAD GASKET

-, Serial Range: cover-head

3шт.

4

A24184

TUBE

- breather

1шт.

5

75-436

SCREW,Rd, 1/4" - 20 x 2 1/4"

- 1/4 x 2-1/4" N.C. rd. hd.

3шт.

6

A34133

GASKET

- fiber, tube screw

3шт.

7

A23685

GASKET

- rubber, Serial Range: tube-cover

3шт.

8

A23686

BRACKET

- breather tube (On oil pan)

1шт.

9

A9936

BOLT - bracket (3/8 x 1-1/8" N.C. hex.)

2шт.

10

A27882

STUD - cover & rocker bracket (w/7/16" N.F. top thrd.) (Used prior to eng. SN 2095635)

6шт.

11

A57458

STUD

- cover & rocker bracket (w/7/16" N.F. top thrd.) (1st used eng. SN 2095635) (Order A57990 & 25-107)

6шт.

11

A57990

STUD

- cover & rocker brkt. (w/7/16" N.C. top thrd.) (1st used eng. SN 2095635)

6шт.

12

A23684

GASKET

GASKET - rubber, cover nut

6шт.

13

A23683

WASHER

- dished, cover nut (15/32 x 1-25/64")

6шт.

14

25-117

NUT,7/16"-20, G5

- 7/16" N.F. hex. (Use w/A27882 or A57458)

6шт.

14

25-107

NUT,7/16"-14, G5

- cover, 7/16" N.C. hex (Use w/A57990)

6шт.

20

A33643

HEAD (CYLINDER)

HEAD ASSY. - (Casting no. A33613) (1st used eng. SN 2095635), Includes: Ref. 22 - 28

3шт.

21

A20956

HEAD (CYLINDER)

HEAD ASSY. - (Casting no. A20957) (Used prior to eng. SN 2095635), Includes: Ref. 22 - 28

3шт.

22

NSS

NOT SOLD SEPARAT

GUIDE - exhaust valve (Order ref. 35)

2шт.

23

NSS

NOT SOLD SEPARAT

GUIDE - intake valve (Order ref. 36)

2шт.

24

NSS

NOT SOLD SEPARAT

INSERT - valve seat (Order ref. 37)

2шт.

25

A34124

PLUG,Cup, 1 5/8", Stainless

- 1-5/8" cup type

2шт.

26

A11810

PIN,3.19mm OD x 6.99mm L

- powrcel (1/8 x 17/64")

2шт.

27

A10768

STUD - injector

2шт.

28

A10679

GASKET

- stud (23/32 x 29/32 x 1/32" copper)

2шт.

30

A23118

GASKET

-, Serial Range: head-block

3шт.

31

A27410

O-RING,0.487" ID x 0.693" OD x 0.103"

"O" RING - oil passage (1/2 x 11/16 x 3/32")

3шт.

32

A7669

RING

- rubber, water passage (7/8 x 1-3/32 x 5/64")

6шт.

33

A23355

BOLT

- head to block (9/16 x 6" N.C. hex.)

27шт.

35

A21674

GUIDE

S - exhaust valve (Set of 2)

3шт.

36

A21671

GUIDE

S - intake valve (Set of 2)

3шт.

37

A57484

INSERT

S - exhaust valve seat (Set of 2)

3шт.

38

A22978

BODY

- powrcel, fuel injector

6шт.

39

A22975

CAP

- powrcel

6шт.

40

A11812

CLAMP

- powrcel

6шт.

41

A11813

PLUG

SCREW - powrcel clamp

6шт.

Выбрано товаров: 36