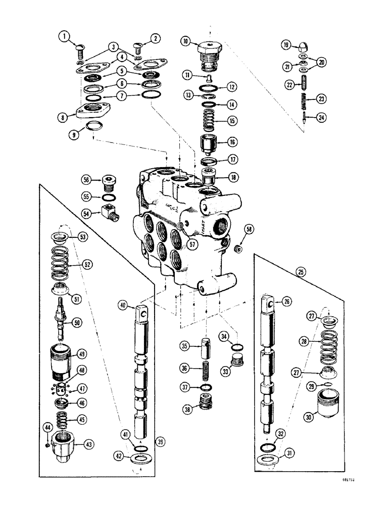
Запчасти Case W10B (224) - A19984 LOADER CONTROL VALVE, THREE SPOOL (08) - HYDRAULICS

Схема запчастей Case W10B - (224) - A19984 LOADER CONTROL VALVE, THREE SPOOL (08) - HYDRAULICS
FIT
1:1
100%

Артикул

Название

Примечание

Количество

A19984

VALVE - loader control, 3 spool, Includes: Ref. 1 - 16

1шт.

1

75-616

SCREW - machine, round head (3/8" - 16 NC x 1") Lift spool

2шт.

2

75-610

X

SCREW - machine, round head (3/8" - 16 NC x 5/8") Tilt spool

4шт.

3

92-6

LOCK WASHER,3/8"

6шт.

4

A13169

PLATE - seal, spool

3шт.

5

A13168

WIPER

- spool

3шт.

6

A13167

RETAINER

- seal, spool

3шт.

7

A13184

O-RING,0.103" Thk x 0.987" ID, -120, Cl 5, 75 Duro

SEAL - "O" ring, lift, tilt and clam spools (Eye end)

3шт.

8

A13177

HOUSING - seal, lift spool

1шт.

9

A27355

O-RING,0.139" Thk x 1.17" ID, -217, Cl 5, 75 Duro

SEAL - "O" ring, seal housing

1шт.

10

A16856

CYLINDER END CAP

CAP - relief valve

1шт.

11

D26266

SEAT

- pilot plunger, relief valve

1шт.

12

218-5009

O-RING,0.116" Thk x 1.048" ID, -914, Cl 6, 90 Duro

SEAL - "O" ring, relief valve cap

1шт.

13

A16860

RING

- backup, relief valve

1шт.

14

A18349

O-RING,0.103" Thk x 0.799" ID, -117, Cl 5, 75 Duro

SEAL - "O" ring, relief valve cap

1шт.

15

A15918

VALVE SPRING

SPRING - relief valve

1шт.

16

L30146

VALVE POPPET

PLUNGER - relief valve

1шт.

17

NSS

NOT SOLD SEPARAT

SCREEN - relief plunger, Includes: Ref. 18 - 58

1шт.

18

A16858

SEAT

- plunger, relief valve

1шт.

19

129-514

CROWN NUT,Low, 5/16" - 24

- acorn (5/16" - 24 NF)

1шт.

20

D26270

WASHER, SEALING

SEAL - nut, relief valve

2шт.

21

25-155

JAM NUT,Jam, 5/16"-24, G5

- hex., jam (5/16" - 24 NF)

1шт.

22

176-297

SET SCREW,5/16"-24 x 1", Slotted

SCREW - set, relief valve

1шт.

23

D26268

SPRING

- pilot plunger

1шт.

24

D26267

PLUNGER

- pilot, relief valve

1шт.

25

A15979

SPOOL ASSEMBLY - tilt and clam, Includes: Ref. 26 - 32

2шт.

26

NSS

NOT SOLD SEPARAT

SPOOL - loader tilt and clam

1шт.

27

A13164

RETAINER,13.49mm ID x 37.31mm OD

- spring

2шт.

28

A15981

SPRING

- spool centering

1шт.

29

A27020

RING

SNAP RING -, Serial Range: retainer-spool

1шт.

30

A13165

CAP

COVER - spool end

1шт.

31

A13166

WASHER

RETAINER - seal

1шт.

32

A13184

O-RING,0.103" Thk x 0.987" ID, -120, Cl 5, 75 Duro

SEAL - "O" ring, spool

1шт.

33

86625138

PLUG,7/18" - 14

Relief Valve Opening Hex Soc, 7/8"-14 ORB

1шт.

34

237-6010

O-RING,0.097" Thk x 0.755" ID, -910, Cl 6, 90 Duro

10-1, 90 Duro, .755" ID x .097" Thk, Relief valve opening

1шт.

35

A16861

VALVE POPPET

POPPET - check valve

3шт.

36

A13171

VALVE SPRING

SPRING - check valve

3шт.

37

A13186

O-RING

SEAL - "O" ring, valve cap

3шт.

38

A13172

CYLINDER END CAP

CAP - check valve

3шт.

39

A25276

SPOOL ASSEMBLY - lift, Includes: Ref. 40 - 58

1шт.

40

NSS

NOT SOLD SEPARAT

SPOOL - loader lift

1шт.

41

A13184

O-RING,0.103" Thk x 0.987" ID, -120, Cl 5, 75 Duro

SEAL - "O" ring, spool at housing (Cap end)

1шт.

42

A13166

WASHER

RETAINER - "O" ring

1шт.

43

A16854

COVER

CAP - spool end

1шт.

44

1A6855

SCREW - set, cap retaining

1шт.

45

A16853

VALVE SPRING

SPRING - spool return

1шт.

46

A16852

RETAINER

- detent ball

1шт.

47

211-5

BALL,3/16" Dia

- detent (replaces 221-5)

6шт.

48

A16848

SLEEVE CYLINDER

SLEEVE - detent

1шт.

49

A16850

CAP

- spool retainer

1шт.

50

A25278

BARREL

- detent

1шт.

51

A16846

CAP

RETAINER - spring, outer

1шт.

52

A16847

SPRING

- spool centering

1шт.

53

A13164

RETAINER,13.49mm ID x 37.31mm OD

- spring, inner

1шт.

54

A15925

ELBOW UNION

ELBOW - pressure check

1шт.

55

A15567

O-RING

SEAL - "O" ring, plug

1шт.

56

218-5215

PLUG,Hex Soc, 1 5/8"-12 ORB

- pressure check port

1шт.

57

217-433

PLUG,Hex Soc, 1/4" - 18 NPTF

Pipe Hex Soc, 1/4"-18 NPTF

1шт.

58

221-844

PLUG,Hex Soc, 1/2"-14

- pipe, square socket head (1/2" NPT)

1шт.

Выбрано товаров: 59