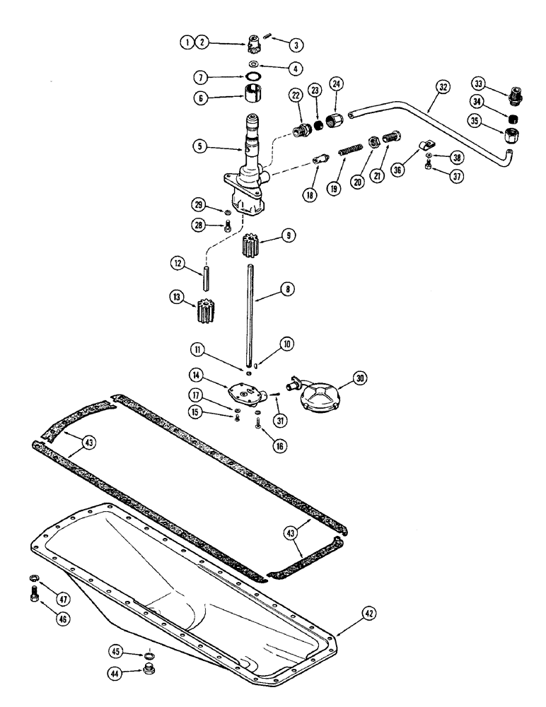
Запчасти Case W10B (036) - OIL PUMP, (377) SPARK IGNITION ENGINE, USED PRIOR TO ENGINE SERIAL NUMBER 2173890 (02) - ENGINE

Схема запчастей Case W10B - (036) - OIL PUMP, (377) SPARK IGNITION ENGINE, USED PRIOR TO ENGINE SERIAL NUMBER 2173890 (02) - ENGINE
FIT
1:1
100%

Артикул

Название

Примечание

Количество

A33878

PUMP

ASSY. - oil (Includes Refs. 1 & 3 - 24) (Used with A34173 camshaft), Includes: Ref. 1 - 24

1шт.

A33443

PUMP

ASSY. - oil (Incl. Refs. 2 - 24) (Used with A23492 camshaft), Includes: Ref. 1 - 24

1шт.

1

A33840

GEAR WHEEL

GEAR - pump drive (Steel) (Tin plated)

1шт.

2

A26329

GEAR

- pump drive (Cast) (Copper plated)

1шт.

3

135-133

GROOVED PIN,3/16" x 1", Type A, Hardened

PIN, GROOVED, 3/16" x 1", Type A, Hardened

1шт.

4

A27857

WASHER

- thrust, drive gear

1шт.

5

A21094

BODY

ASSY. - oil pump, Includes: Ref. 6

1шт.

6

A21079

SLEEVE

- pump body

1шт.

7

A27355

O-RING,0.139" Thk x 1.17" ID, -217, Cl 5, 75 Duro

"O" RING - pump housing (1-3/16 x 1-7/16 x 1/8")

2шт.

8

A21102

SHAFT

- pump drive

1шт.

9

A2785

GEAR - driven (w/keyway)

1шт.

10

126-11

WOODRUFF KEY,#5, 1/8" x 5/8"

Driven gear #5, 1/8" x 5/8"

1шт.

11

A40916

RING - sanp, drive shaft

1шт.

12

A27854

SHAFT

- idler

1шт.

13

A27856

GEAR WHEEL

GEAR - idler (w/o keyway)

1шт.

14

A33442

COVER - pump body

1шт.

15

75-412

SCREW,Rd, 1/4" x 3/4"

- 1/4" x 3/4" N.C. rd. hd.

5шт.

16

75-424

SCREW

- 1/4" x 1-1/2" N.C. rd. hd

1шт.

17

92-4

LOCK WASHER,1/4"

WASHER, LOCK, 1/4"

6шт.

18

A22566

PLUNGER

- relief valve

1шт.

19

A23598

VALVE SPRING

SPRING - relief valve

1шт.

20

A27858

NUT

- relief valve

1шт.

21

A8902

ADJUSTMENT SCREW,7/8" x 1 5/8"

SCREW - adjusting, relief valve

1шт.

22

222-31

HYD CONNECTOR,1"-18 x 1/2" NPTF w/Nut

COONECTOR ASSY. - tube, 5/8" O.D. x 1/2" P.T., Includes: Ref. 23 and 24

1шт.

23

222-106

SLEEVE,5/8" Tube

- (For 5/8" O.D. tube)

1шт.

24

222-116

TUBE NUT,1"-18

NUT - (For 5/8" O.D. tube)

1шт.

25

13-620

BOLT,Hex, 3/8" - 16 x 1-1/4", Gr 5, Full Thd

Pump to block Hex, 3/8"-16 x 1 1/4", G5, Full Thd

2шт.

29

92-6

LOCK WASHER,3/8"

2шт.

30

A27476

FILTER SCREEN

SCREEN - float

1шт.

31

132-32

COTTER PIN,3/32" x 1 1/2"

Pin, Split (Cotter), 3/32" x 1 1/2"

1шт.

32

A20735

TUBE

-, Serial Range: pump-filter

1шт.

33

222-31

HYD CONNECTOR,1"-18 x 1/2" NPTF w/Nut

CONNECTOR ASSY. - tube, 5/8" tube x 1/2" P.T., Includes: Ref. 34 and 35

1шт.

34

222-106

SLEEVE,5/8" Tube

- , Includes: Ref. 35 5/8" Tube

1шт.

35

222-116

TUBE NUT,1"-18

NUT - 5/8" tube

1шт.

36

A10852

CLIP - tube

1шт.

37

A10072

BOLT,3/8" - 16 x 3/4"

- tube clip

1шт.

38

193-30

LOCK WASHER,Int Tooth, 3/8"

WASHER, LOCK, Int Tooth, 3/8"

1шт.

42

A23638

OIL PAN

1шт.

43

A15391

GASKET

SET - oil pan

1шт.

44

A34826

PLUG,7/8" - 18 ORB

- drain (7/8" N.F.) (1st used eng. ser. no. 2150019), oil pan

1шт.

44

A30060

PLUG

- drain (3/4" N.F.) (Use prior to eng. ser. no. 2150019), oil pan

1шт.

45

A34827

GASKET

- (Copper) (Used w/A34826 plug), oil pan

1шт.

45

A30059

GASKET

- (Copper asbestos) (Use w/A30060 plug), oil pan

1шт.

46

13-614

BOLT,Hex, 3/8" - 16 x 7/8", Gr 5, Full Thd

Oil pan Hex, 3/8"-16 x 7/8", G5, Full Thd

32шт.

47

92-6

LOCK WASHER,3/8"

oil pan 3/8"

32шт.

Выбрано товаров: 45