Запчасти Case W10B (082) - FRONT LIGHTS AND WIRING, GAS AND DIESEL ELECTRICAL SYSTEMS (04) - ELECTRICAL SYSTEMS

Схема запчастей Case W10B - (082) - FRONT LIGHTS AND WIRING, GAS AND DIESEL ELECTRICAL SYSTEMS (04) - ELECTRICAL SYSTEMS
FIT
1:1
100%

Артикул

Название

Примечание

Количество

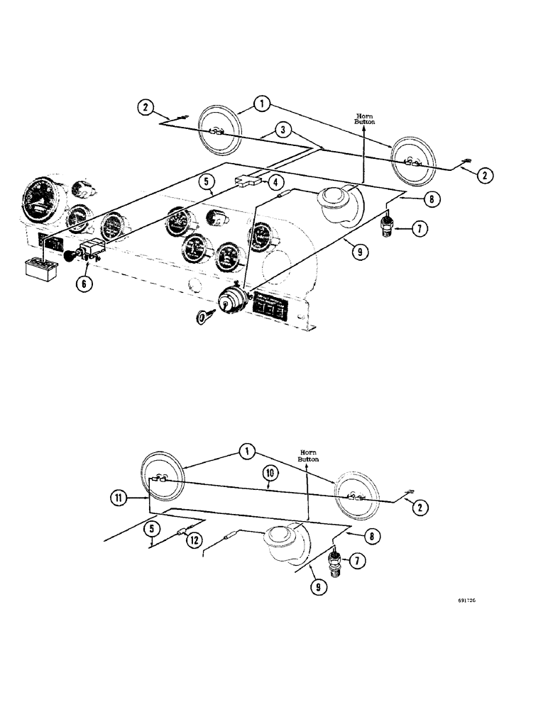
1

A15932

X

LIGHT - front (Parts list Figure 086)

2шт.

2

A15941

ELECTRICAL WIRE

WIRE - ground (Black - 6" long) 1 used on diesel models - 2 used on gas models

1-2шт.

3

A17271

WIRE - connector to light (Black - 22" long) Gas models only

2шт.

4

A8210

CONNECTOR, ELEC

CONNECTOR - 3 wire (Gas models only)

1шт.

5

A19367

WIRE - switch to connector (Black - 18" long)

1шт.

6

A20201

SWITCH

- light

1шт.

7

A12491

SWITCH

ASSY - brake, stop light

1шт.

8

A19360

WIRE - block to stoplight switch (Blue - 28" long)

1шт.

9

A19508

WIRE - ignition switch to stoplight switch (Blue - 28" long)

1шт.

10

A15940

WIRE - L.H. to R.H. light (Diesel models only)

1шт.

11

A16366

WIRE - L.H. light to connector (Black - 24" long) Diesel models only

1шт.

12

A27213

CONNECTOR - 2 wire (Diesel models only)

1шт.

Выбрано товаров: 12