Запчасти Case W10E (054) - A24552 CARBURETOR, REAR INLET W/DRY TYPE AIR CLEANER (03) - FUEL SYSTEM

Схема запчастей Case W10E - (054) - A24552 CARBURETOR, REAR INLET W/DRY TYPE AIR CLEANER (03) - FUEL SYSTEM
FIT
1:1
100%

Артикул

Название

Примечание

Количество

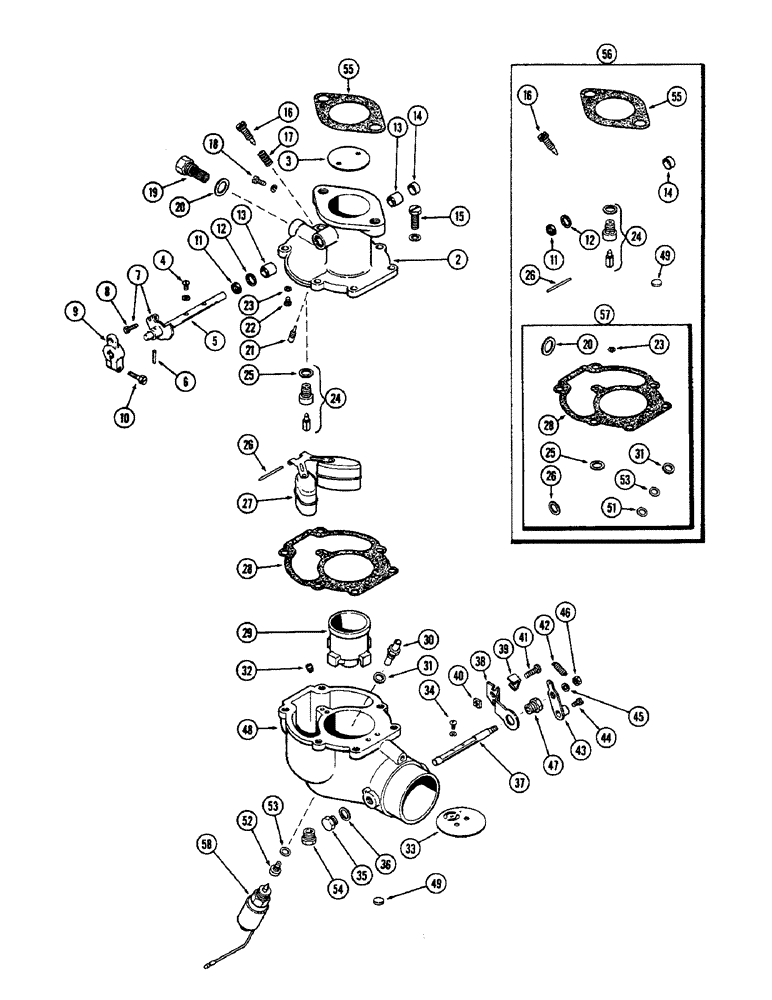
A24552

CARBURETOR ASSY - (Zenith #12863), Includes: Ref. 2 - 55

1шт.

2

NSS

NOT SOLD SEPARAT

BODY - throttle (Order A24552)

1шт.

3

A41359

PLATE - throttle

1шт.

4

A24888

SCREW - throttle plate

2шт.

5

A40009

SHAFT - throttle plate

1шт.

6

138-36

LOCK PIN,3/32" x 7/16", Slotted

PIN, , Stop lever 3/32" x 7/16", Slotted

1шт.

7

A24886

LEVER ASSY - stop, throttle shaft, Includes: Ref. 8

1шт.

8

B51581

SCREW - stop

1шт.

9

A40010

LEVER - clamp, throttle shaft

1шт.

10

B51584

SCREW - clamp

1шт.

11

A40008

RETAINER - packing, throttle shaft

1шт.

Part of Repair Kit A24905

1шт.

12

A40007

SEAL

- throttle shaft

1шт.

Part of Repair Kit A24905

1шт.

13

B51497

BUSHING

-throttle shaft

2шт.

14

B51438

PLUG

- throttle shaft hole

1шт.

Part of Repair Kit A24905

1шт.

15

A24890

SCREW - throttle, Serial Range: body-bowl

6шт.

16

B51263

SCREW

- idle adjusting

1шт.

Part of Repair Kit A24905

1шт.

17

B51407

SPRING

- idle screw

1шт.

18

B51631

SCREW - venturi

1шт.

19

A40319

FILTER - fuel inlet

1шт.

20

B51614

WASHER

- filter (See Ref. 57)

1шт.

21

B51301

JET

- idle

1шт.

22

A24903

JET - economizer

1шт.

23

B51610

WASHER

- economizer jet (See Ref. 57)

1шт.

24

A25577

VALVE

ASSY - fuel, Includes: Ref. 25

1шт.

Part of Repair Kit A24905

1шт.

25

B51618

WASHER

- valve seat (See Ref. 57)

1шт.

26

B51429

AXLE

- float

1шт.

Part of Repair Kit A24905

1шт.

27

A24891

FLOAT

ASSY - fuel bowl

1шт.

28

A24889

GASKET

- throttle body to bowl (See Ref. 57)

1шт.

29

A24898

VENTURI

1шт.

30

A24900

JET - main discharge

1шт.

31

A24901

WASHER - discharge jet (See Ref. 57)

1шт.

32

A24902

VENT - well

1шт.

33

A24893

PLATE - choke

1шт.

34

A24896

SCREW,Sl Rnd Hd, #5 - 40 x 1/4", w/ LW

- choke, Serial Range: plate-shaft

2шт.

35

B51449

PLUG

- choke shaft hole

1шт.

36

B51618

WASHER

- plug (See Ref. 57)

1шт.

37

A24894

SHAFT - choke

1шт.

38

A24895

BRACKET ASSY - choke rod, Includes: Ref. 39 - 41

1шт.

39

B51402

CLAMP - choke rod

1шт.

40

129-76

SQUARE NUT,#8 - 36

- clamp screw (#10-24 sq.)

1шт.

41

B51581

SCREW - clamp

1шт.

42

B51412

SPRING

- return

1шт.

43

B51378

LEVER

- choke, Includes: Ref. 44

1шт.

44

B51579

SCREW - swivel

1шт.

45

92-3

LOCK WASHER,#10

WASHER, LOCK, #10

1шт.

46

129-36

NUT,#8-36

- choke lever ( hex.) #8-36

1шт.

47

B51455

SCREW - choke bracket

1шт.

48

A24892

BOWL ASSY - fuel, Includes: Ref. 49

1шт.

49

B51442

FILTER

DISC - drain

1шт.

Part of Repair Kit A24905

1шт.

52

A24899

JET

- main

1шт.

53

B51624

WASHER

- main jet (See Ref. 57)

1шт.

54

B51541

PLUG

- drain

1шт.

55

27776

CONNECTING LINK

GASKET -, Serial Range: carb.-manifold

1шт.

Part of Repair Kit A24905

1шт.

56

A24905

KIT

REPAIR KIT Includes Refs. 11, 12, 14, 16, 24, 26, 49, 55 and 57

1шт.

57

A24904

KIT

GASKET KIT

1шт.

Part of Repair Kit A24905

1шт.

58

A33219

SOLENOID

- fuel shut-off

1шт.

Выбрано товаров: 65