Запчасти Case W14 (114) - ALCOHOL EVAPORATOR (09) - CHASSIS

Схема запчастей Case W14 - (114) - ALCOHOL EVAPORATOR (09) - CHASSIS
FIT
1:1
100%

Артикул

Название

Примечание

Количество

L54289

KIT

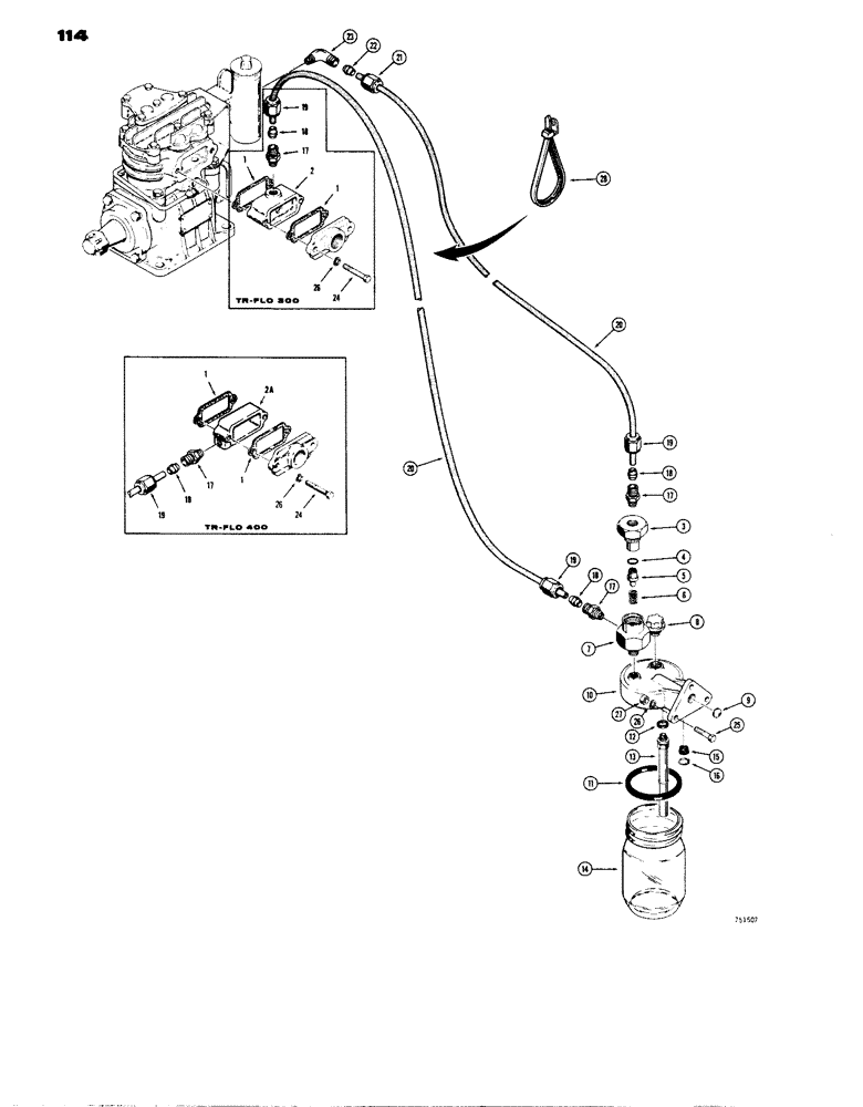
EVAPORATOR ASSEMBLY - alcohol, Tu-Flo 300 compressor, Includes: Ref. 1 - 28

1шт.

L73282

EVAPORATOR

ASSEMBLY - alcohol, Tu Flo 400 compressor, Includes: Ref. 1 - 28

1шт.

REFERENCE L73282-USED AFTER SERIAL NUMBER 9119152

1шт.

L46411

KIT

- L52892 alcohol evaporator

1шт.

L46372

KIT

- L73282 alcohol evaporator, Includes: Ref. 1 - 16

1шт.

1

L35409

GASKET

- L35408 adapter

2шт.

1

L31457

GASKET

- L32930 adapter

2шт.

2

L35408

ADAPTER

- Tu-Flo 300 compressor

1шт.

2a

L32930

ADAPTER

- Tu-Flo 400 compressor

1шт.

L33157

VALVE

ASSEMBLY - check, at evaporator, Includes: Ref. 3 - 7

1шт.

3

L33162

NUT

- cap

1шт.

4

L33161

O-RING,0.299" ID x 0.072" Width

GROMMET - valve

1шт.

5

L33160

VALVE

- check

1шт.

6

L33159

SPRING

- valve

1шт.

7

NSS

NOT SOLD SEPARAT

HOUSING - valve

1шт.

L33145

EVAPORATOR

ASSEMBLY - alcohol, Includes: Ref. 8 - 16

1шт.

8

L33151

PLUG

- filler

1шт.

9

L33155

PLUG

- expansion, steel, 1/2" dia

1шт.

10

L33146

BODY

- alcohol evaporator

1шт.

11

L33153

SEALING RING

GASLET -, Serial Range: housing-air

1шт.

12

L33156

RING

- sealing, evaporator tube

1шт.

13

L33152

TUBE,0.25" ID x 0.33" OD x 4.87" L

- evaporator

1шт.

14

L33154

RESERVOIR

JAR - alcohol evaporator, plastic

1шт.

15

L33150

FILTER

- air intake

1шт.

16

A58439

RETAINER

RING - retaining, filter

1шт.

222-5002

HYD CONNECTOR,1/2"-20 x 1/8" NPT, Hi-seal

CONNECTOR ASSEMBLY - flex tube, 1/4" tube, Includes: Ref. 17 - 19

3шт.

17

NSS

NOT SOLD SEPARAT

CONNECTOR - flex tube, 1/4" tube

1шт.

18

222-5047

SLEEVE,1/4" Tube

- 1/4" Tube

1шт.

19

222-5060

NUT,1/2"-20

NUT - 1/4" tube

1шт.

20

L54189

TUBE,0.25" OD x 108" L

- alcohol evaporator amd check valve to governor, cut to length

2шт.

222-5023

ELBOW,90º, 1/2"-20 x 1/8" NPT, Hi-seal

ASSEMBLY - flex tube, 1/4" tube, 90 degree, Includes: Ref. 21 - 23

1шт.

21

222-5060

NUT,1/2"-20

NUT - 1/4" tube

1шт.

22

222-5047

SLEEVE,1/4" Tube

- 1/4" Tube

1шт.

23

NSS

NOT SOLD SEPARAT

ELBOW - flex tube, 1/4" tube, 90 degree

1шт.

24

13-428

BOLT,Hex, 1/4" - 20 x 1-3/4", Gr 5

Tu-Flo 300 Hex, 1/4"-20 x 1 3/4", G5

2шт.

24

13-524

BOLT,Hex, 5/16" - 18 x 1-1/2", Gr 5

- 5/16"-18 NC x 1-1/2", Tu-Flo 400

2шт.

25

13-416

BOLT,Hex, 1/4" - 20 x 1", Gr 5

Evaporator mounting Hex, 1/4"-20 x 1", G5

3шт.

26

92-4

LOCK WASHER,1/4"

WASHER, LOCK, 1/4"

3шт.

26

80681

LOCK WASHER,5/16"

WASHER, LOCK, 5/16"

2шт.

27

25-104

NUT,1/4"-20, G5

3шт.

28

L18337

CABLE TIE,9.95"-12.1" lg

STRAP - tie, 15 inch, nylon

4шт.

REFERENCE ILLUSTRATION TR-FLO 400,NOT USED ON MODEL 400 COMPRESSOR.USED ONLY ON MODEL 300 COMPRESSOR,REF#54,PAGE 118 PART L32586.

1шт.

Выбрано товаров: 42