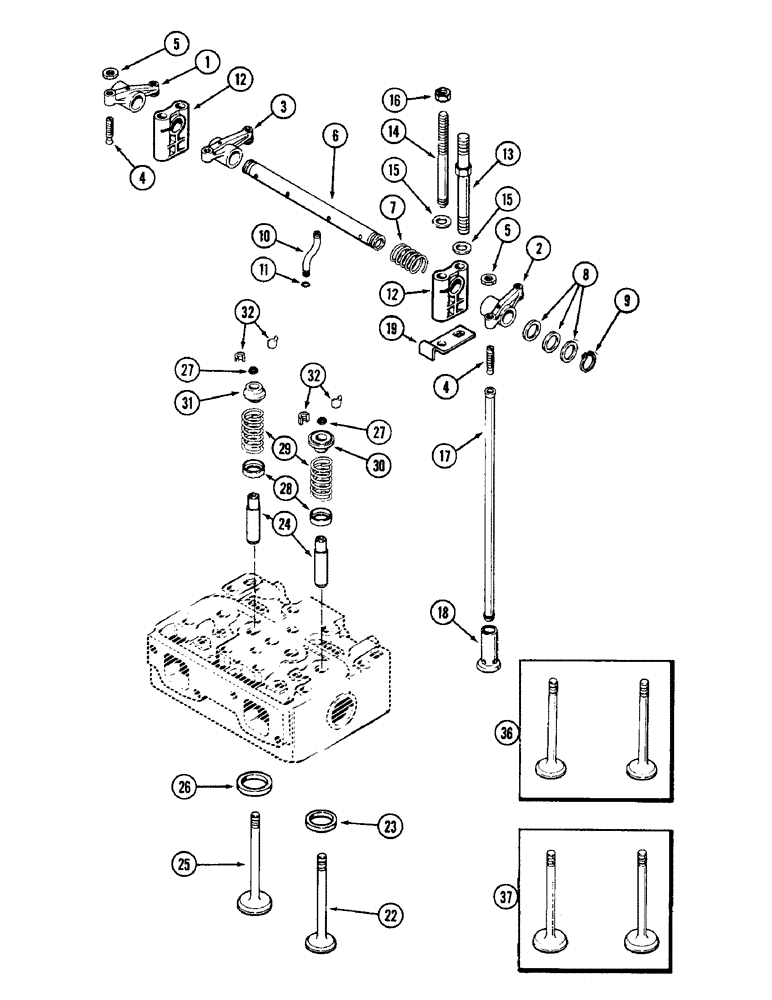
Запчасти Case W14 (026) - VALVE MECHANISM, 336BD AND 336BDT DIESEL ENGINE (02) - ENGINE

Схема запчастей Case W14 - (026) - VALVE MECHANISM, 336BD AND 336BDT DIESEL ENGINE (02) - ENGINE
FIT
1:1
100%

Артикул

Название

Примечание

Количество

1

A148138

ARM

ASSEMBLY - rocker, exhaust valves (Second and fourth cylinders) (Replaces A58656), Includes: Ref. 4 and 5

2шт.

2

A148137

ROCKER ARM

ARM ASSEMBLY - rocker, exhaust valves (First and third cylinders) (Replaces A58655), Includes: Ref. 4 and 5

2шт.

3

A148136

ARM

ASSEMBLY - rocker, intake valves (Replaces A58654), Includes: Ref. 4 and 5

4шт.

4

A21105

ADJUSTMENT SCREW,3/8" - 24 x 1 9/16"

SCREW - adjusting, rocker arm

1шт.

5

25-116

NUT,Hex, 3/8"-24, G5

- hex lock, 3/8 inch NF

1шт.

6

A150545

SHAFT

ASSEMBLY - rocker arm (Replaces A57532)

2шт.

7

A27877

SPRING

- rocker arm

2шт.

8

A27878

WASHER

- thrust, rocker shaft

1шт.

9

B18206

SNAP RING,#87, Ext

Ring, Snap, , thrust washer #87, Ext

4шт.

10

A58657

TUBE

- oil, rocker shaft

2шт.

11

A27880

O-RING,0.07" Thk x 0.18" ID, -8, Cl 5, 75 Duro

- oil tube

2шт.

12

A61128

BRACKET

- rocker arm shaft

4шт.

13

A67121

STUD

- bracket and cover, 6 inch

4шт.

14

A58659

STUD

- bracket, 4-5/16 inch

4шт.

15

195-29

WASHER,7/16"

- flat, 1/2 x 15/16 x 1/16 inch (13 x 24 x 2 mm)

8шт.

16

25-107

NUT,7/16"-14, G5

- hex, 7/16 inch NC

4шт.

17

A157328

ROD

- push (Replaces A141841)

8шт.

18

A20865

TAPPET

LIFTER - push rod (Standard) 0.810 inch (20.57 mm) OD

8шт.

18

A21857

TAPPET

LIFTER - push rod (Oversize) 0.819 inch (20.80 mm) OD

1шт.

19

A157197

STRAP

- rocker shaft bracket

4шт.

22

NSS

NOT SOLD SEPARAT

VALVE - exhaust (Order Reference 36)

4шт.

23

A66192

INSERT

- exhaust valve seat

4шт.

24

A57448

GUIDE

- intake and exhaust valves (Order A41783, Set of 2)

8шт.

25

NSS

NOT SOLD SEPARAT

VALVE - intake (Order Reference 37)

4шт.

26

A60557

INSERT

- intake valve seat

4шт.

27

A58628

SEAL,8mm ID x 13.77mm OD x 2.16mm Thk

- valve stem

8шт.

28

A66328

SEAT

- valve spring

8шт.

29

A66444

SPRING

- valves

8шт.

30

A66336

ROTATOR

RETAINER ASSEMBLY - exhaust valves

4шт.

31

A66326

RETAINER

- intake valves

4шт.

32

A27872

LOCK

- valve spring (Keepers)

16шт.

36

A41753

VALVE

KIT - exhaust (Set of 2)

2шт.

37

A41754

VALVE

KIT - intake (Set of 2)

2шт.

Выбрано товаров: 33