Качественные детали и логистика
Оригинальные и аналоговые запчасти с доставкой по России, Казахстану и Беларуси
©2022 PartSell ООО "Система" ИНН 2463123282 ОГРН 1212400004838
Центральный офис: г. Красноярск, Академика Киренского, д.87, пом.4
Телефон: 8 (800) 777-65-74 Email: zakaz@partsell.ru
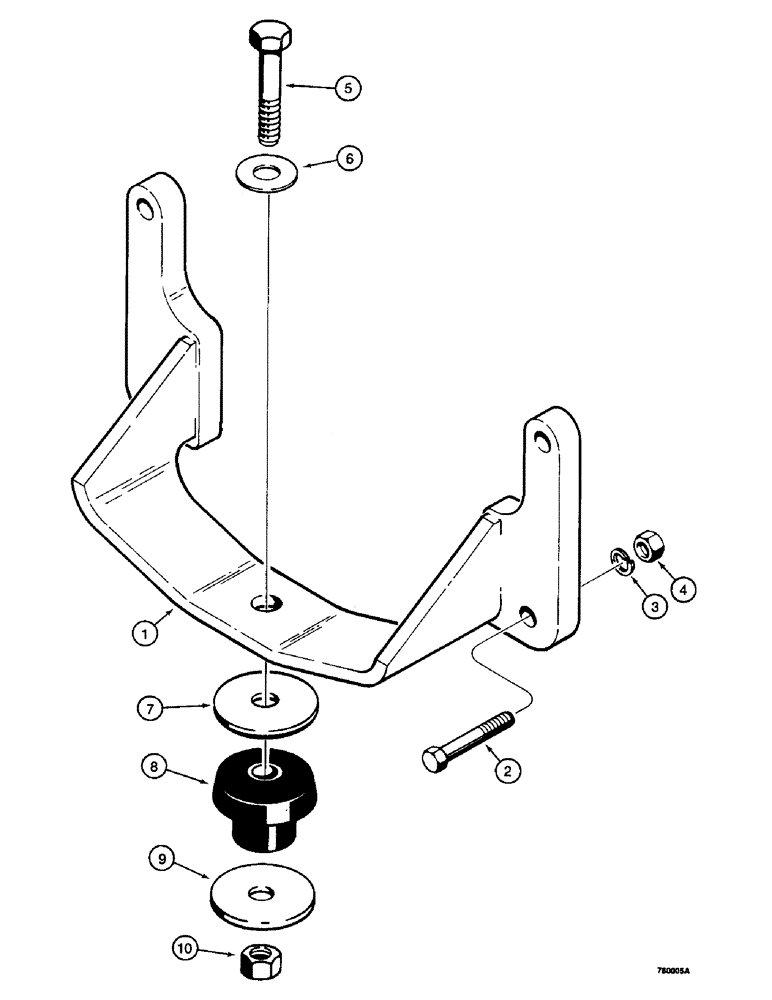
(050) - ENGINE MOUNT
№
Артикул
Название
Примечание
Количество
1
L50755
BRACKET
- engine mount
1шт.
2
13-1248
BOLT,Hex, 3/4" - 10 x 3", Gr 5
4шт.
3
92-12
LOCK WASHER,3/4"
WASHER, LOCK, 3/4"
4
25-1012
NUT,3/4"-10, G5
5
13-1268
BOLT,Hex, 3/4" - 10 x 4-1/4", Gr 5
- hex head, 3/4"-10 NC x 4-1/4"
6
L79179
WASHER
- special
7
A61406
8
A19066
MOUNTING PARTS
MOUNT - rubber, engine
9
A19068
10
131-657
LOCK NUT,3/4"-10, GB
NUT - hex, self-locking, 3/4"-10 NC
Выбрано товаров: 0