Запчасти Case W14 (066) - EXHAUST SYSTEM, 35 AND 35A BACKHOE MODELS ONLY (02) - ENGINE

Схема запчастей Case W14 - (066) - EXHAUST SYSTEM, 35 AND 35A BACKHOE MODELS ONLY (02) - ENGINE
FIT
1:1
100%

Артикул

Название

Примечание

Количество

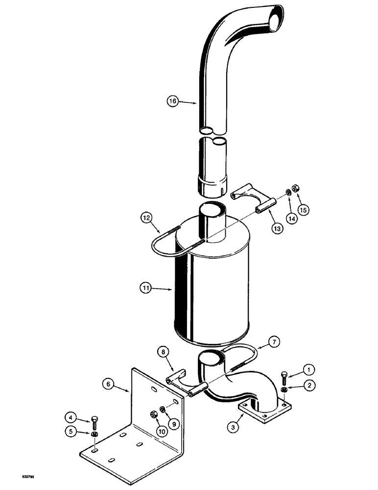
1

13-616

BOLT,Hex, 3/8" - 16 x 1", Gr 5, Full Thd

4шт.

2

92-6

LOCK WASHER,3/8"

4шт.

3

L100558

ADAPTER

- exhaust, Serial Range: manifold-muffler

1шт.

4

13-616

BOLT,Hex, 3/8" - 16 x 1", Gr 5, Full Thd

4шт.

5

92-6

LOCK WASHER,3/8"

4шт.

6

L100561

BRACKET - exhaust pipe

1шт.

A176450

CLAMP

ASSEMBLY - 3/8"-16 NC x 3-1/4" diameter, Includes: Ref. 7 - 10

1шт.

7

NSS

NOT SOLD SEPARAT

U-BOLT - clamp

1шт.

8

NSS

NOT SOLD SEPARAT

SADDLE - clamp

1шт.

9

192-21

LOCK WASHER,3/8"

WASHER, LOCK, 3/8"

2шт.

10

129-103

NUT,Hex, 3/8" - 16, Gr 5

NUT, 3/8"-16, G5

2шт.

11

L46279

MUFFLER

- standard

1шт.

L52853

CLAMP

ASSEMBLY - 3/8"-16 NC x 3-1/4" diameter, if used

1шт.

L100055

CLAMP

ASSEMBLY - 3/8"-16 NC x 3-3/8" diameter, if used, Includes: Ref. 12 - 15

1шт.

12

NSS

NOT SOLD SEPARAT

U-BOLT - clamp

1шт.

13

NSS

NOT SOLD SEPARAT

SADDLE - clamp

1шт.

14

192-21

LOCK WASHER,3/8"

WASHER, LOCK, 3/8"

2шт.

15

129-103

NUT,Hex, 3/8" - 16, Gr 5

NUT, 3/8"-16, G5

2шт.

16

L100736

PIPE, EXHAUST SYSTEM

EXHAUST PIPE - 41" (1041 mm) high

1шт.

Выбрано товаров: 19