Запчасти Case W14B (2-02) - ENGINE MOUNTS (02) - ENGINE

Схема запчастей Case W14B - (2-02) - ENGINE MOUNTS (02) - ENGINE
FIT
1:1
100%

Артикул

Название

Примечание

Количество

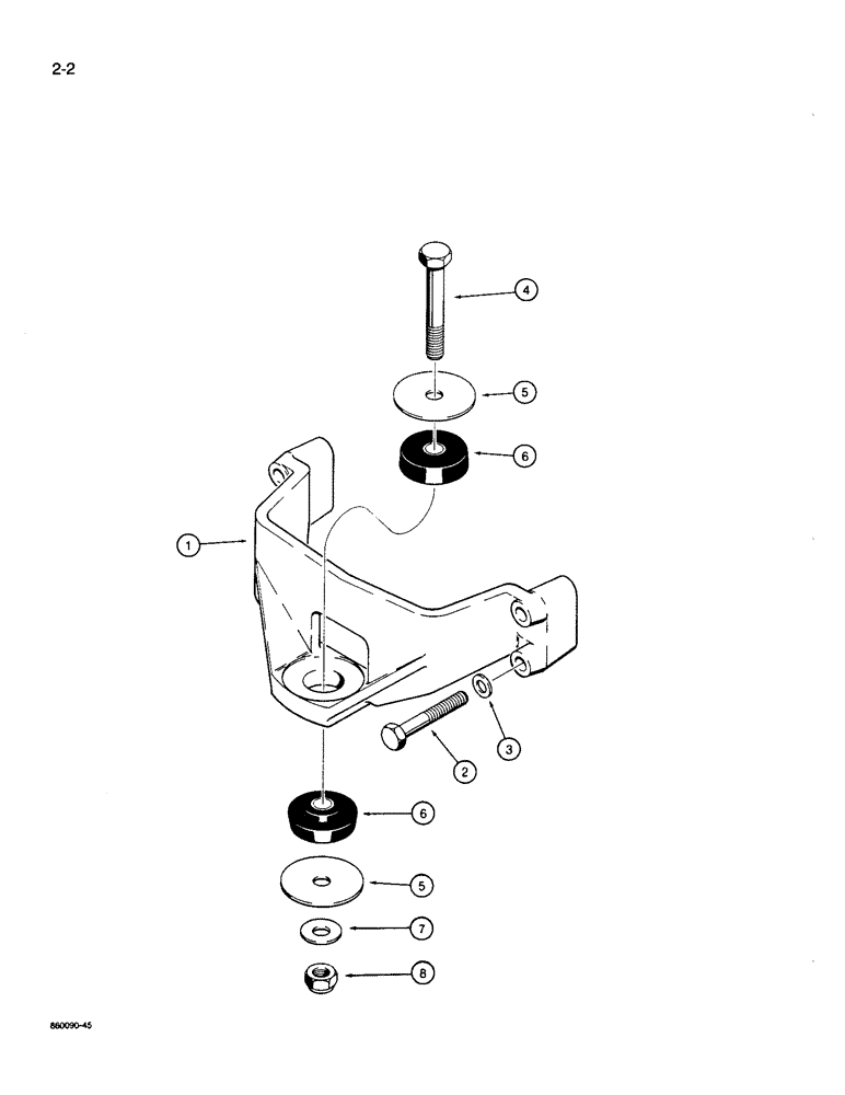
1

A170985

BRACKET

- engine mount

1шт.

2

814-12085

BOLT,Hex, M12 x 1.75 x 85mm, Cl 8.8

- hex, 12 - 1.75 x 85 mm

4шт.

3

196-15

WASHER,17/32" x 1 1/6" x .134"

- flat, 17/32 x 1-1/16 x 1/8 inch, hardened

4шт.

4

113-2602

BOLT,Hex, 5/8" - 11 x 3-1/2", Gr 8

- hex, 5/8 NC x 3-1/2 inch

1шт.

5

L78455

WASHER

- special

2шт.

6

R49921

RUBBER MOUNTING

MOUNT - rubber, engine

2шт.

7

196-26

WASHER,21/32" x 1 5/16" x .150", HDN

- flat, 21/32 x 1-5/16 x 5/32 inch, hardened

1шт.

8

131-1219

LOCK NUT,5/8"-11, GC

NUT, LOCK, 5/8"-11, GC

1шт.

Выбрано товаров: 8