Запчасти Case W14B (8-48) - LOADER CONTROL LINKAGE AND LEVERS, DUAL (INDIVIDUAL) LEVERS (08) - HYDRAULICS

Схема запчастей Case W14B - (8-48) - LOADER CONTROL LINKAGE AND LEVERS, DUAL (INDIVIDUAL) LEVERS (08) - HYDRAULICS
FIT
1:1
100%

Артикул

Название

Примечание

Количество

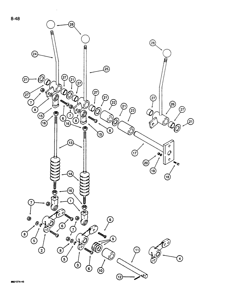
1

L115782

BALL JOINT

END - rod, female

2-3шт.

2

L116427

ARM ASSY.

BELLCRANK - lower, bucket lever

1шт.

3

L117804

ARM ASSY.

BELLCRANK - lower, lift lever

1шт.

4

L116427

ARM ASSY.

BELLCRANK - lower, auxiliary lever

1шт.

5

219-55

LUBE NIPPLE,90 Degree Elbow, 1/8" - 27 NPTF

NIPPLE, LUBE, , Special short 90º, 1/8" NPT x .84" lg

2-3шт.

6

61-75024

HEX SOC SCREW,Btn Hd, 1/2"-13 x 1 1/2"

BOLT - hex socket button head, 1/2" - 20 NF x 1-1/2", plated (replaces 164-153)

6-9шт.

7

425-148

JAM NUT,Jam, 1/2"-13, G5

- hex, self-locking, 1/2" - 20 NF, special (Replaces 131-34)

6-9шт.

8

L116413

SPACER

- rod mounting bolt

1шт.

9

L115918

WASHER

SPACER - nylon, bellcrank

1шт.

10

L116557

SPACER

- bellcrank pivot shaft, used on two lever models only

1шт.

11

L116346

PIN

SHAFT - pivot, lower, bellcranks

1шт.

12

138-323

LOCK PIN,1/8" x 1 3/4", Slotted

Pin, 1/8" x 1 3/4", Slotted

1шт.

13

L115930

ROD

- control

2-3шт.

14

L114003

BOOT

- control rod

2-3шт.

15

L115782

BALL JOINT

END - rod, female

2-3шт.

16

129-165

JAM NUT,Jam, 1/2"-20, G5

4-6шт.

17

L116566

SHAFT ASSY.

SHAFT - control levers

1шт.

18

113-208

BOLT,Hex, 3/8" - 16 x 1-1/4", Gr 5

2шт.

19

192-21

LOCK WASHER,3/8"

WASHER, LOCK, 3/8"

2шт.

20

129-103

NUT,Hex, 3/8" - 16, Gr 5

NUT, 3/8"-16, G5

2шт.

21

L115918

WASHER

SPACER - nylon, control levers

1шт.

22

L116557

SPACER

- control lever shaft, 1-3/4" (44.5 mm) long

1шт.

23

L116555

SPACER

- control lever shaft, 3" (76 mm) long, used on models with two control levers only

1шт.

24

L116564

LEVER ASSY.

CONTROL LEVER - bucket, Includes: Ref. 27

1шт.

25

L116562

LEVER ASSY.

CONTROL LEVER - lift, Includes: Ref. 27

1шт.

26

L116560

LEVER ASSY.

CONTROL LEVER - auxiliary, Includes: Ref. 27

1шт.

27

L115781

BUSHING

- used with each control lever

2шт.

28

A23885

KNOB

- control lever

2-3шт.

Выбрано товаров: 0