Запчасти Case W14C (3-06) - FUEL TANK FILLER AND SENDER (03) - FUEL SYSTEM

Схема запчастей Case W14C - (3-06) - FUEL TANK FILLER AND SENDER (03) - FUEL SYSTEM
FIT
1:1
100%

Артикул

Название

Примечание

Количество

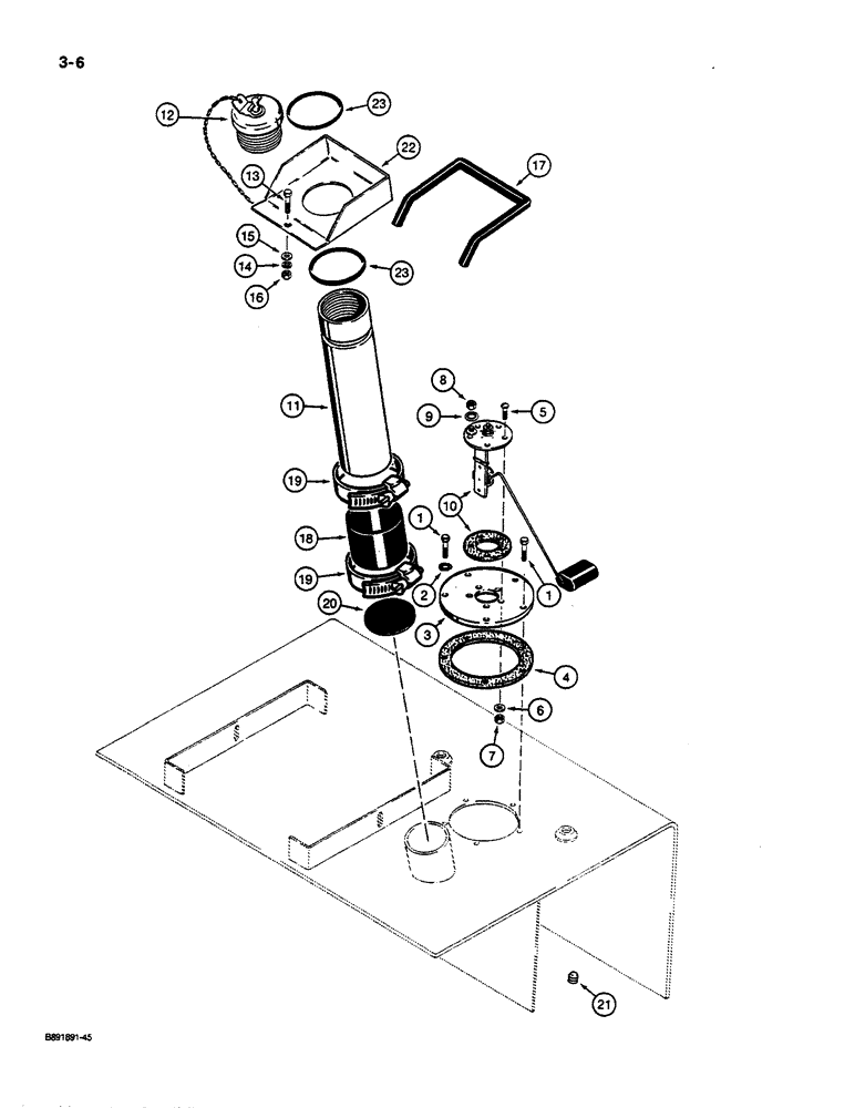
1

L108414

BOLT

- self-sealing, special

5шт.

2

193-73

LOCK WASHER,Ext-Int Tooth, 1/4"

WASHER - internal-external tooth lock, 1/4 inch

1шт.

3

L77441

PLATE

- hand hole cover

1шт.

4

L79876

GASKET,4.57mm Thk

- hand hole cover

1шт.

5

163-13

SCREW,Hex, #10 - 24 x 3/4"

- machine, No. 10 NC x 3/4 inch

5шт.

6

L115306

WASHER

- sealing, special

5шт.

7

86625057

NUT,#10-24, GB

NUT, LOCK, #10-24, GB

5шт.

8

131-47

LOCK NUT,Prev Torque, Hex, #10 - 32, Gr B

NUT - hex, self-locking, No. 10 NF

1шт.

9

193-99

LOCK WASHER,Int Tooth, #10

WASHER, LOCK, Int Tooth, #10

1шт.

10

L118306

TRANSMITTER

SENDER - fuel tank

1шт.

11

L128125

PIPE

- filler

1шт.

12

L74929

FILLER CAP

CAP, FILLER - fuel tank

1шт.

13

413-516

BOLT,Hex, 5/16" - 18 x 1", Gr 5

- hex, 5/16 NC x 1 inch

1шт.

14

492-11031

LOCK WASHER,5/16"

WASHER, LOCK, 5/16"

1шт.

15

495-21038

WASHER,5/16"

(flat, 3/8 x 7/8 x 5/64") 5/16"

1шт.

16

425-105

NUT,5/16"-18, G5

- hex, 5/16 inch NC

1шт.

17

D39366

LINING

TRIM - 20 inch (508 mm) long

1шт.

18

L77270

HOSE,89.00 mm ID x 102.00 mm, SAE 30R2

89 mm ID x 102 mm, SAE 30R2, Filler

1шт.

19

214-267

HOSE CLAMP,#64, 3.56" - 4.5", Type F Worm

CLAMP - adj, 3-9/16 to 4-1/2 inch dia

2шт.

20

L77398

STRAINER ELEMENT

SCREEN - fuel

1шт.

21

221-35

DRAIN PLUG,Sq Soc, 3/4"-14 NPTF

PLUG - square socket head, 3/4 inch PT

1шт.

22

L128124

PROTECTOR

GUARD - fuel filler

1шт.

23

111613A1

O-RING,3.1" ID x 3.52" OD x 0.21"

- 2-5/8 ID x 3/16 inch wide (replaces 238-5338)

2шт.

Выбрано товаров: 23