Запчасти Case W20B (382) - DRIVE TRAIN GUARDS (09) - CHASSIS/ATTACHMENTS

Схема запчастей Case W20B - (382) - DRIVE TRAIN GUARDS (09) - CHASSIS/ATTACHMENTS
FIT
1:1
100%

Артикул

Название

Примечание

Количество

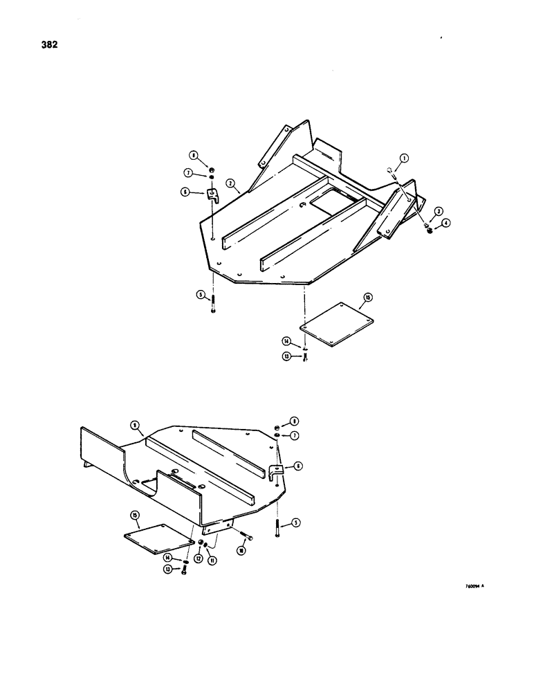
1

13-824

BOLT,Hex, 1/2" - 13 x 1-1/2", Gr 5, Full Thd

4шт.

2

L79562

GUARD ASSY.

GUARD - front frame

1шт.

3

92-8

LOCK WASHER,1/2"

4шт.

4

25-108

NUT,1/2"-13, G5

- hex, 1/2" - 13 NC

4шт.

5

13-1052

BOLT,Hex, 5/8" - 11 x 3-1/4", Gr 5

8шт.

6

L51202

CLAMP

- guard mounting

8шт.

7

92-10

LOCK WASHER,5/8"

WASHER, LOCK, 5/8"

8шт.

8

25-1010

NUT,5/8"-11, G5

8шт.

9

L51212

GUARD

- rear frame

1шт.

10

13-824

BOLT,Hex, 1/2" - 13 x 1-1/2", Gr 5, Full Thd

4шт.

11

92-8

LOCK WASHER,1/2"

4шт.

12

25-108

NUT,1/2"-13, G5

- hex, 1/2" - 13 NC

4шт.

13

13-616

BOLT,Hex, 3/8" - 16 x 1", Gr 5, Full Thd

8шт.

14

92-6

LOCK WASHER,3/8"

8шт.

15

L51205

COVER

- access, front and rear frame

2шт.

Выбрано товаров: 15