Запчасти Case W20B (400) - CAB DOOR HINGES (09) - CHASSIS/ATTACHMENTS

Схема запчастей Case W20B - (400) - CAB DOOR HINGES (09) - CHASSIS/ATTACHMENTS
FIT
1:1
100%

Артикул

Название

Примечание

Количество

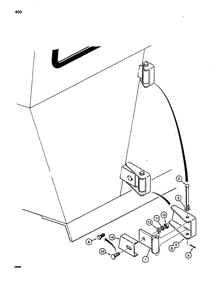
1

D71528

HINGE

ASSEMBLY - doors, adjustable, if used

8шт.

2

N6998

PIN

- hinge, 4" long

8шт.

2

N6990

AXLE PIN

PIN - hinge, 3-7/16" long, if used

8шт.

3

195-104

WASHER,3/8"

- flat, 3/8"

8шт.

4

N6991

PIN

COTTER PIN - 5/32" x 3/4", brass

8шт.

5

NSS

NOT SOLD SEPARAT

BRACKET - hinge, long, right-hand

4шт.

6

NSS

NOT SOLD SEPARAT

BRACKET - hinge, long, left-hand, not shown

4шт.

9

113-206

BOLT,Hex, 3/8" - 16 x 3/4", Gr 5, Full Thd

8-1шт.

10

111-316

CARRIAGE BOLT,Short NK, 3/8"-16 x 1", G5

BOLT, CARRIAGE, , If used Short NK, 3/8"-16 x 1", G5

8шт.

11

192-21

LOCK WASHER,3/8"

WASHER, LOCK, 3/8"

8-1шт.

12

195-104

WASHER,3/8"

- flat, 3/8"

8-1шт.

13

129-103

NUT,Hex, 3/8" - 16, Gr 5

NUT, , If used 3/8"-16, G5

8-1шт.

14

NSS

NOT SOLD SEPARAT

BRACKET - hinge, if used

4шт.

Выбрано товаров: 13