Запчасти Case W20C (9-062) - CAB DOOR HINGES, BEFORE CAB SERIAL NUMBER 53700 (09) - CHASSIS/ATTACHMENTS

Схема запчастей Case W20C - (9-062) - CAB DOOR HINGES, BEFORE CAB SERIAL NUMBER 53700 (09) - CHASSIS/ATTACHMENTS
FIT
1:1
100%

Артикул

Название

Примечание

Количество

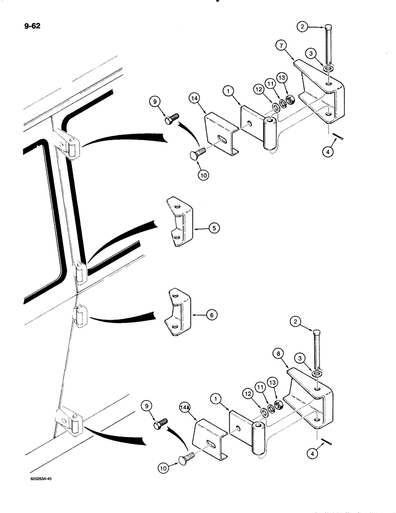
1

D71528

HINGE

- door, bolt-on, if used

3-8шт.

2

N6998

PIN

- hinge, 4" long, if used

8шт.

2

N6990

AXLE PIN

PIN - hinge, 3-7/16" long, if used

6-8шт.

3

195-104

WASHER,3/8"

- flat, , if used 3/8"

8шт.

4

N6991

PIN

COTTER PIN - 5/32" x 3/4", brass

6-8шт.

5

N7000

BRACKET

- hinge, lower, right-hand upper door, and upper hinge, left-hand lower door, if used

2шт.

6

N7005

BRACKET

- hinge, lower, left-hand upper door, and upper hinge, right-hand lower door, if used

2шт.

7

N6999

BRACKET

- hinge, upper, right-hand upper door, and lower hinge, left-hand lower door, if used

2шт.

8

N7004

BRACKET

- hinge, upper, left-hand upper door, and lower hinge, right-hand lower door, if used

2шт.

9

113-206

BOLT,Hex, 3/8" - 16 x 3/4", Gr 5, Full Thd

If used Hex, 3/8"-16 x 3/4", G5, Full Thd

8-12шт.

10

111-316

CARRIAGE BOLT,Short NK, 3/8"-16 x 1", G5

BOLT, CARRIAGE, , If used Short NK, 3/8"-16 x 1", G5

6-8шт.

11

192-21

LOCK WASHER,3/8"

WASHER, LOCK, 3/8"

8-12шт.

12

195-104

WASHER,3/8"

- flat, , plated, if used 3/8"

8-12шт.

13

129-103

NUT,Hex, 3/8" - 16, Gr 5

NUT, , If used 3/8"-16, G5

8-12шт.

14

N7001

BRACKET

- upper hinge, upper right-hand door and lower hinge, lower left-hand door, if used

2шт.

14a

N7006

BRACKET

- lower hinge, lower right-hand door and upper hinge, upper left-hand door, if used

2шт.

Выбрано товаров: 16