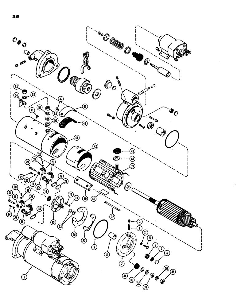
Запчасти Case W24 (036) - D42964 STARTER, (504B) DIESEL ENGINE (04) - ELECTRICAL SYSTEMS

Схема запчастей Case W24 - (036) - D42964 STARTER, (504B) DIESEL ENGINE (04) - ELECTRICAL SYSTEMS
FIT
1:1
100%

Артикул

Название

Примечание

Количество

1

D42964

X

STARTER ASSY. - (Delco-Remy #1113949), Includes: Ref. 1 - 99

1шт.

2

A41460

FUNNEL

FRAME ASSY. - commutator end, Includes: Ref. 3 - 7

1шт.

3

221-1041

PLUG

- oil wick hole

1шт.

4

R15023

WICK

- oil

1шт.

5

A41923

PLUG

- oil reservoir (felt)

1шт.

6

41-57

PLUG,Exp, 1 1/32"

- oil reservoir hole (1-1/32" exp.)

1шт.

7

A41973

GASKET

- expansion plug

1шт.

8

A25336

BUSHING

- comm. end frame (1/2 x 3/4 x 1")

1шт.

9

D31954

O-RING,0.139" Thk x 4.11" ID, -243, Cl 5, 75 Duro

"O" RING - comm. end frame (4-1/8 x 4-3/8 x 1/8")

1шт.

10

114-1

BOLT,Hex, 1/4" - 28 x 1", Gr 5

End frame Hex, 1/4"-28 x 1", G5

4шт.

11

192-19

LOCK WASHER,Helical Spring, 0.256" ID, CST, ZND

WASHER, LOCK, 1/4"

4шт.

12

173-274

SCREW,Sl Rnd Hd, #8 - 32 x 1/2"

BOLT - spacer mtg. ring (#8 x 1/2" N.C. rd. hd.)

3шт.

13

192-16

LOCK WASHER,Helical Spring, #8, 0.17" ID, CST, ZND

Washer, Lock, #8

3шт.

A42373

PLATE

ASSY. - starter brush (less brushes), Includes: Ref. 15 - 28

1шт.

15

A41921

PLATE

RING - brush mounting

1шт.

16

A42425

NOZZLE HOLDER

HOLDER - brush

4шт.

17

A41454

SPACER - brush holder (1/64 copper)

2шт.

18

A41455

SPACER

- brush holder (1/16" brass)

2шт.

19

A25393

SPRING

- brush tension

8шт.

20

A41915

STUD - insulated brush carrier (2" long)

2шт.

21

A41972

SCREW,#10 - 32 x 1.36, 0.4"

STUD - grounded brush carrier (1-3/4" long)

2шт.

23

A41974

SCREW,#10 - 32 x 5/8"

- insulated brush holder (#8 x 5/8" N.F., flat sltd. hd., flat pt.)

2шт.

24

A41959

SCREW,#10 - 32 x 3/8"

- grounded brush holder (#8 x 7/16" N.F., flat sltd. hd., roll pt.)

2шт.

25

192-18

LOCK WASHER,Helical Spring, #10, 0.196" ID, CST, ZND

WASHER, LOCK, #10

8шт.

26

A40674

NOZZLE HOLDER

PLATE - insulated brush spacer

1шт.

27

A41914

SUPPORT

PLATE ASSY. - grounded brushes

1шт.

28

A41457

INSULATOR

- starter brush plate

1шт.

29

A41456

BRUSH, COMMUTATOR

BRUSHES - starter

8шт.

30

174-211

SCREW,Sl Rnd Hd, #8 - 32 x 5/16"

- brush (#8 x 5/16" N.F., rd. hd.)

8шт.

31

192-16

LOCK WASHER,Helical Spring, #8, 0.17" ID, CST, ZND

Washer, Lock, #8

8шт.

32

A41978

ELECTRICAL WIRE

WIRE -, Serial Range: brush-field

1шт.

33

A41971

WASHER

- term. stud insulating (1/2 x 7/8 x 3/32")

2шт.

34

A41918

INSULATOR

- terminal stud (in end frame)

1шт.

35

D30006

WASHER

- terminal stud (1/2 x 7/8 x 1/32")

1шт.

36

192-23

LOCK WASHER,1/2"

WASHER, LOCK, , Terminal stud 1/2"

2шт.

37

129-145

JAM NUT,Jam, 1/2"-13, G5

Terminal stud Jam, 1/2"-13, G5

1шт.

38

129-105

NUT,Hex, 1/2" - 13, Gr 5

Terminal stud 1/2"-13, G5

1шт.

39

A41590

COIL

ASSY. - starter field

1шт.

40

R15115

SHOE

- starter pole

4шт.

41

74-60

SCREW - pole shoes (3/8 x 5/8" N.F., sltd. flat hd.)

8шт.

42

A41920

INSULATOR

- field coil

1шт.

43

A41977

RUBBER INSULATOR

INSULATION - jumper wire junction

2шт.

44

NSS

NOT SOLD SEPARAT

FRAME - field (Order D42964)

1шт.

45

A43366

PLATE

COVER - brush inspection

2шт.

46

A41849

GASKET

- inspection cover

2шт.

47

171-207

SCREW,Flat Hd, 1/4" x 1/2"

- inspection cover (1/4 x 1/2" N.C., phillips hd.)

4шт.

A41925

BUSHING

INSULATOR PACKAGE - inner, Includes: Ref. 48 and 49

1шт.

48

NSS

NOT SOLD SEPARAT

SUPPORT - term. stud insulator

1шт.

49

NSS

NOT SOLD SEPARAT

INSULATOR - term. stud

1шт.

50

D30005

INSULATOR

- term. stud, outer (1/2 x 1 x 3/32")

2шт.

51

D30006

WASHER

- term. stud (1/2 x 7/8 x 1/32")

1шт.

52

192-23

LOCK WASHER,1/2"

WASHER, LOCK, , Terminal stud 1/2"

1шт.

53

129-105

NUT,Hex, 1/2" - 13, Gr 5

Terminal stud 1/2"-13, G5

2шт.

54

A40894

CONNECTOR, ELEC

CONNECTOR - starter, Serial Range: terminal-switch

1шт.

58

A41458

ARMATURE

- starter

1шт.

59

A41917

WASHER,14.25mm ID x 24.89mm OD x 1.57mm Thk

- armature (at comm. end) (9/16 x 1 x 1/16")

1шт.

60

A40892

WASHER

- armature (at lever housing) (27/32 x 1-23/32 x 3/16")

1шт.

R21579

HOUSING

ASSY. - shift lever, Includes: Ref. 61 - 67

1шт.

61

NSS

NOT SOLD SEPARAT

HOUSING

1шт.

62

R21581

X

SEAL - oil (13/16 x 1-3/8 x 13/32")

1шт.

63

41-57

PLUG,Exp, 1 1/32"

- oil reservoir (1-1/32" exp.)

1шт.

64

A41923

PLUG

- oil reservoir (felt)

1шт.

65

R15145

DISC

WASHER - brake (27/32 x 1-7/8 x 3/16")

1шт.

66

221-1041

PLUG

- oil wick hole

1шт.

67

R15023

WICK

- oil, lever housing

1шт.

68

R21580

BUSHING

- lever housing (13/16 x 1 x 1-1/4")

1шт.

69

D31954

O-RING,0.139" Thk x 4.11" ID, -243, Cl 5, 75 Duro

"O" RING - lever housing (4-1/8 x 4-3/8 x 1/8")

1шт.

70

R21587

PLUG

- shift lever housing

1шт.

71

A41973

GASKET

- plug

1шт.

72

114-1

BOLT,Hex, 1/4" - 28 x 1", Gr 5

Lever housing Hex, 1/4"-28 x 1", G5

5шт.

73

192-19

LOCK WASHER,Helical Spring, 0.256" ID, CST, ZND

WASHER, LOCK, 1/4"

5шт.

74

A42397

DRIVE

ASSY. - starter

1шт.

75

A40283

HOUSING

ASSY. - drive end, Includes: Ref. 76 - 80

1шт.

76

R15023

WICK

- oil, drive housing

1шт.

77

221-1041

PLUG

- wick, drive housing

1шт.

78

41-57

PLUG,Exp, 1 1/32"

- oil reservoir (1-1/32" exp.)

1шт.

79

A41973

GASKET

- plug

1шт.

80

A41923

PLUG

- reservoir, felt

1шт.

81

D32488

HEX SOC SCREW,5/16" - 18 x 1.50"

SCREW - drive end hsg. (1-1/2" long)

5шт.

83

A40893

BUSHING

- drive end hsg. (5/8 x 3/4 x 3/4")

1шт.

84

R25162

GASKET - drive end hsg. (3-1/8 x 3-1/2 x 1/16")

1шт.

85

D32547

LEVER

ASSY. - shifter

1шт.

86

A42199

PIN

PIVOT - shifter lever

1шт.

87

R21573

O-RING,0.369" ID x 0.515" OD x 0.073"

"O" RING - pivot (3/8 x 1/2 x 1/16")

1шт.

88

R21574

O-RING,0.244" ID x 0.391" OD x 0.073"

"O" RING - pivot (1/4 x 3/8 x 1/16")

1шт.

89

G46146

SNAP RING,#37, Ext

Ring, Snap, , pivot & plunger retaining #37, Ext

2шт.

90

A42309

PLUNGER

- solenoid

1шт.

91

A41242

SPRING

- plunger return

1шт.

92

A42308

BOOT

- plunger

1шт.

93

A41922

WASHER

SEAT - boot

1шт.

94

A43380

BACK-UP RING

SEAT - spring (at solenoid end)

1шт.

95

R21571

RETAINER

SEAT - spring (at lever end)

1шт.

96

131-31

LOCK NUT,5/16"-24, G8

NUT - plunger spring retaining

1шт.

97

A15358

SOLENOID

ASSY. - (Order A42376) (See Figure 40)

1шт.

98

R15139

WASHER

SCREW - solenoid mtg. (1/4 x 3/8" N.C. hex.)

4шт.

99

A41976

O-RING

WIRE -, Serial Range: terminal-switch

1шт.

Выбрано товаров: 0