Запчасти Case W24B (016) - VALVE MECHANISM, (504BD) DIESEL ENGINE (02) - ENGINE

Схема запчастей Case W24B - (016) - VALVE MECHANISM, (504BD) DIESEL ENGINE (02) - ENGINE
FIT
1:1
100%

Артикул

Название

Примечание

Количество

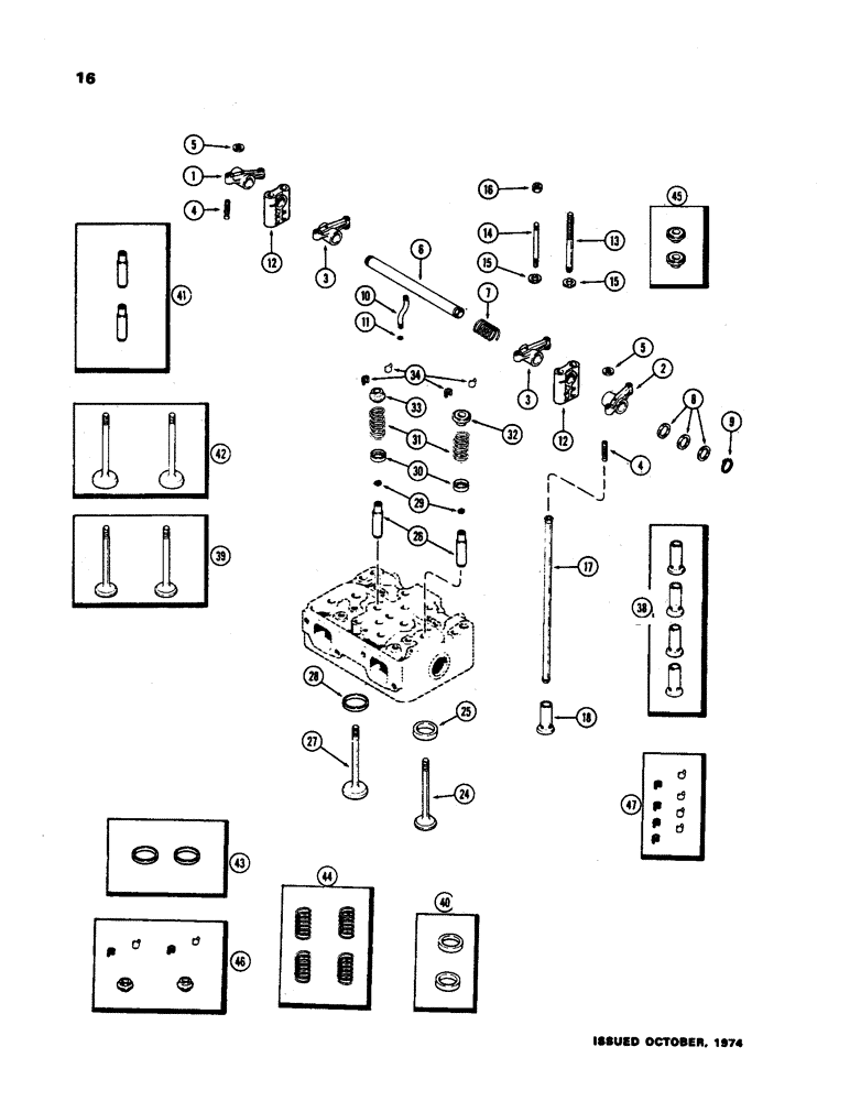
1

A58655

ARM

- rocker (Nos. 1, 3 & 5 exhaust valves)

3шт.

2

A58656

ARM

- rocker (Nos. 2, 4 & 6 exhaust valves)

3шт.

3

A58654

ARM

- rocker (intake valves)

6шт.

4

A21105

ADJUSTMENT SCREW,3/8" - 24 x 1 9/16"

SCREW - rocker arm adjusting

12шт.

5

25-156

JAM NUT,Jam, 3/8"-24, G5

- lock, adj. screw (3/8" N.F. hex., jam)

12шт.

6

A57532

SHAFT

- rocker arms

3шт.

7

A27877

SPRING

- rocker shaft

3шт.

8

A27878

WASHER

- rocker shaft, ends (7/8 x 1-5/16 x 1/32")

1шт.

9

B18206

SNAP RING,#87, Ext

Ring, Snap, , rocker shaft #87, Ext

6шт.

10

A58657

TUBE

- oil, rocker arms

3шт.

11

A27880

O-RING,0.07" Thk x 0.18" ID, -8, Cl 5, 75 Duro

"O" RING - oil tube (3/16 x 5/16 x 1/16")

3шт.

12

A61128

BRACKET

- rocker shaft

6шт.

13

A60885

STUD

- bracket (7/16" N.C. x 6")

6шт.

14

A58659

STUD

- bracket (7/16" N.C. x 4-5/16")

6шт.

15

195-29

WASHER,7/16"

- brkt. studs (1/2 x 15/16 x 1/16")

12шт.

16

25-117

NUT,7/16"-20, G5

- brkt. studs (7/16" N.C. hex.)

12шт.

17

A58596

ROD

- push

12шт.

18

NSS

NOT SOLD SEPARAT

LIFTER - push rod (Order ref. 38)

12шт.

24

NSS

NOT SOLD SEPARAT

VALVE - exhaust (Order ref. 39)

6шт.

25

NSS

NOT SOLD SEPARAT

INSERT - exhaust valve seat (Order ref. 40)

6шт.

26

NSS

NOT SOLD SEPARAT

GUIDE - intake & exhaust valves (Order ref. 41)

12шт.

27

NSS

NOT SOLD SEPARAT

VALVE - intake (Order ref. 42)

6шт.

28

NSS

NOT SOLD SEPARAT

INSERT - intake valve seat (Order ref. 43)

6шт.

29

A58628

SEAL,8mm ID x 13.77mm OD x 2.16mm Thk

- valve stem

12шт.

30

A66328

SEAT

- valve springs (Replaces A58623)

12шт.

31

NSS

NOT SOLD SEPARAT

SPRINGS - valves (Order ref. 44)

12шт.

32

NSS

NOT SOLD SEPARAT

ROTO COIL - exhaust valve (Order ref. 45)

6шт.

33

NSS

NOT SOLD SEPARAT

RETAINER - intake valves (Order ref. 46)

6шт.

34

NSS

NOT SOLD SEPARAT

LOCKS - valve retainers (Order ref. 47)

24шт.

38

A21653

KIT

LIFTER KIT - push rods (Set of 4)

3шт.

39

A41753

VALVE

KIT - exhaust (Set of 2)

3шт.

40

A44576

INSERT

KIT - exhaust valves (Set of 2) (Replaces A41757)

3шт.

41

A41781

GUIDE

KIT - intake & exhaust valves (Set of 2)

6шт.

42

A41754

VALVE

KIT - intake (Set of 2)

3шт.

43

A42259

INSERT

KIT - intake valve (Set of 2)

3шт.

44

A42895

SPRING

KIT - valves (Set of 4)

3шт.

45

A44658

COIL

ROTO COIL KIT - exhaust valve (Set of 2) (Replaces A57433)

3шт.

46

A44645

KIT

RETAINER KIT - intake valves (Set of 2 retainers & 4 locks) (Replaces A21657)

3шт.

47

A40352

LOCK

KIT - valve retainers (Set of 8)

3шт.

Выбрано товаров: 0