Запчасти Case W24C (352) - HYDRAULIC RESERVOIR, USED BEFORE TRACTOR SN 9143772 (08) - HYDRAULICS

Схема запчастей Case W24C - (352) - HYDRAULIC RESERVOIR, USED BEFORE TRACTOR SN 9143772 (08) - HYDRAULICS
FIT
1:1
100%

Артикул

Название

Примечание

Количество

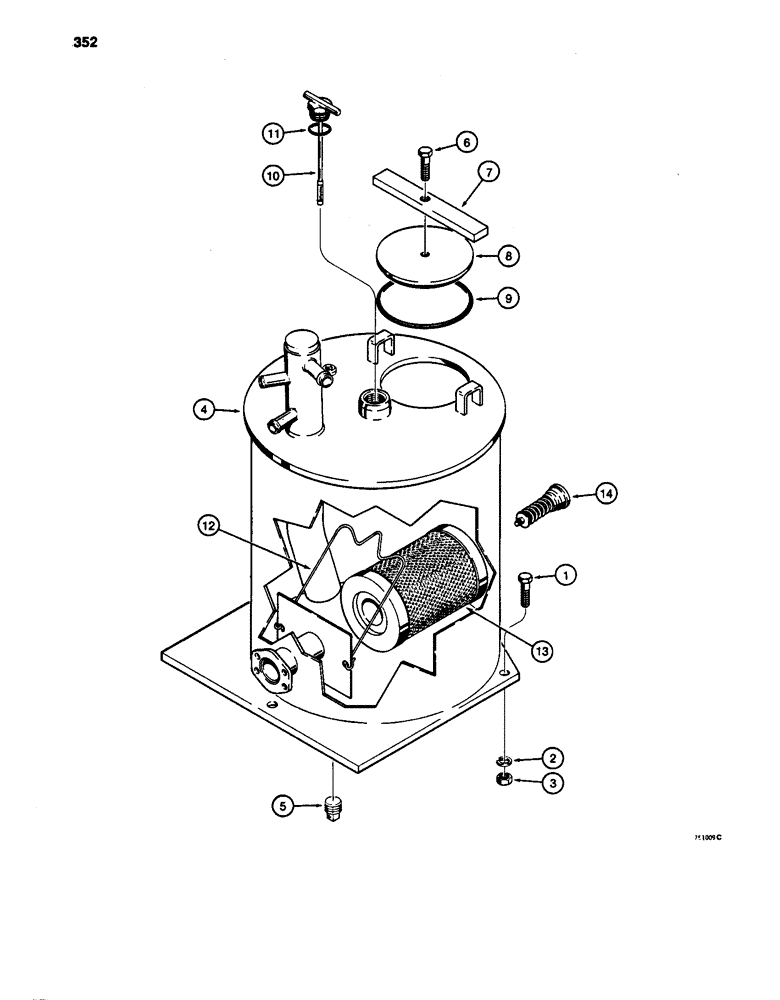
1

113-600

BOLT,Hex, 5/8" - 11 x 1-3/4", Gr 5

3шт.

2

92-10

LOCK WASHER,5/8"

WASHER, LOCK, 5/8"

3шт.

3

25-1010

NUT,5/8"-11, G5

3шт.

L74190

TANK

HYDRAULIC RESERVOIR ASSEMBLY - with internal filter, Includes: Ref. 4 - 9

1шт.

4

NSS

NOT SOLD SEPARAT

RESERVOIR - hydraulic oil

1шт.

5

221-677

DRAIN PLUG,Sq Hd, 3/4" NPT

PLUG - magnetic drain

1шт.

6

113-419

BOLT,Hex, 1/2" - 13 x 2-1/2", Gr 5, Full Thd

Hex, 1/2"-13 x 2 1/2", G5, Full Thd

1шт.

7

L50741

BAR

- cover holdown

1шт.

8

L55406

COVER

- hydraulic tank

1шт.

9

L55410

O-RING,0.275" Thk x 7.22" ID, -442, Cl 5, 75 Duro

- cover

1шт.

10

L16680

GAUGE

- oil level

1шт.

11

218-5012

O-RING,0.118" Thk x 1.720" ID, -924, Cl 6, 90 Duro

- gauge

1шт.

12

L51089

SPRING

- element holddown

1шт.

13

L50384

FILTER, ELEMENT

ELEMENT - filter

1шт.

14

L76865

VALVE

- relief, bypass

1шт.

Выбрано товаров: 15