Запчасти Case W24C (408) - CLAM BUCKET, USED WITH ROCKWELL AXLE (09) - CHASSIS/ATTACHMENTS

Схема запчастей Case W24C - (408) - CLAM BUCKET, USED WITH ROCKWELL AXLE (09) - CHASSIS/ATTACHMENTS
8
2
5
12
24
11
4
16
26
27
6
8
28
26
3
13
18
10
20
9
7
25
26
25
7
29
19
4a
33
25
19
16
22
6
31
1
17
27
21
14
28
24
15
2
7
30
32
23
FIT
1:1
100%

Артикул

Название

Примечание

Количество

REF

INSTRUCTION

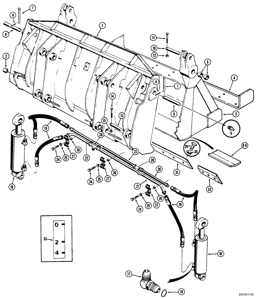
BUCKET ASSEMBLY - clam, machinery item, see figure 2, Includes: Ref. 1 - 8

1шт.

1

L112873

HALF BLADE

BLADE ASSEMBLY - bucket, Includes: Ref. 2

1шт.

2

D30933

BUSHING,38.41mm ID x 47.63mm OD x 31.75mm L

- clam cylinder mounting, closed end

2шт.

L112874

BUCKET

CLAM ASSEMBLY - bucket, Includes: Ref. 3 - 5

1шт.

3

NSS

NOT SOLD SEPARAT

CLAM - bucket

1шт.

4

L112839

EDGE, CUTTING

CUTTING EDGE - clam, front

1шт.

This is a weld-on edge. For a bolt-on edge, use ZPC117698, which bolts to the first row of bolts. It is 1-1/8" thick x 13" wide x 8' 9" long and has 9 holes.

1шт.

4a

L112857

PLATE

- wear, clam, rear

1шт.

5

D31140

BUSHING,38.33mm ID x 47.63mm OD x 25.4mm L

- clam hinge

4шт.

6

D50727

PIN

-, Serial Range: blade-clam

2шт.

7

D47252

PIN

CLEVIS PIN - special

2шт.

8

132-48

COTTER PIN,1/8" x 1"

Pin, Split (Cotter), 1/8" x 1"

2шт.

9

219-1

LUBE NIPPLE,1/8" - 27 NPTF

GREASE FITTING - straight, 1/8" NPT

2шт.

10

D50435

PIN,38.1mm OD x 124.46mm L

- clam cylinder retaining, rod end

2шт.

11

13-668

BOLT,Hex, 3/8" - 16 x 4-1/4", Gr 5

- hex head, 3/8" - 16 NC x 4-1/4"

2шт.

12

131-206

NUT,3/8"-16

NUT - hex, self-locking, 3/8" - 16 NC

2шт.

13

D51244

AXLE PIN,38.1mm OD x 99.06mm L

PIN- clam cylinder retaining, closed end

2шт.

14

13-852

BOLT,Hex, 1/2" - 13 x 3-1/4", Gr 5

- hex head, 1/2" - 16 NC x 3-1/4"

2шт.

15

131-473

HARDWARE

NUT - hex, self-locking, 1/2" - 16 NC

2шт.

16

G101281

CYLINDER,Double Acting, 50.8mm Rod, 266.7mm Stroke

- clam, parts list figure 410

2шт.

17

218-5107

90 ELBOW,90 Degree Elbow, 7/8" - 14 Male JIC x 7/8" - 14 Male ORB

- 90 degree, adjustable, Incl. Ref. 18

4шт.

18

237-6010

O-RING,0.097" Thk x 0.755" ID, -910, Cl 6, 90 Duro

- elbow

1шт.

19

L13746

HOSE

- 24" (610 mm) long

4шт.

20

L112870

PIPE,15.88 mm OD x 565.8 mm L

TUBE - right-hand clam cylinder, rod end to tee; 565.8 mm (22-9/32 in) long

1шт.

21

L112868

PIPE,15.88 mm OD

TUBE - right-hand clam cylinder, closed end to tee, With Bend; 1026.8 mm (40-7/16 in) long

1шт.

22

L112866

PIPE,15.88 mm OD x 972.2 mm L

TUBE - left-hand clam cylinder, rod end to tee; 972.2 mm (38-9/32 in) long

1шт.

23

L112864

PIPE,15.88 mm OD x 620.9, 56.4 mm L

TUBE - left-hand clam cylinder, closed end to tee; With Bend; 620.9 mm (24-7/16 in) long

1шт.

24

13-524

BOLT,Hex, 5/16" - 18 x 1-1/2", Gr 5

- hex head, 3/16" - 18 NC x 1-1/2"

3шт.

25

92-5

LOCK WASHER,5/16"

3шт.

26

D76209

SPACER

- tube

3шт.

27

D33316

CLAMP

- tube

3шт.

28

218-605

TEE,37 Degree, 7/8"-14 x 1 1/16"-12, Br

- hydraulic, at bucket

2шт.

29

118-503

PLOW BOLT,3/4"-10 x 2 1/4", G8

- 3/4" - 10 NC x 3-1/4"

19шт.

30

129-138

NUT,3/4"-10, G8

19шт.

31

L112845

EDGE, CUTTING

CUTTING EDGE - blade, center, 80.4" long

1шт.

32

S80476

EDGE

CUTTING EDGE - blade, end

2шт.

33

S61339

DECAL

- clam opening, if used

1шт.

34

L114181

DECAL

PLATE - clam opening

1шт.

35

182-204

SCREW,Sl Pan Hd, 1/4" - 20 x 3/4"

CARRIAGE BOLT - 1/4" - 20 NC x 3/4"

2шт.

36

95-4

WASHER,1/4"

- flat 1/4"

2шт.

37

92-4

LOCK WASHER,1/4"

WASHER, LOCK, 1/4"

2шт.

38

25-104

NUT,1/4"-20, G5

2шт.

Выбрано товаров: 42