Запчасти Case W24C (472) - ROPS CANOPY (09) - CHASSIS/ATTACHMENTS

Схема запчастей Case W24C - (472) - ROPS CANOPY (09) - CHASSIS/ATTACHMENTS
FIT
1:1
100%

Артикул

Название

Примечание

Количество

1

REF

INSTRUCTION

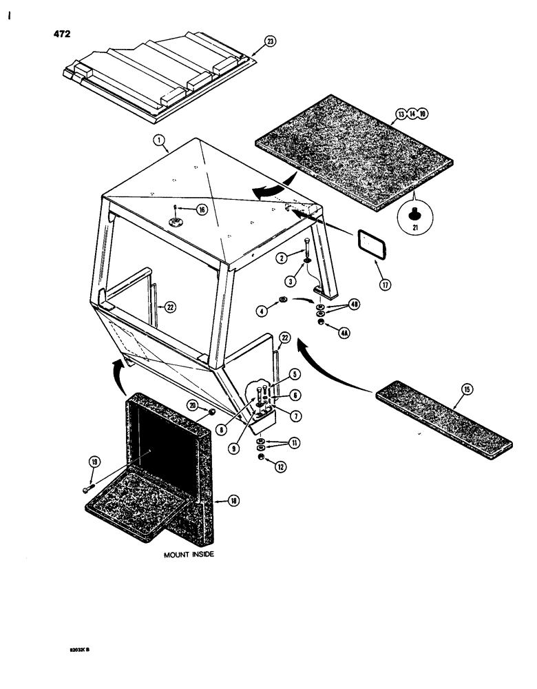
CANOPY - ROPS, machinery item, see figure 2 for ordering

1шт.

2

L114725

BOLT

- hex head, 3/4" - 10 NC x 3-1/4", grade 8, special

2шт.

3

L52734

WASHER

- flat, 3/4"

2шт.

4

L74506

WASHER

- hardened, external tooth lock, if used

4шт.

4a

129-572

NUT,3/4"-10, G8

2шт.

4b

L79179

WASHER

- hardened, flat, 13/16"

4шт.

5

13-824

BOLT,Hex, 1/2" - 13 x 1-1/2", Gr 5, Full Thd

2шт.

6

92-8

LOCK WASHER,1/2"

2шт.

7

95-8

WASHER,1/2"

flat 1/2"

2шт.

8

26-1240

BOLT,Hex, 3/4" - 10 x 2-1/2", Gr 8

- hex head, 3/4" - 10 NC x 2-1/2", grade 8

2шт.

9

L52734

WASHER

- flat, 3/4"

2шт.

10

L112051

ROOF LINING

HEADLINER - canopy, brown, 1" thick, no longer available, order (1) L114070 headliner, Ref. 23, and (1) L36277 kit below

1шт.

11

L79179

WASHER

- hardened, flat, 13/16"

4шт.

12

129-572

NUT,3/4"-10, G8

2шт.

13

L105964

ROOF

HEADLINER - canopy, yellow, 1" thick, if used

1шт.

14

345-57

ADHESIVE

- headliner, if required, not illustrated

1шт.

15

D55216

PAD,2" x 9"

PAD - non-skid

4шт.

16

221-1036

DRAIN PLUG,Sq Soc, 1"-11 1/2, NTPF

PLUG - square socket head, 1" NPT

1шт.

17

L74714

MIRROR

ASSEMBLY - rear view, includes hardware

1шт.

18

A141933

BOX

- manual

1шт.

19

182-202

SCREW,Sl Pan Hd, 1/4" - 20 x 1/2"

MACHINE SCREW - slotted head, 1/4" - 20 NC x 1/2"

3шт.

20

129-501

NUT,Crown, 1/4"-20

DOME NUT - 1/4" - 20 NC

3шт.

21

R37161

RETAINER

CAP - headliner, retainer

6шт.

22

L52012

HOLDER

HANDRAIL -, Serial Range: welded-ROPS

2шт.

23

L114070

ROOF

HEADLINER - canopy, brown, 2" thick, self-retained

1шт.

L36277

ROOF LINING

KIT - canopy headliner, includes (1) L114146 bracket from figure 156 and (2) H429373 retainer bars, not shown

1шт.

Выбрано товаров: 26