Запчасти Case W24C (070) - FUEL TANK AND RELATED PARTS, FEMALE FITTINGS IN TANK (03) - FUEL SYSTEM

Схема запчастей Case W24C - (070) - FUEL TANK AND RELATED PARTS, FEMALE FITTINGS IN TANK (03) - FUEL SYSTEM
FIT
1:1
100%

Артикул

Название

Примечание

Количество

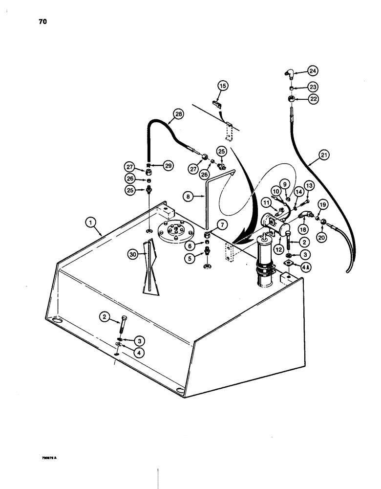
1

REF

INSTRUCTION

TANK ASSEMBLY - fuel, parts list figure 72

1шт.

2

13-1028

BOLT,Hex, 5/8" - 11 x 1-3/4", Gr 5, Full Thd

3шт.

3

92-10

LOCK WASHER,5/8"

WASHER, LOCK, 5/8"

3шт.

4

95-10

WASHER,5/8"

- flat, 5/8

1шт.

4a

L44022

WASHER

- fuel tank mounting

1шт.

222-638

FITTING,9/16"-24 x 3/8" NPT, Comp

ASSEMBLY - straight, Includes: Ref. 5 - 7

1шт.

5

NSS

NOT SOLD SEPARAT

BODY - fitting

1шт.

6

222-654

FERRULE,3/8" Tube, Comp

- fitting

1шт.

7

222-664

TUBE NUT,9/16"-24, 45 Degree Fl, Comp

NUT - fitting

1шт.

8

L79245

FUEL TUBE,0.375" OD

TUBE - fuel tank suction

1шт.

222-46

ELBOW,90 Degree, 5/8"-24 Fem x 1/8"-27 NPTF

FITTING ASSEMBLY - tube, 90 degree, Includes: Ref. 9 - 11

1шт.

9

222-114

NUT,5/8"-24

NUT - fitting

1шт.

10

222-104

SLEEVE,3/8" Tube

-fitting

1шт.

11

NSS

NOT SOLD SEPARAT

BODY - fitting

1шт.

12

L52634

PUMP

- fuel, parts list figure 74

1шт.

13

13-48

BOLT,Hex, 1/4" - 20 x 1/2", Gr 5

2шт.

14

92-4

LOCK WASHER,1/4"

WASHER, LOCK, , If used 1/4"

2шт.

15

131-630

SPRING NUT,Tinn, U, 1/4"-20

CLIP - U-type, if used

2шт.

222-46

ELBOW,90 Degree, 5/8"-24 Fem x 1/8"-27 NPTF

FITTING ASSEMBLY -male

1шт.

18

NSS

NOT SOLD SEPARAT

BODY - fitting, Includes: Ref. 19 and 20

1шт.

19

222-104

SLEEVE,3/8" Tube

-fitting

1шт.

20

222-114

NUT,5/8"-24

NUT - fitting

1шт.

21

L47879

HOSE

- 22" (559 mm) long

1шт.

222-47

ELBOW,90 Degree, 5/8"-24 Fem x 1/4"-27 NPTF

FITTING ASSEMBLY -tube, Includes: Ref. 22 - 24

1шт.

22

222-114

NUT,5/8"-24

NUT - fitting

1шт.

23

222-104

SLEEVE,3/8" Tube

- fitting

1шт.

24

NSS

NOT SOLD SEPARAT

BODY - fitting

1шт.

222-639

FITTING,7/16"-24 x 1/4" NPT, Comp

ASSEMBLY - tube, Includes: Ref. 25 - 27

2шт.

25

NSS

NOT SOLD SEPARAT

BODY - fitting

1шт.

26

222-652

SLEEVE,1/4" Tube, Comp

- fitting

1шт.

27

222-662

TUBE NUT,7/16"-24, 45 Degree Fl, Comp

NUT - fitting

1шт.

28

L79150

HOSE

- 45" (1143 mm) long

1шт.

29

214-102

HOSE CLAMP,#7, 7/16", Spring

CLAMP - hose

1шт.

30

L79151

TUBE - fuel return 0.25" OD x 16" L

1шт.

Выбрано товаров: 34