Запчасти Case W30 (9-50) - CAB INTERIOR COVERS (09) - CHASSIS/ATTACHMENTS

Схема запчастей Case W30 - (9-50) - CAB INTERIOR COVERS (09) - CHASSIS/ATTACHMENTS
FIT
1:1
100%

Артикул

Название

Примечание

Количество

1

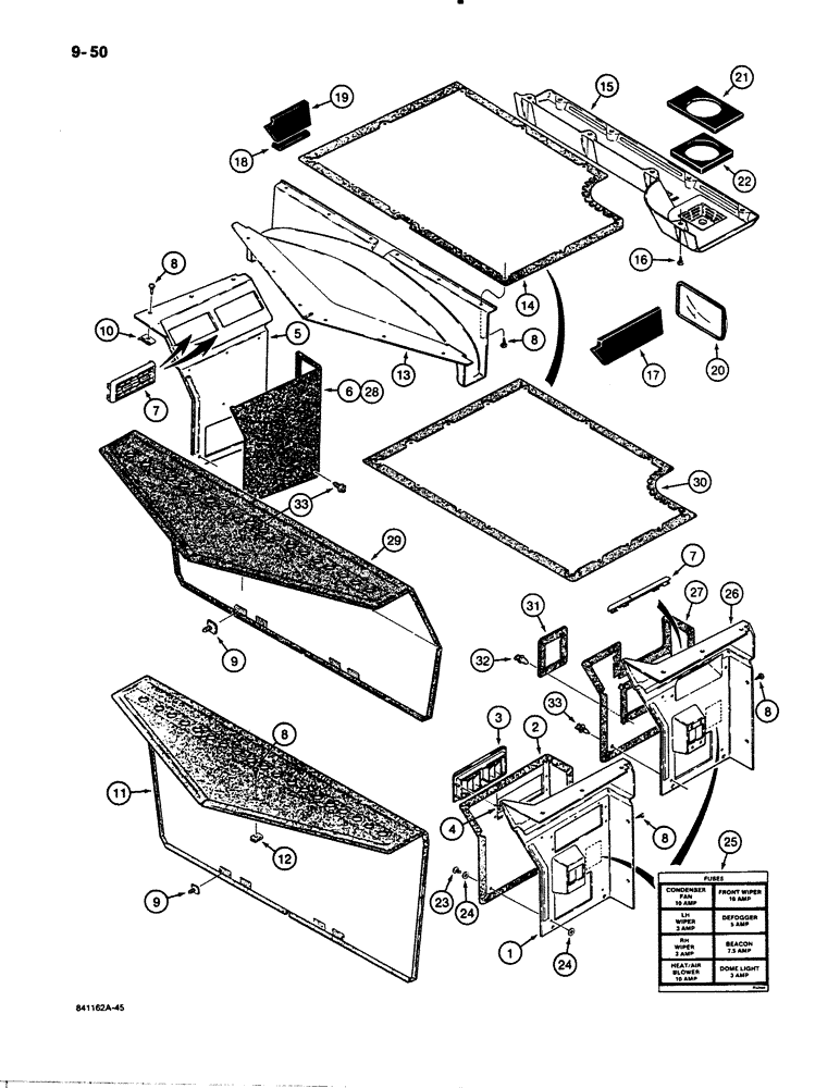
L108401

PANEL

- right-hand side, no longer available, order one each of items 25, 26, 27, and 31, four of item 32, and

1шт.

five of item 33

1шт.

2

L108593

COVER

- padded vinyl, right-hand side panel, no longer available, order one each of items 25, 26, 27, and 31

1шт.

four of item 32, and five of item 33

1шт.

3

L108577

TRAP DOOR

LOUVER - right-hand side panel, if used

1шт.

4

131-624

NUT

- round head, push-on type, 3/16", if used

4шт.

5

L108402

PANEL ASSY.

PANEL - left-hand side

1шт.

6

L108592

COVER

- padded vinyl, left-hand side panel, used on models

1шт.

with a vertical mounted louver in the right-hand panel

1шт.

7

L109555

GUARD

LOUVER - side panel

2-3шт.

8

F64519

SELF-TAP SCREW,Cross Wash Hd, #10-16 x 3/4"

SCREW - self-tapping, Phillips, No. 10 - 16 x 3/4 inch

14-16шт.

9

F64702

FASTENER

- Velcro, rear padded cover, if used

4шт.

10

131-145

NUT,J, #10

- J-type, No. 10 - 16

14шт.

11

L108594

PANEL

COVER - padded vinyl, rear, behind seat, no longer

1шт.

available, order one of item 29 and four of item 33

1шт.

12

131-143

SPRING NUT,Tinn, U, #10-24

If used Tinn, U, #10-24

2шт.

13

L108422

PLATE

HEADLINER - rear, plastic

1шт.

14

L109989

PANEL

HEADLINER - center, fabric-covered, if used

1шт.

15

L109988

ROOF LINING

COVER - defroster, plastic

1шт.

16

F64519

SELF-TAP SCREW,Cross Wash Hd, #10-16 x 3/4"

SCREW - self-tapping, Phillips, No. 10 - 16 x 3/4 inch

28шт.

17

NSS

NOT SOLD SEPARAT

SEAL - defroster cover, right-hand, 11-13/16" (300 mm) long

1шт.

For noise reduction pads that are glued to the cab frame weldment see Figure 9-62.

1шт.

cut from F63219, see below

1шт.

18

F45447

SEAL

- defroster cover, right edge

1шт.

19

NSS

NOT SOLD SEPARAT

SEAL - defroster cover, left-hand, 7" (179 mm) long

1шт.

For noise reduction pads that are glued to the cab frame weldment see Figure 9-62.

1шт.

cut from F63219, see below

1шт.

20

L74714

MIRROR

- rear view, includes hardware

1шт.

21

L108631

SEAL

- rubber, adhesive-backed, to defroster cover (item 15)

1шт.

22

F45304

PAD

- defroster cushion, adhesive-backed, Start Serial: adheres

1шт.

underside of cab roof

1шт.

23

F45351

RETAINER

- padded covers, if used

12шт.

24

F64384

WASHER

- vinyl, if used

24шт.

25

R52564

DECAL

- fuses, on right-hand side panel (item 1 or item 26)

1шт.

26

R52528

PANEL

- right-hand side

1шт.

27

R52524

PANEL

COVER - padded vinyl, right-hand side panel

1шт.

28

R52525

PANEL

COVER - padded vinyl, left-hand side panel, used on models with

1шт.

the louver in the right-hand panel installed at an angle

1шт.

29

R52526

PANEL

COVER - padded vinyl, rear, behind seat

1шт.

30

R52527

ROOF

HEADLINER - center, fabric-covered, if used

1шт.

31

R52523

PANEL

- fuse, right - hand side

1шт.

32

R54556

RETAINER

- fuse panel

4шт.

33

R54557

FASTENER

- padded covers

15шт.

F63219

FOAM

SEAL - 47" (1194 mm) long

1шт.

For noise reduction pads that are glued to the cab frame weldment see Figure 9-62.

1шт.

Выбрано товаров: 0