Запчасти Case W30 (3-08) - FUEL INJECTION SYSTEM, 504BDT ENGINE (03) - FUEL SYSTEM

Схема запчастей Case W30 - (3-08) - FUEL INJECTION SYSTEM, 504BDT ENGINE (03) - FUEL SYSTEM
FIT
1:1
100%

Артикул

Название

Примечание

Количество

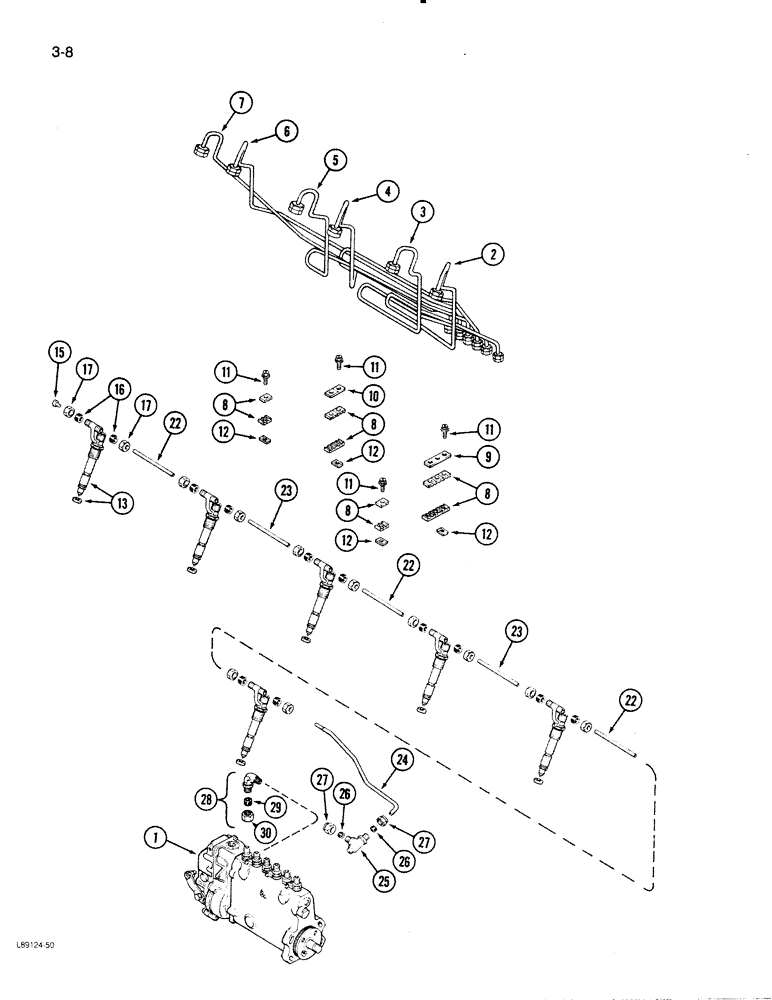
1

REF

INSTRUCTION

PUMP - fuel injection (See Figure 3-14)

1шт.

2

A156885

TUBE

ASSEMBLY - fuel injection, No. 1 cylinder

1шт.

3

A156886

TUBE

ASSEMBLY - fuel injection, No. 2 cylinder

1шт.

4

A156887

TUBE

ASSEMBLY - fuel injection, No. 3 cylinder

1шт.

5

A156888

TUBE

ASSEMBLY - fuel injection, No. 4 cylinder

1шт.

6

A156889

TUBE

ASSEMBLY - fuel injection, No. 5 cylinder

1шт.

7

A156890

PIPE

TUBE ASSEMBLY - fuel injection, No. 6 cylinder

1шт.

8

A58709

BRACKET

- injection tube

14шт.

9

A58708

PLATE

- injection tube bracket (6 line)

1шт.

10

A58710

PLATE

- injection tube bracket (4 line)

1шт.

11

163-19

SCREW,Sl Hex Wshr Hd, #10 - 24 x 1"

- hex slotted head, No. 10 x 1 inch NC

7шт.

12

131-612

SPRING NUT,Flat, #10 - 24, 0.022" Thk

NUT - Tinnerman, No. 10 NC

7шт.

13

REF

INSTRUCTION

NOZZLE ASSEMBLY - fuel injection (See Figures 3-16 and 3-18)

6шт.

15

47-37

RIVET,FH, 3/16" x 7/16"

- flat head, 3/16 diameter x 7/16 inch long

1шт.

16

222-101

SLEEVE,3/16" Tube

- for 3/16 inch tube

12шт.

17

222-111

TUBE NUT,7/16" - 24

NUT - for 3/16 inch tube

12шт.

22

A76642

TUBE

- leak off, 4-11/16 inch long

3шт.

23

A76641

TUBE

- leak off, 5-3/4 inch long

2шт.

24

A153816

TUBE

- leak off, No. 1, Serial Range: nozzle-valve

1шт.

25

A59097

VALVE

ASSEMBLY - restrictor, leak off

1шт.

26

222-102

SLEEVE,1/4" Tube

2шт.

27

87017024

TUBE NUT,1/2"-24

NUT - for 1/4 inch tube

2шт.

28

222-47

ELBOW,90 Degree, 5/8"-24 Fem x 1/4"-27 NPTF

ASSEMBLY - 90 degree, 3/8 inch tube

1шт.

29

222-104

SLEEVE,3/8" Tube

- 3/8 inch tube

1шт.

30

222-114

NUT,5/8"-24

NUT - 3/8 inch tube

1шт.

Выбрано товаров: 25