Запчасти Case W36 (9-476) - REAR CHASSIS AND PIVOT (09) - CHASSIS

Схема запчастей Case W36 - (9-476) - REAR CHASSIS AND PIVOT (09) - CHASSIS
FIT
1:1
100%

Артикул

Название

Примечание

Количество

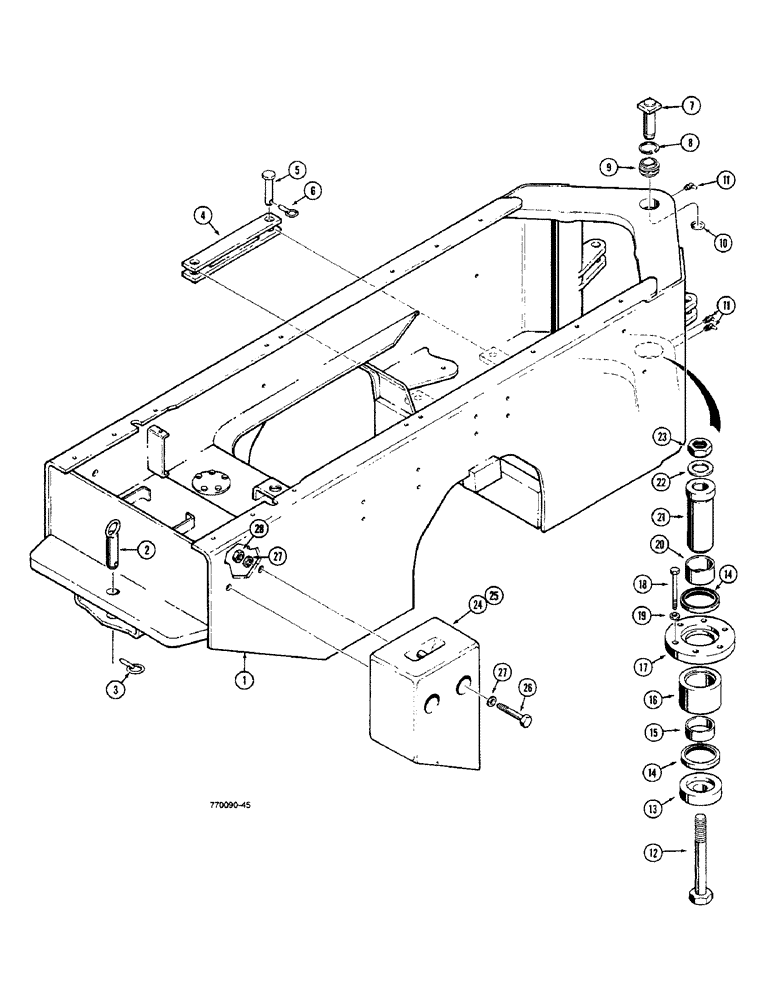
1

L70504

CHASSIS - rear, includes fuel tank, Serial Range: -9131058

1шт.

1

L106902

CHASSIS

- rear, includes fuel tank, P.I.N. 9131058 - 9156437

1шт.

1

L114804

CHASSIS

- rear, includes fuel tank, Start Serial: 9156438

1шт.

2

L72964

PIN

- drawbar

1шт.

3

D33805

PIN

- klik

1шт.

4

L73119

LOCK

LINK - safety

1шт.

5

L73184

PIN

CLEVIS PIN - safety link

2шт.

6

A30338

PIN

- klik

2шт.

7

L70331

PIN

- upper pivot

1шт.

8

L13903

SNAP RING,3.562", Int, #354

Ring, Snap, , pivot pin 3.562", Int, #354

1шт.

9

L70006

BUSHING,2.25" ID x 3.56" OD x 1.969"

BEARING - upper pivot

1шт.

10

F40807

SNAP RING,#225, Ext

Ring, Snap, , pin, upper pivot pin #225, Ext

1шт.

11

219-55

LUBE NIPPLE,90 Degree Elbow, 1/8" - 27 NPTF

NIPPLE, LUBE, 90º, 1/8" NPT x .84" lg

3шт.

12

116-1100

BOLT,Hex, 1-3/8" - 12 x 11", Gr 8

- hex head, 1-3/8" - 12 NF x 11", grade 8

1шт.

13

L70415

PLATE

CAP - lower pivot pin

1шт.

14

L70468

SEAL,85.72mm ID x 111.28mm OD x 12.7mm Thk

- lower pivot pin

2шт.

15

L70270

BUSHING

- lower

1шт.

16

L70007

BEARING

- includes removable shims for wear adjustment

1шт.

17

L70399

PLATE

- lower pivot pin

1шт.

18

13-880

BOLT,Hex, 1/2" - 13 x 5", Gr 5

6шт.

19

R24323

WASHER

- hardened

6шт.

20

L70269

BUSHING

- upper

1шт.

21

L73651

PIN

- lower pivot

1шт.

22

A17098

WASHER

- hardened

1шт.

23

131-209

LOCK NUT,1 3/8"-12

NUT - hex, self-locking, 1-3/8" - 12 NF

1шт.

24

L72406

WEIGHT

COUNTERWEIGHT - right-hand

1шт.

25

L72407

WEIGHT

COUNTERWEIGHT - left-hand

1шт.

26

26-1688

BOLT,Hex, 1" - 8 x 5-1/2", Gr 8

- hex head, 1" - 8 NC x 5-1/2", grade 8, counterweight

4шт.

27

D36505

WASHER,26.99mm ID x 47.63mm OD x 2.38mm Thk

- hardened, counterweight

8шт.

28

25-1016

NUT,1"-8, G5

Counterweight 1"-8, G5

4шт.

Выбрано товаров: 30