Запчасти Case W36 (4-106) - BATTERIES, STARTER, AND BATTERY CABLES (04) - ELECTRICAL SYSTEMS

Схема запчастей Case W36 - (4-106) - BATTERIES, STARTER, AND BATTERY CABLES (04) - ELECTRICAL SYSTEMS
FIT
1:1
100%

Артикул

Название

Примечание

Количество

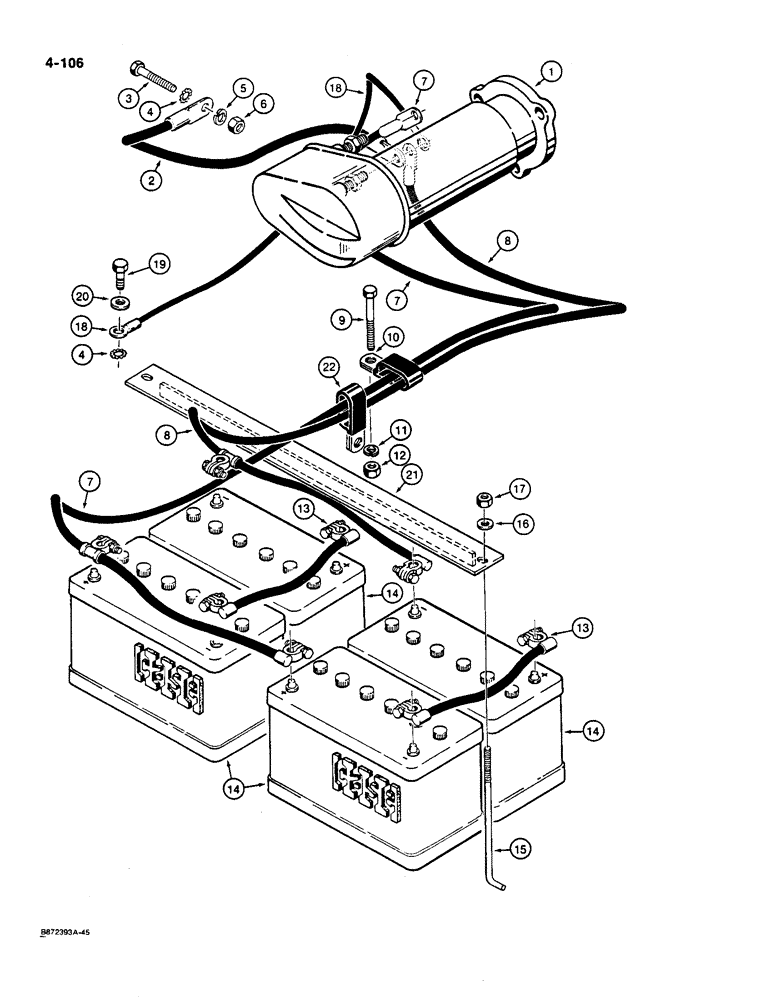
1

E156159

STARTING MOTOR

STARTER - CDC No. 3352839, parts list Figures 4-84 and 4-86

1шт.

1

75264239R

REMAN-STARTER,24V

CASE WHEEL LOADER (S/N 17754000 & AFTER), Reman for New PN E156159

1шт.

1

75264239C

CORE-STARTER,24V

Return Number

1шт.

2

L126023

CABLE

- ground

1шт.

3

113-417

BOLT,Hex, 1/2" - 13 x 1-1/4", Gr 5, Full Thd

1шт.

4

193-87

LOCK WASHER,Ext-Int Tooth, 1/2"

WASHER, LOCK, Ext-Int Tooth, 1/2"

2шт.

5

192-23

LOCK WASHER,1/2"

WASHER, LOCK, 1/2"

1шт.

6

129-105

NUT,Hex, 1/2" - 13, Gr 5

1шт.

7

L126019

CABLE

-, Serial Range: battery-starter

1шт.

8

L126020

CABLE

- battery ground

1шт.

9

113-410

BOLT,Hex, 1/2" - 13 x 1-1/2", Gr 5, Full Thd

1шт.

10

L71188

CLAMP,15.75mm ID, Coated, 13.46mm Bolt Hole, P Type

- battery cables

1шт.

11

192-23

LOCK WASHER,1/2"

WASHER, LOCK, 1/2"

1шт.

12

129-105

NUT,Hex, 1/2" - 13, Gr 5

1шт.

13

L114087

CABLE

-, Serial Range: battery-battery

2шт.

14

BHC30

BATTERY, DRY

BATTERY - 12 volt, dry

4шт.

15

T31481

SCREW

BOLT - special

2шт.

16

195-103

WASHER,5/16"

- flat, 5/16"

2шт.

17

131-176

LOCK NUT,Prev Torque, Hex, 5/16" - 18, Gr A

NUT - hex, self-locking, 5/16" - 18 NC, plated

2шт.

18

L126018

CABLE

WIRE - ground, Serial Range: starter-engine

1шт.

19

814-12020

BOLT,Hex, M12 x 1.75 x 20mm, Cl 8.8, Full Thd

- hex head, 12 mm - 1.75 x 20 mm (8.8), plated

1шт.

20

895-11012

WASHER,13.5mm ID x 24mm OD x 2.5mm Thk

1шт.

21

E156361

COVER PLATE

PLATE - hold down

1шт.

22

L71188

CLAMP,15.75mm ID, Coated, 13.46mm Bolt Hole, P Type

- battery cable, use existing hardware on radiator

1шт.

Выбрано товаров: 24