Запчасти Case W36 (4-138) - COLD WEATHER STARTING SYSTEM (04) - ELECTRICAL SYSTEMS

Схема запчастей Case W36 - (4-138) - COLD WEATHER STARTING SYSTEM (04) - ELECTRICAL SYSTEMS
FIT
1:1
100%

Артикул

Название

Примечание

Количество

1

REF

INSTRUCTION

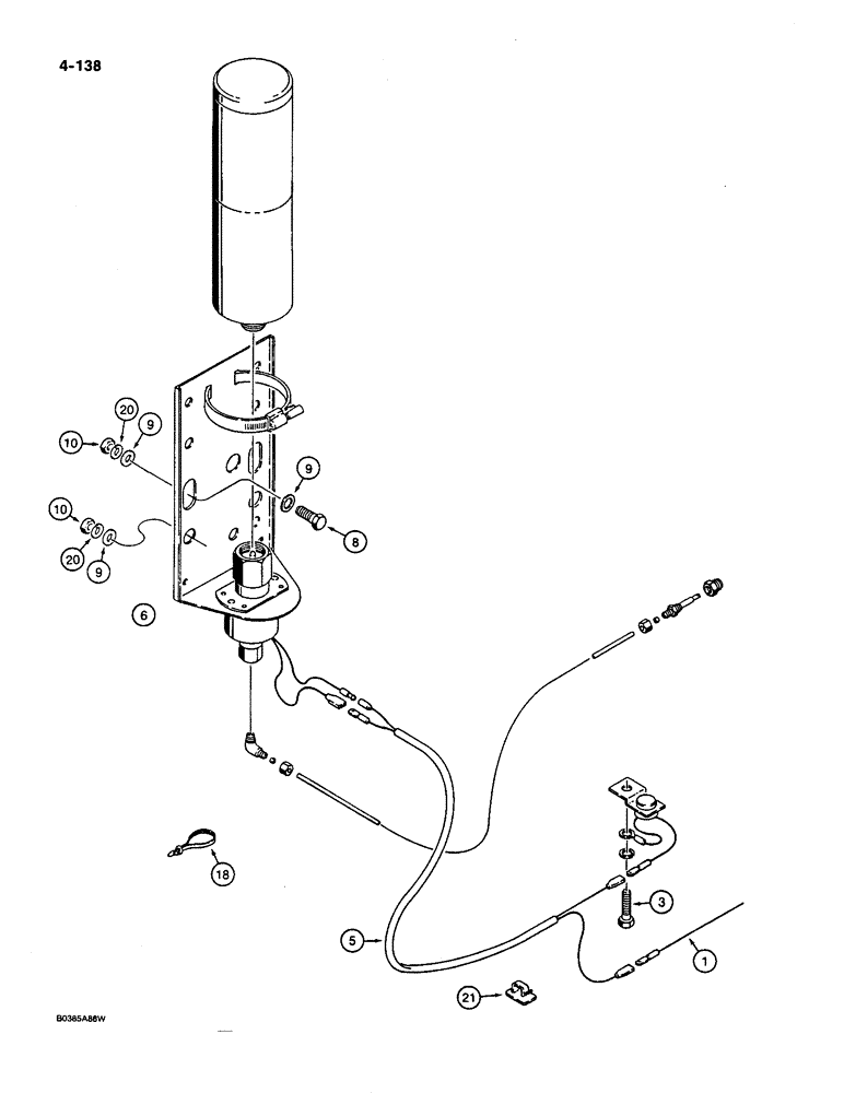
HARNESS - engine, see Figure 4-104

1шт.

2

A171943

IGNITION SWITCH

THERMOSTAT - circuit breaking, includes lead wires

1шт.

3

814-8016

BOLT,Hex, M8 x 1.25 x 16mm, Cl 8.8, Full Thd

- hex head, 8 mm - 1.25 x 16 mm (8.8), plated

1шт.

4

892-1108

LOCK WASHER,M8

plated M8

1шт.

5

S242606

HARNESS

WIRE -, Serial Range: thermostat-valve

1шт.

6

A173281

SOLENOID VALVE

VALVE ASSEMBLY - component parts not serviced separately

1шт.

7

A171940

CYLINDER

- starting fluid

1шт.

8

413-516

BOLT,Hex, 5/16" - 18 x 1", Gr 5

- hex, 5/16" - 18 NC x 1", plated

2шт.

9

495-21038

WASHER,5/16"

4шт.

10

425-105

NUT,5/16"-18, G5

- hex, 5/16" - 18 NC, plated

2шт.

222-615

ELBOW,90 Degree, 5/16"-24 x 1/8" NPT, Comp

Valve outlet, Incl. Ref 11 - 13 90º, 5/16"-24 x 1/8" NPT, Comp

1шт.

11

NSS

NOT SOLD SEPARAT

BODY - elbow

1шт.

12

222-650

SLEEVE,1/8" Tube, Comp

Brass 1/8" Tube, Comp

1шт.

13

222-660

FLANGE NUT,5/16"-24, 45 Degree Fl, Comp

1/8", brass 5/16"-24, 45º Fl, Comp

1шт.

14

A172361

TUBE

- nylon, 1/8" (3 mm) x 72" (1829 mm) long, cut from L60539, see below

1шт.

A172900

NOZZLE CAP

NOZZLE ASSEMBLY - cold start, Includes: Ref. 15 - 17

1шт.

15

NSS

NOT SOLD SEPARAT

BODY - nozzle

1шт.

16

222-650

SLEEVE,1/8" Tube, Comp

Brass 1/8" Tube, Comp

1шт.

17

222-660

FLANGE NUT,5/16"-24, 45 Degree Fl, Comp

1/8", brass 5/16"-24, 45º Fl, Comp

1шт.

18

L18337

CABLE TIE,9.95"-12.1" lg

STRAP - tie, 15 inch, nylon

1шт.

19

221-628

REDUCER,Hex, 1/4" x 1/8" NPT

- 1/4" NPT x 1/8" NPT

1шт.

20

492-11031

LOCK WASHER,5/16"

WASHER, LOCK, 5/16"

2шт.

21

L100659

CLIP

- self-adhesive, Serial Range: wire-chassis

3шт.

L60539

TUBE,0.125" OD x 168" L

- nylon, 14 ft (427 cm) long

1шт.

Выбрано товаров: 24