Запчасти Case W5 (016) - CYLINDER HEAD AND COVER, (164) SPARK IGNITION ENGINE, CASTING NO. G2100 (02) - ENGINE

Схема запчастей Case W5 - (016) - CYLINDER HEAD AND COVER, (164) SPARK IGNITION ENGINE, CASTING NO. G2100 (02) - ENGINE
FIT
1:1
100%

Артикул

Название

Примечание

Количество

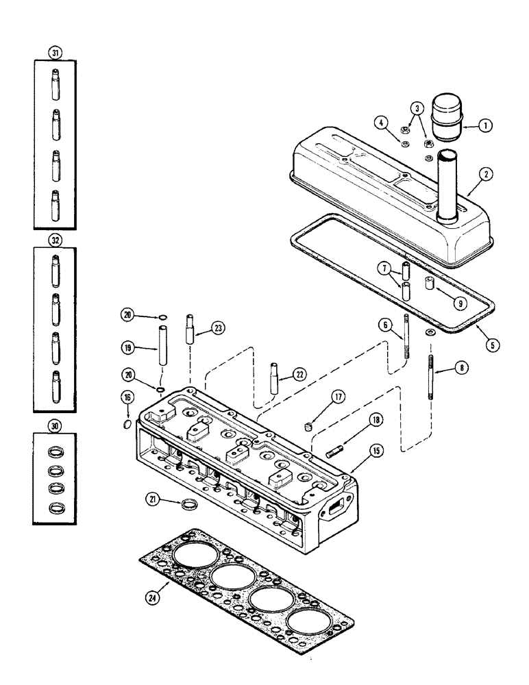
1

A36608

CAP

- oil filler & breather

1шт.

2

G13997

COVER - valve & cylinder head

1шт.

3

25-106

NUT,3/8"-16, G5

- 3/8" N.C. hex.

3шт.

4

A29277

WASHER

- cover nut (13/32 x 1 x 1/8")

3шт.

5

A30009

GASKET

-, Serial Range: cover-head

1шт.

6

A29447

STUD - rocker brkt. & head (3/8" N.C. x 4-3/4")

2шт.

7

A30065

SPACER

- valve cover (17/32" high)

2шт.

8

A29432

STUD - valve cover (3/8" N.C. x 5")

1шт.

9

A29999

SPACER

- valve cover (1-19/32" high)

2шт.

15

G11992

HEAD ASSY. - (Casting no. G2001) (Order G37039 from figure 18), Includes: Ref. 16 - 23

1шт.

16

41-18

PLUG

- rear (1-1/8" expansion type)

1шт.

17

A30029

PLUG

- heat (1/8" P.T.)

1шт.

18

A29431

STUD

- manifold (3/8" N.C. x 1-3/4")

7шт.

19

G11360

TUBE,0.687" OD x 3.687" L

- push rod

8шт.

20

F62114

O-RING,0.103" Thk x 0.674" ID, -115, Cl 5, 75 Duro

"O" RING - tube seal (11/16 x 7/8 x 3/32")

16шт.

21

NSS

NOT SOLD SEPARAT

INSERT - exhaust valve seat (Order ref. 30)

4шт.

22

NSS

NOT SOLD SEPARAT

GUIDE - intake valve stem (Order ref. 31)

1шт.

23

NSS

NOT SOLD SEPARAT

GUIDE - exhaust valve stem (Order ref. 32)

4шт.

24

G11170

CYLINDER HEAD GASKET

-, Serial Range: head-block

1шт.

30

G11932

KIT

INSERTS - exhaust valve seat (Set of 4)

1шт.

31

G10269

KIT

GUIDES - intake valve stem (Set of 4)

1шт.

32

G11861

GUIDE

S - exhaust valve stem (Set of 4)

1шт.

Выбрано товаров: 22