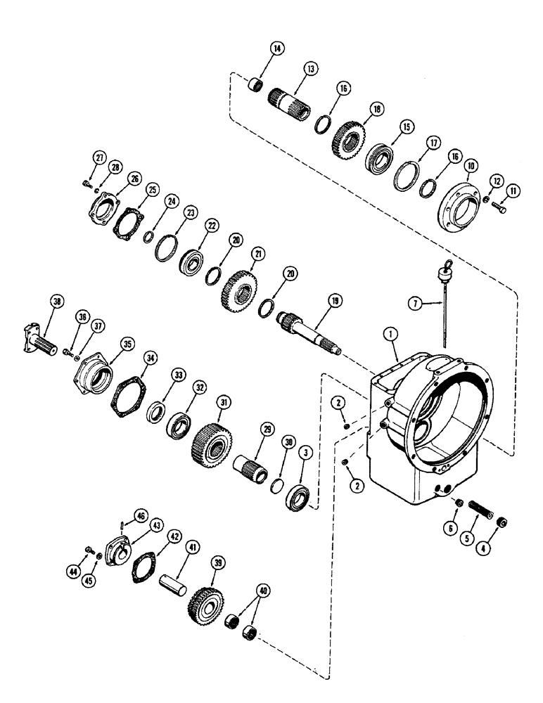
Запчасти Case W5 (070) - POWER SHUTTLE TRANSMISSION AND CASE, W/FLANGE MTD. OIL SCREEN (06) - POWER TRAIN

Схема запчастей Case W5 - (070) - POWER SHUTTLE TRANSMISSION AND CASE, W/FLANGE MTD. OIL SCREEN (06) - POWER TRAIN
FIT
1:1
100%

Артикул

Название

Примечание

Количество

1

L30318

X

CASE ASSY. - with tube (Replaces A14836), Includes: Ref. 2 and 3

1шт.

2

221-1662

PLUG

- 1/4" P.T. sq. hd.

2шт.

3

G13075

BEARING, BALL

BEARING - ball, 1-25/32 x 2-61/64 x 5/8"

1шт.

4

221-45

X

PLUG - oil screen hole, 3/4" P.T., ctsk. hd.

1шт.

5

L30226

FILTER SCREEN

SCREEN ASSY. - oil

1шт.

6

221-654

PLUG,Hex Hd, 1/2"-14

- drain, trans. case, 1/2" P.T., sq. hd.

1шт.

7

A14837

DIPSTICK

ASSY. - oil gauge

1шт.

10

L30236

RETAINER

- forward shaft bearing

1шт.

11

13-520

BOLT,Hex, 5/16" - 18 x 1-1/4", Gr 5

- retainer, 5/16 x 1-1/4" N.C. hex.

6шт.

12

92-5

LOCK WASHER,5/16"

6шт.

13

L30230

SHAFT

ASSY. - forward drive, Includes: Ref. 14 - 17

1шт.

14

A14858

NEEDLE BEARING,Needle, 28.56mm ID x 34.94mm OD x 19.05mm W

BEARING - needle

1шт.

15

L30232

X

BEARING - ball, forward shaft

1шт.

16

A27089

SNAP RING,2.36mm Thk, Ext

RING - snap, gear to bearing retainer

2шт.

17

L30233

RING, SNAP

RING - snap, bearing retaining, large

1шт.

18

A14859

GEAR - forward (31 teeth)

1шт.

19

A14850

SHAFT

- reverse drive

1шт.

20

A27089

SNAP RING,2.36mm Thk, Ext

RING - snap, reverse gear retaining

2шт.

21

A14853

GEAR

- reverse (35 teeth)

1шт.

22

A14851

BEARING

- ball, reverse shaft

1шт.

23

A28153

RING

- snap, bearing retaining, large

1шт.

24

A14835

RING, SNAP

RING - snap, bearing retaining, small

1шт.

25

A14855

GASKET

- reverse shaft bearing retainer

1шт.

26

A14854

RETAINER - reverse shaft bearing retainer

1шт.

27

13-514

BOLT,Hex, 5/16" - 18 x 7/8", Gr 5

4шт.

28

92-5

LOCK WASHER,5/16"

4шт.

29

L30336

SHAFT

ASSY. - output, Includes: Ref. 30

1шт.

30

A7509

PLUG

- expansion

1шт.

31

A14845

GEAR - output shaft (37 teeth)

1шт.

32

G13075

BEARING, BALL

BEARING - ball, output shaft, 1-25/32 x 2-61/64 x 5/8"

1шт.

33

A14849

X

SEAL - oil, output shaft, 1-3/4 x 2-5/8 x 7/16"

1шт.

34

A14848

GASKET

- output shaft bearing retainer

1шт.

35

A14847

RETAINER

- output shaft bearing

1шт.

36

13-514

BOLT,Hex, 5/16" - 18 x 7/8", Gr 5

6шт.

37

A17864

SEAL

- bolt, 5/16 x 1/2 x 5/64"

6шт.

38

A13914

YOKE

FLANGE - output

1шт.

39

A14840

GEAR ASSY. - idler (31 and 35 teeth), Includes: Ref. 40

1шт.

40

T15025

NEEDLE BEARING,Needle, 31.75mm ID x 38.11mm OD x 19.05mm W

BEARING - needle

2шт.

41

A14841

SHAFT

- idler gear

1шт.

42

A14844

GASKET

- idler gear retainer

1шт.

43

A14843

CAP

RETAINER - idler gear shaft

1шт.

44

13-516

BOLT,Hex, 5/16" - 18 x 1", Gr 5

4шт.

45

92-5

LOCK WASHER,5/16"

4шт.

46

A14842

PIN

- lock, idler shaft, 1/4 x 1"

1шт.

Выбрано товаров: 44