Запчасти Case W5A (052) - CYLINDER BLOCK ASSY, (188) SPARK IGNITION ENGINE., FOR FLANGE MTD OIL FILTER (02) - ENGINE

Схема запчастей Case W5A - (052) - CYLINDER BLOCK ASSY, (188) SPARK IGNITION ENGINE., FOR FLANGE MTD OIL FILTER (02) - ENGINE
FIT
1:1
100%

Артикул

Название

Примечание

Количество

A41029

SKELETON ENGINE

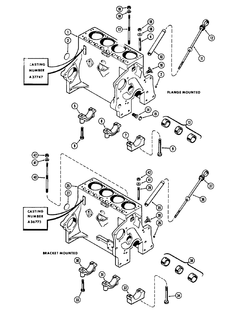
BLOCK ASSY. - cylinder, short (Not illust.) (Incl. stripped block, crankshaft & brgs., camshaft, timing gears, piston assy., connecting rods & brgs. & oil pump assy.) (Casting #A37747), Includes: Ref. 1 - 15

1шт.

1

A41030

SKELETON ENGINE

BLOCK ASSY. - cylinder, stripped (Casting #A37747), Includes: Ref. 2 - 15

1шт.

2

217-433

PLUG,Hex Soc, 1/4" - 18 NPTF

- oil gallery, 1/4" P.T., ctsk. sckt. hd.

3шт.

3

A39241

PLUG,Exp, 2.12" dia

- camshaft hole, 2-1/8" expansion

1шт.

4

A30057

STUD

- cylinder head, 1/2" N.F. x 2"

3шт.

4

A29436

STUD

- cylinder head, 1/2" N.F. x 5-7/8"

14шт.

5

G2062

CAP - main bearing, rear

1шт.

6

G2060

CAP - main bearing, center

1шт.

7

G2059

CAP - main bearing, front

1шт.

8

G49038

BOLT - main brg. cap, 1/2 x 3-3/8" N.C. spec.

4шт.

9

G49059

BOLT

- main brg. cap, 1/2 x 4-3/4" N.C. spec.

2шт.

10

A37149

TUBE

- oil filler & dipstick support (w/bead) (See ref. 35)

1шт.

11

A37148

DIPSTICK

ASSY. (Guide 15/16" wide) (See ref. 36), Includes: Ref. 12

1шт.

12

F62075

O-RING,0.139" Thk x 0.734" ID, -210, Cl 5, 75 Duro

"O" RING - dipstick, 3/4 x 1 x 1/8"

2шт.

13

A36409

X

BUSHING SET - camshaft

1шт.

14

A153552

ADAPTER

- oil folter

1шт.

15

A37207

X

PLUG - oil filter hole, 1" cup type

1шт.

16

217-103

COCK, DRAIN

COCK - drain, cylinder block

1шт.

17

A36780

STUD

- cylinder head and cover

2шт.

18

G49404

WASHER

- cylinder head stud, 17/32 x 27/32 x 1/16"

19шт.

19

A30021

NUT

- cylinder head stud, 1/2" N.F. hex., spec.

19шт.

A40595

X

BLOCK ASSY. - cylinder, short (Not illust.) (Incl. stripped block, crankshaft & brgs., camshaft, timimg gears, piston assy., connecting rods & brgs. & oil pump assy.) (Casting #A36773), Includes: Ref. 25 - 38

1шт.

25

A40593

BLOCK ASSY. - cylinder, stripped (Casting #A36773), for bracket mounted oil filter

1шт.

26

217-433

PLUG,Hex Soc, 1/4" - 18 NPTF

- oil gallery, 1/4" P.T., ctsk. sckt. hd., for bracket mounted oil filter

3шт.

27

A39241

PLUG,Exp, 2.12" dia

- camshaft hole, 2-1/8" expansion, for bracket mounted oil filter

1шт.

28

A30057

STUD

- cylinder head, 1/2" N.F. x 2", for bracket mounted oil filter

3шт.

28

A29436

STUD

- cylinder head, 1/2" N.F. x 5-7/8", for bracket mounted oil filter

14шт.

30

G2062

CAP - main bearing, rear, for bracket mounted oil filter

1шт.

31

G2060

CAP - main bearing, center, for bracket mounted oil filter

1шт.

32

G2059

CAP - main brg., front, for bracket mounted oil filter

1шт.

33

G49038

BOLT - main brg. cap, 1/2 x 3-3/8" N.C. spec., for bracket mounted oil filter

4шт.

34

G49059

BOLT

- main brg. cap, 1/2 x 4-3/4" N.C. spec., for bracket mounted oil filter

2шт.

35

A36774

X

TUBE - oil filler & dipstick support (w/out bead) (See ref. 10), for bracket mounted oil filter

1шт.

36

A36775

X

DIPSTICK ASSY. - (Guide 31/32" wide) (See ref. 11), for bracket mounted oil filter, Includes: Ref. 37

1шт.

37

F62075

O-RING,0.139" Thk x 0.734" ID, -210, Cl 5, 75 Duro

"O" RING - dipstick, 3/4 x 1 x 1/8", for bracket mounted oil filter

2шт.

38

A36409

X

BUSHING KIT - camshaft, for bracket mounted oil filter

1шт.

39

217-103

COCK, DRAIN

COCK - drain, cylinder block, for bracket mounted oil filter

1шт.

40

A36780

STUD

- cylinder head and cover, for bracket mounted oil filter

2шт.

41

G49404

WASHER

- cyl. head stud, 17/32 x 27/32 x 1/16", for bracket mounted oil filter

19шт.

42

A30021

NUT

- cyl. head stud, 1/2" N.F. hex., spec., for bracket mounted oil filter

19шт.

Выбрано товаров: 40