Запчасти Case W5A (114) - POWER SHUTTLE TRANSMISSION AND CASE, W/FLANGE MTD. OIL SCREEN (06) - POWER TRAIN

Схема запчастей Case W5A - (114) - POWER SHUTTLE TRANSMISSION AND CASE, W/FLANGE MTD. OIL SCREEN (06) - POWER TRAIN
FIT
1:1
100%

Артикул

Название

Примечание

Количество

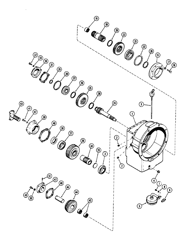
1

A14836

X

CASE - transmission (For repairs order 1-L30730, 1-221-45 and 1-L30226) (See Fig. 112), Includes: Ref. 2 and 3

1шт.

2

217-433

PLUG,Hex Soc, 1/4" - 18 NPTF

2шт.

3

G13075

BEARING, BALL

BEARING - output shaft

1шт.

4

221-675

PLUG

- 1/2" magnetic drain

1шт.

5

A14838

SCREEN

- oil pump intake

1шт.

6

A14839

GASKET

- oil intake screen mounting

1шт.

7

13-48

BOLT,Hex, 1/4" - 20 x 1/2", Gr 5

2шт.

8

92-4

LOCK WASHER,1/4"

WASHER, LOCK, 1/4"

2шт.

9

A14837

DIPSTICK

- oil level

1шт.

15

A14860

RING - bearing retainer

1шт.

16

13-524

BOLT,Hex, 5/16" - 18 x 1-1/2", Gr 5

- 5/16 x 1-1/2" N.C. hex

6шт.

17

92-5

LOCK WASHER,5/16"

6шт.

18

A14856

SHAFT

- forward drive

1шт.

19

A14858

NEEDLE BEARING,Needle, 28.56mm ID x 34.94mm OD x 19.05mm W

BEARING - needle

1шт.

20

A27089

SNAP RING,2.36mm Thk, Ext

RING - snap

2шт.

21

G13607

BALL BEARING

BEARING - ball

1шт.

22

A14857

RING

- snap, Serial Range: bearing-housing

1шт.

23

A14859

GEAR - forward drive (31 teeth)

1шт.

24

A14850

SHAFT

- reverse drive

1шт.

25

A14853

GEAR

- reverse drive (35 teeth)

1шт.

26

A27089

SNAP RING,2.36mm Thk, Ext

RING - snap

2шт.

27

A14851

BEARING

- ball, reverse shaft

1шт.

28

A28153

RING

-snap, bearing retainer

1шт.

29

A14835

RING, SNAP

RING - snap, bearing retaining

1шт.

30

A14854

RETAINER - bearing, reverse shaft

1шт.

31

A14855

GASKET

- bearing retainer

1шт.

32

13-514

BOLT,Hex, 5/16" - 18 x 7/8", Gr 5

4шт.

33

92-5

LOCK WASHER,5/16"

4шт.

34

L30227

X

COUNTERSHAFT ASSY., Includes: Ref. 35

1шт.

35

41-22

PLUG

- expansion

1шт.

36

A14845

GEAR - countershaft (37 teeth)

1шт.

37

G13075

BEARING, BALL

BEARING - output shaft

1шт.

38

A14849

X

SEAL - oil, output shaft

1шт.

39

A14847

RETAINER

- bearing, output shaft

1шт.

40

A14848

GASKET

- bearing retainer

1шт.

41

13-514

BOLT,Hex, 5/16" - 18 x 7/8", Gr 5

6шт.

42

A26413

GASKET

- bolt

6шт.

43

A13914

YOKE

FLANGE - output

1шт.

44

A14840

GEAR - idler, Includes: Ref. 45

1шт.

45

T15025

NEEDLE BEARING,Needle, 31.75mm ID x 38.11mm OD x 19.05mm W

BEARING - needle, idler gear

2шт.

46

A14841

SHAFT

- idler gear

1шт.

47

A14843

CAP

RETAINER - idler shaft

1шт.

48

A14844

GASKET

- retainer

1шт.

49

13-516

BOLT,Hex, 5/16" - 18 x 1", Gr 5

4шт.

50

92-5

LOCK WASHER,5/16"

4шт.

51

A14842

PIN

- idler gear lock

1шт.

Выбрано товаров: 46