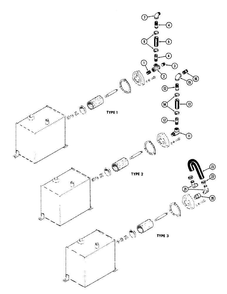
Запчасти Case W5A (160) - HYDRAULIC OIL TANK FILTER INLETS, FILTER INLET TYPE 1 (08) - HYDRAULICS

Схема запчастей Case W5A - (160) - HYDRAULIC OIL TANK FILTER INLETS, FILTER INLET TYPE 1 (08) - HYDRAULICS
FIT
1:1
100%

Артикул

Название

Примечание

Количество

1

221-211

PIPE,Nipple, 3/4" NPT x 1 3/8"

NIPPLE - 3/4 P.T. x 1-1/8"

1шт.

2

221-425

FITTING,3/4" NPT

TEE - 3/4" P.T.

1шт.

3

211-835

PLUG - 3/4" P.T.

1шт.

4

A16529

NIPPLE, LUBE

NIPPLE - inlet

2шт.

5

A13683

HOSE - inlet

1шт.

6

214-256

HOSE CLAMP,#20, 0.81" - 1.75", Type F Worm

CLAMP - 1-3/16" to 1-3/4"

2шт.

7

221-415

ELBOW,90 Degree, 3/4"-14, NPT

Street, valve outlet 90º, 3/4"-14, NPT

1шт.

11

A28021

X

ELBOW - 90 degrees swivel adapter, filter inlet type 2

1шт.

12

A16529

NIPPLE, LUBE

NIPPLE - inlet, filter inlet type 2

2шт.

13

A13683

HOSE - inlet, filter inlet type 2

1шт.

14

214-256

HOSE CLAMP,#20, 0.81" - 1.75", Type F Worm

CLAMP - 1-3/16" to 1-3/4", filter inlet type 2

2шт.

15

221-1378

ELBOW,90º, 3/4" NPT

- 3/4" P.T. x 90 degrees, filter inlet type 2

1шт.

16

211-216

BALL,9/16" Dia

NIPPLE - valve outlet, 3/4" P.T., filter inlet type 2

1шт.

20

218-904

HYD CONNECTOR,3/4" NPT x 3/4" ORFS

FITTING - union, straight male adapter, filter inlet type 3

1шт.

21

A16619

ELBOW - 3/4" P.T. x 90 degrees, filter inlet type 3

2шт.

22

214-256

HOSE CLAMP,#20, 0.81" - 1.75", Type F Worm

CLAMP - 1-13/16" to 1-3/4", filter inlet type 3

2шт.

23

A16599

HOSE - inlet, filter inlet type 3

1шт.

Выбрано товаров: 17