Запчасти Case W7 (270) - A19984 AND A16940 LOADER CONTROL VALVES (08) - HYDRAULICS

Схема запчастей Case W7 - (270) - A19984 AND A16940 LOADER CONTROL VALVES (08) - HYDRAULICS
FIT
1:1
100%

Артикул

Название

Примечание

Количество

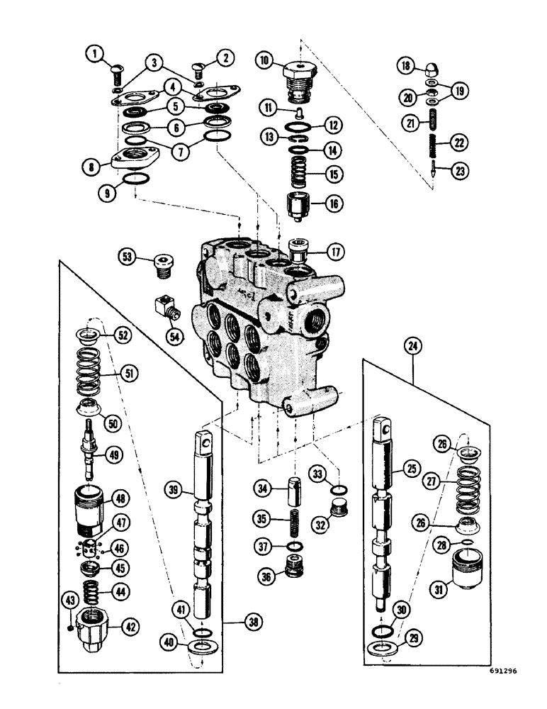
A19984

VALVE - loader control, three spool, Includes: Ref. 1 - 53

1шт.

A16940

VALVE - loader control, three spool (Use A19984), Includes: Ref. 1 - 53

1шт.

1

75-616

RHMS - 3/8" - 16 NC x 1"

2шт.

2

75-610

X

RHMS - 3/8" - 16 NC x 5/8"

4шт.

3

92-6

LOCK WASHER,3/8"

6шт.

4

A13169

PLATE - spool seal

3шт.

5

A13168

WIPER

- spool

3шт.

6

A13167

RETAINER

- spool "O" ring

3шт.

7

A13184

O-RING,0.103" Thk x 0.987" ID, -120, Cl 5, 75 Duro

SEAL - "O" ring, spool

3шт.

8

A13177

HOUSING - seal, float spool

1шт.

9

A27355

O-RING,0.139" Thk x 1.17" ID, -217, Cl 5, 75 Duro

SEAL - "O" ring, seal housing

1шт.

10

A16856

CYLINDER END CAP

CAP - relief valve

1шт.

11

D26266

SEAT

- pilot plunger, relief valve

1шт.

12

218-5009

O-RING,0.116" Thk x 1.048" ID, -914, Cl 6, 90 Duro

SEAL - "O" ring, relief valve cap

1шт.

13

A16860

RING

- backup, relief valve

1шт.

14

A18349

O-RING,0.103" Thk x 0.799" ID, -117, Cl 5, 75 Duro

SEAL - "O" ring, relief valve cap

1шт.

15

A15918

VALVE SPRING

SPRING - relief valve

1шт.

16

L30146

VALVE POPPET

PLUNGER - main relief valve

1шт.

17

A16858

SEAT

- relief valve plunger

1шт.

18

129-514

CROWN NUT,Low, 5/16" - 24

- acorn, relief valve

1шт.

19

D26270

WASHER, SEALING

SEAL - nut, relief valve

2шт.

20

25-155

JAM NUT,Jam, 5/16"-24, G5

- hex., jam (5/16" - 24 NF)

1шт.

21

176-297

SET SCREW,5/16"-24 x 1", Slotted

SCREW - set, relief valve adjusting

1шт.

22

D26268

SPRING

- pilot plunger

1шт.

23

D26267

PLUNGER

- pilot, main relief valve

1шт.

24

A15979

SPOOL ASSEMBLY - tilt and clam, Includes: Ref. 25 - 30

2шт.

25

NSS

NOT SOLD SEPARAT

SPOOL - tilt and clam

1шт.

26

A13164

RETAINER,13.49mm ID x 37.31mm OD

SPACER - spool centering spring

2шт.

27

A15981

SPRING

- spool centering

1шт.

28

A27020

RING

- retaining, spring spacer

1шт.

29

A13166

WASHER

RETAINER - spool "O" ring

1шт.

30

A13184

O-RING,0.103" Thk x 0.987" ID, -120, Cl 5, 75 Duro

SEAL - "O" ring, spool

1шт.

31

A13165

CAP

- tilt and clam spool

2шт.

32

86625138

PLUG,7/18" - 14

Relief Valve Opening, Includes Ref. 33 Hex Soc, 7/8"-14 ORB

1шт.

33

237-6010

O-RING,0.097" Thk x 0.755" ID, -910, Cl 6, 90 Duro

10-1, 90 Duro, .755" ID x .097" Thk, Plug

1шт.

34

A16861

VALVE POPPET

POPPET - check valve

3шт.

35

A13171

VALVE SPRING

SPRING - check valve poppet

3шт.

36

A13172

CYLINDER END CAP

CAP - check valve

3шт.

37

A13186

O-RING

SEAL - "O" ring, check valve cap

3шт.

38

A25276

SPOOL ASSEMBLY - lift, Includes: Ref. 39 - 52

1шт.

39

NSS

NOT SOLD SEPARAT

SPOOL - lift

1шт.

40

A13166

WASHER

RETAINER - spool "O" ring

1шт.

41

A13184

O-RING,0.103" Thk x 0.987" ID, -120, Cl 5, 75 Duro

SEAL - "O" ring, spool

1шт.

42

A16854

COVER

CAP - float spool, outer

1шт.

43

A16855

SCREW

- set

1шт.

44

A16853

VALVE SPRING

SPRING - detent

1шт.

45

A16852

RETAINER

- detent ball

1шт.

46

211-5

BALL,3/16" Dia

- detent (3/16")

6шт.

47

A16848

SLEEVE CYLINDER

SLEEVE - detent

1шт.

48

A16850

CAP

- inner

1шт.

49

A25278

BARREL

- detent

1шт.

50

A16846

CAP

SPACER - centering, outer

1шт.

51

A16847

SPRING

- centering, lift spool

1шт.

52

A13164

RETAINER,13.49mm ID x 37.31mm OD

SPACER - spool centering spring

1шт.

53

221-841

PLUG

- pipe, hex. socket head (1/4")

1шт.

54

A15925

ELBOW UNION

ELBOW - pressure check

1шт.

Выбрано товаров: 56