Запчасти Case W7 (014) - VALVES AND VALVE MECHANISM, (301) DIESEL ENGINE, W/STAMPED ROCKER ARMS (02) - ENGINE

Схема запчастей Case W7 - (014) - VALVES AND VALVE MECHANISM, (301) DIESEL ENGINE, W/STAMPED ROCKER ARMS (02) - ENGINE
FIT
1:1
100%

Артикул

Название

Примечание

Количество

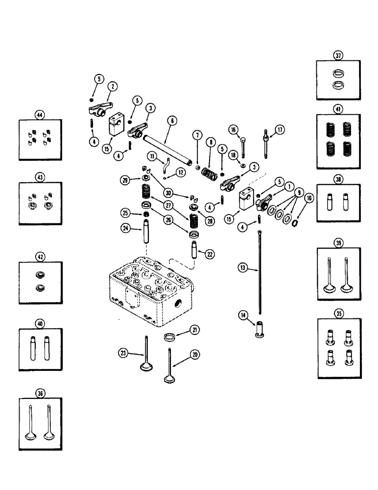
1

A22324

ROCKER

ARM ASSY. - rocker, exhaust (1st & 3rd cylinders) (Incl. Ref. 4 & 5)

2шт.

2

A22326

ROCKER

ARM ASSY. - rocker, exhaust (2nd & 4th cylinders) (Incl. Ref. 4 & 5)

2шт.

3

A22322

ROCKER

ARM ASSY. - rocker, intake (Incl. Ref. 4 & 5)

4шт.

4

A21105

ADJUSTMENT SCREW,3/8" - 24 x 1 9/16"

SCREW - valve push rod adjusting

1шт.

5

25-156

JAM NUT,Jam, 3/8"-24, G5

- 3/8" N.F. hex., jam

1шт.

6

A57532

SHAFT

ASSY. - rocker arm (w/solid plug)

2шт.

6

A21100

SHAFT

ASSY. - rocker (w/cup plug) (Order A57532), Includes: Ref. 7

2шт.

7

A26667

PLUG - rocker arm shaft, 9/16 x 3/16" cup type

2шт.

6

A23671

X

SHAFT ASSY. - rocker (w/cup plug) (Order A57532), Includes: Ref. 7

2шт.

7

A22318

PLUG - rocker arm shaft, 17/32 x 1/4" cup type

2шт.

8

A27877

SPRING

- rocker arm shaft

2шт.

9

A27878

WASHER

- rocker arm shaft, 29/32 x 1-5/16 x 1/32"

1шт.

10

B18206

SNAP RING,#87, Ext

RING - snap, , rocker arm shaft #87, Ext

4шт.

11

A27879

TUBE

- oil, rocker shaft

2шт.

12

A27880

O-RING,0.07" Thk x 0.18" ID, -8, Cl 5, 75 Duro

"O" RING - rocker arm shaft oil tube

2шт.

13

A21060

ROD

- push

8шт.

14

NSS

NOT SOLD SEPARAT

LIFTER - push rod (Order ref. 35)

8шт.

15

A27881

BRACKET

- rocker arm shaft

4шт.

16

15-764

BOLT (SPREADER)

BOLT - 7/16 x 4" N.C. hex.

4шт.

17

A57458

STUD

- bracket & cyl. hd. cover (w/o decompressor)

4шт.

17

A27882

STUD - bracket & cyl. hd. cover (w/decompressor)

4шт.

18

92-7

LOCK WASHER,7/16"

8шт.

20

NSS

NOT SOLD SEPARAT

VALVE - exhaust (Order ref. 36)

4шт.

21

NSS

NOT SOLD SEPARAT

INSERT - exhaust valve seat (Order ref. 37)

4шт.

22

NSS

NOT SOLD SEPARAT

GUIDE - valve, exhaust (Order ref. 38)

4шт.

23

NSS

NOT SOLD SEPARAT

VALVE - intake (Order ref. 39)

4шт.

24

NSS

NOT SOLD SEPARAT

GUIDE - intake (Order ref. 40)

4шт.

25

A10726

SEAL

SHIELD - intake valve stem oil

4шт.

26

A27866

SEAT

- valve spring

8шт.

27

NSS

NOT SOLD SEPARAT

SPRING - intake & exhaust valves (Order ref. 41)

8шт.

28

NSS

NOT SOLD SEPARAT

ROTO CAP - exhaust valve (Order ref. 42)

4шт.

29

NSS

NOT SOLD SEPARAT

RETAINER - intake valve spring (Order ref. 43)

4шт.

30

NSS

NOT SOLD SEPARAT

LOCK - valve spring retainer (Order ref. 44)

16шт.

35

A21653

KIT

LIFTER KIT - pushrod (Set of 4)

2шт.

36

A34254

VALVE

KIT - exhaust (Set of 2)

2шт.

37

A57485

INSERT

KIT - exhaust valve seat (Set of 2)

2шт.

38

A21674

GUIDE

KIT - exhaust valve (Set of 2)

2шт.

39

A24921

KIT

VALVE KIT - intake (Set of 2)

2шт.

REF#39 REPLACED BY A43025

1шт.

40

A21671

GUIDE

KIT - intake valve (Set of 2)

2шт.

41

A21694

SPRING

KIT - intake & exhaust valves (Set of 4)

2шт.

42

A57433

COIL

ROTO CAP KIT - exhaust valve (Set of 2)

2шт.

43

A21657

LOCK

RETAINER KIT - intake valve (4 locks & 2 ret.)

2шт.

44

A40352

LOCK

KIT - valve (Set of 8)

2шт.

Выбрано товаров: 44