Запчасти Case W7 (030) - COLD START KIT, (301) DIESEL ENGINE, L80068 FUEL PRIMER KIT (02) - ENGINE

Схема запчастей Case W7 - (030) - COLD START KIT, (301) DIESEL ENGINE, L80068 FUEL PRIMER KIT (02) - ENGINE
FIT
1:1
100%

Артикул

Название

Примечание

Количество

L10681

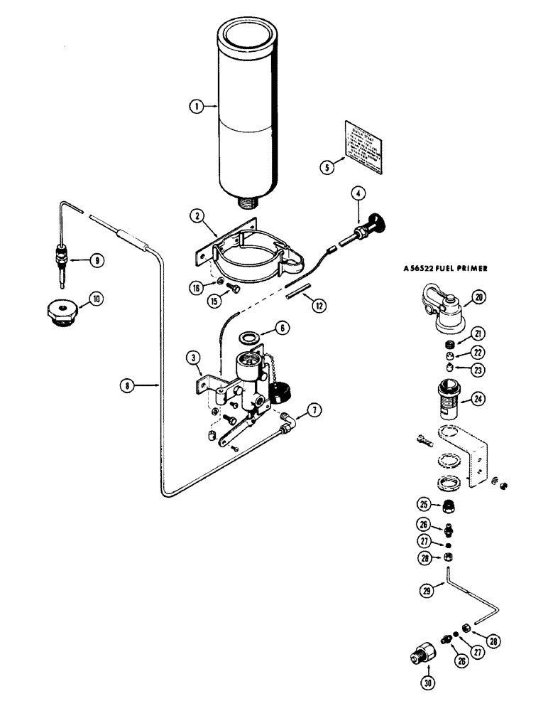
COLD START KIT - engine (Mach. item), Includes: Ref. 1 - 9

1шт.

1

L30187

CYLINDER - starting fluid

1шт.

2

L30183

BRACKET

CLAMP ASSY. - cylinder mounting

1шт.

3

L30180

BODY

VALVE ASSY. - starting fluid

1шт.

4

L30182

CABLE ASSY. - valve actuator (60")

1шт.

5

L30184

DECAL - instruction (On inst. panel)

1шт.

6

L30188

GASKET

-, Serial Range: cylinder-valve

1шт.

7

L30181

ELBOW - injection tube

1шт.

8

L30540

TUBE - fluid injection

1шт.

9

L30185

FITTING

- tube to manifold plug

1шт.

10

L10283

PLUG

- adapter, Serial Range: fitting-manifold

1шт.

12

L10731

LOOM - cable

1шт.

15

13-412

BOLT,Hex, 1/4" - 20 x 3/4", Gr 5, Full Thd

4шт.

16

92-4

LOCK WASHER,1/4"

WASHER, LOCK, 1/4"

4шт.

L80068M

FUEL PRIMER KIT - (Mach. item), Includes: Ref. 20 - 30

1шт.

20

A40243

CAP - discharger, L80068 fuel primer kit

1шт.

21

A40240

SCREW - bulb neck, discharger, L80068 fuel primer kit

1шт.

22

A40234

WASHER - bulb neck, discharger, L80068 fuel primer kit

1шт.

23

A40241

PIN - piercing, discharger, L80068 fuel primer kit

1шт.

24

A40239

BODY - discharger, L80068 fuel primer kit

1шт.

25

A40242

RETAINER - screen, discharger, L80068 fuel primer kit

1шт.

26

222-401

CONNECTOR, ELEC

CONNECTOR ASSY. - 3/16" tube, 1/8" P.T., L80068 fuel primer kit, Includes: Ref. 27 and 28

2шт.

27

222-101

SLEEVE,3/16" Tube

- , L80068 fuel primer kit 3/16" Tube

1шт.

28

222-111

TUBE NUT,7/16" - 24

NUT - 3/16" tube, L80068 fuel primer kit

1шт.

29

A40238

TUBE - coil, discharge, L80068 fuel primer kit

1шт.

30

A40236

NOZZLE INJECTION

NOZZLE - discharger, L80068 fuel primer kit

1шт.

Выбрано товаров: 26