Запчасти Case W7 (056) - PISTON ASSEMBLY AND CONNECTING RODS, (284) SPARK IGNITION ENGINE (02) - ENGINE

Схема запчастей Case W7 - (056) - PISTON ASSEMBLY AND CONNECTING RODS, (284) SPARK IGNITION ENGINE (02) - ENGINE
FIT
1:1
100%

Артикул

Название

Примечание

Количество

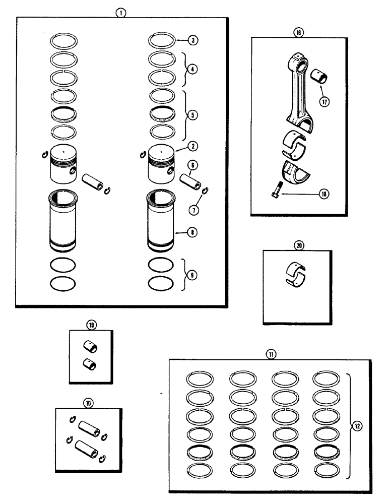
1

A23667

SET

PISTON & SLEEVE KIT (Set of 2), Includes: Ref. 2 - 9

2шт.

2

A20800

PISTON ASSY.

PISTON - cylinder (4-1/4" bore)

2шт.

3

NSS

NOT SOLD SEPARAT

RING - compression (1st groove) (Order ref. 12)

2шт.

4

NSS

NOT SOLD SEPARAT

RING - compression (2nd & 3rd groove) (Order ref. 12)

4шт.

5

NSS

NOT SOLD SEPARAT

RING - oil control (4th groove) (Order ref. 12)

2шт.

6

NSS

NOT SOLD SEPARAT

PIN - piston (Order ref. 10)

2шт.

7

A27844

RING

- snap, piston pin retaining

4шт.

8

A23659

PLUG,Cup, 1 5/8"

SLEEVE - piston (Cylinder liner)

2шт.

9

A23316

O-RING,0.139" Thk x 4.484" ID, -246, Cl 5, 75 Duro

"O" RING - sleeve packing

4шт.

10

A21724

KIT

PIN KIT - w/retaining rings (Set of 2)

2шт.

11

A21582

RING, SET

RING KIT - re-ring (Set of 4), Includes: Ref. 12

1шт.

12

A40367

PISTON RING SET

RING KIT - re-ring (Set of 1)

4шт.

16

A28657

ROD, CONNECTING

ROD ASSY. - connecting, Includes: Ref. 17 and 18

4шт.

REF#16 WRIST PIN HOLE HAS 1.36" I.D.

1шт.

17

NSS

NOT SOLD SEPARAT

BUSHING - piston pin (Order ref. 19)

1шт.

18

A27848

SPECIAL BOLT,1/2" - 20 x 2 3/16"

- connecting rod cap

2шт.

19

A21721

BUSHING

KIT - (Set of 2)

2шт.

20

A20393

LINING

INSERT ASSY. - connecting rod bearing (Std.)

4шт.

20

A20569

JOURNAL

INSERT ASSY. - connecting rod bearing (-.002")

4шт.

20

A20571

BEARING LINER

INSERT ASSY. - connecting rod bearing (-.010")

4шт.

20

A20573

KIT

INSERT ASSY. - connecting rod bearing (-.020")

4шт.

20

A20576

LINING

INSERT ASSY. - connecting rod bearing (-.030")

4шт.

Выбрано товаров: 22