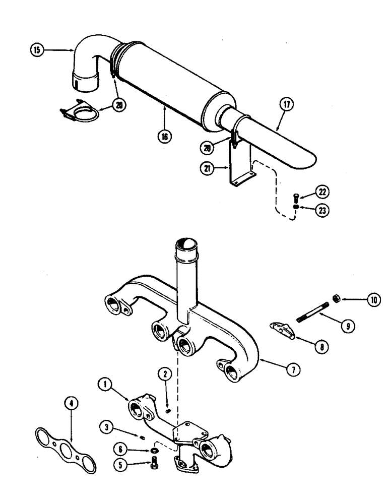
Запчасти Case W7E (010) - MANIFOLD & MUFFLER, (301B) SPARK IGNITION ENGINE, HORIZONTAL TYPE - EARLY PRODUCTION (02) - ENGINE

Схема запчастей Case W7E - (010) - MANIFOLD & MUFFLER, (301B) SPARK IGNITION ENGINE, HORIZONTAL TYPE - EARLY PRODUCTION (02) - ENGINE
FIT
1:1
100%

Артикул

Название

Примечание

Количество

1

A61008

MANIFOLD - intake

1шт.

2

221-1843

PLUG

- 3/8" P.T. socket hd.

1шт.

3

217-433

PLUG,Hex Soc, 1/4" - 18 NPTF

1шт.

4

A58804

GASKET

-, Serial Range: manifolds-head

2шт.

5

13-620

BOLT,Hex, 3/8" - 16 x 1-1/4", Gr 5, Full Thd

3шт.

6

92-6

LOCK WASHER,3/8"

3шт.

7

A20867

MANIFOLD

- exhaust

1шт.

8

A24368

CLAMP

-, Serial Range: manifolds-head

4шт.

9

A61051

STUD - manifold clamp (7/16" N.F. x 6-3/8")

4шт.

10

25-117

NUT,7/16"-20, G5

- 7/16" N.F. hex.

4шт.

15

L40584

ELBOW - exhaust, Serial Range: manifold-muffler

1шт.

16

A15163

MUFFLER

1шт.

17

L10227

PIPE - tail

1шт.

20

A13240

CLAMP,2-5/8" ID

- pipe & muffler

3шт.

21

T41335

BRACKET - muffler support

1шт.

22

13-512

BOLT,Hex, 5/16" - 18 x 3/4", Gr 5

2шт.

23

92-5

LOCK WASHER,5/16"

2шт.

Выбрано товаров: 0