Запчасти Case W7E (011A) - MANIFOLD & MUFFLER, (301B) SPARK IGNITION ENGINE, VERTICAL TYPE - PRODUCTION (02) - ENGINE

Схема запчастей Case W7E - (011A) - MANIFOLD & MUFFLER, (301B) SPARK IGNITION ENGINE, VERTICAL TYPE - PRODUCTION (02) - ENGINE
FIT
1:1
100%

Артикул

Название

Примечание

Количество

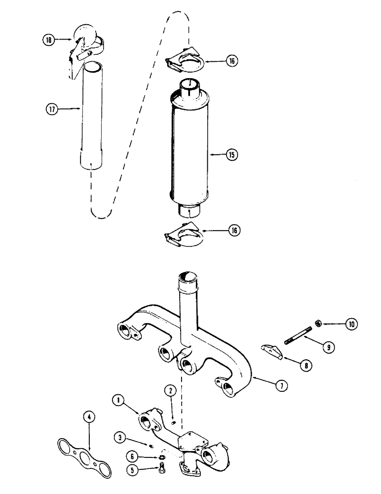
1

A61008

MANIFOLD - intake

1шт.

2

221-1843

PLUG

- 3/8" P.T. socket hd.

1шт.

3

217-433

PLUG,Hex Soc, 1/4" - 18 NPTF

1шт.

4

A58804

GASKET

-, Serial Range: manifolds-head

2шт.

5

13-620

BOLT,Hex, 3/8" - 16 x 1-1/4", Gr 5, Full Thd

3шт.

6

92-6

LOCK WASHER,3/8"

3шт.

7

A20867

MANIFOLD

- exhaust

1шт.

8

A24368

CLAMP

-, Serial Range: manifolds-head

4шт.

9

A61051

STUD - manifold clamp (7/16" N.F. x 6-3/8")

4шт.

10

25-117

NUT,7/16"-20, G5

- 7/16" N.F. hex.

4шт.

15

A15163

MUFFLER

- exhaust

1шт.

16

A13240

CLAMP,2-5/8" ID

- pipe & muffler

2шт.

17

L13824

EXTENSION

PIPE - exhaust, upper

1шт.

18

74081

X

CAP - exhaust pipe

1шт.

Выбрано товаров: 0