Запчасти Case W8B (072) - INSTRUMENT PANEL, GAS ENGINE, ALTERNATOR ELECTRICAL SYSTEM PRIOR TO LOADER SN. 9805550 (06) - ELECTRICAL SYSTEMS

Схема запчастей Case W8B - (072) - INSTRUMENT PANEL, GAS ENGINE, ALTERNATOR ELECTRICAL SYSTEM PRIOR TO LOADER SN. 9805550 (06) - ELECTRICAL SYSTEMS
FIT
1:1
100%

Артикул

Название

Примечание

Количество

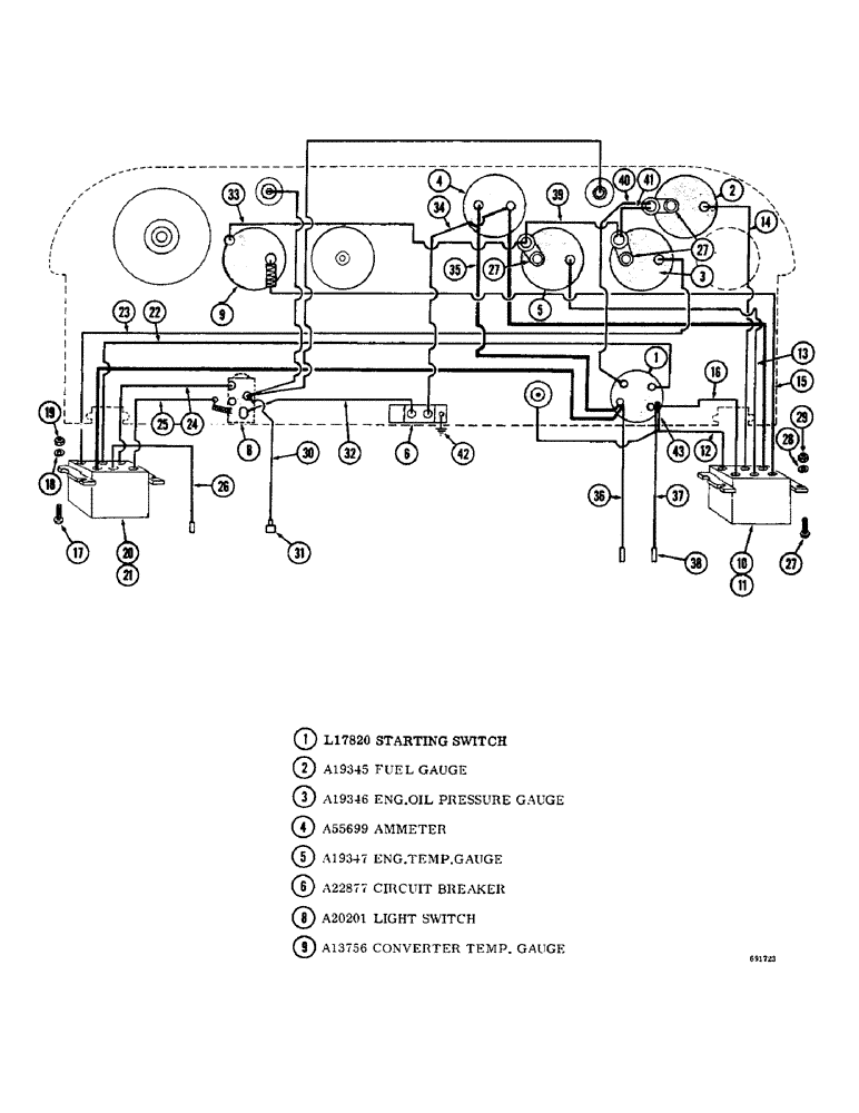
1

L17820

SWITCH

- starting

1шт.

2

A19345

ELECTRICAL GAUGE

GAUGE - fuel

1шт.

3

A19346

ELECTRICAL GAUGE

GAUGE - engine oil pressure

1шт.

4

A55699

ELECTRICAL GAUGE

AMMETER - 60 amp

1шт.

5

A19347

ELECTRICAL GAUGE

GAUGE - engine temperature

1шт.

6

A22877

BREAKER,40A

- circuit

1шт.

8

A20201

SWITCH

KIT - light switch

1шт.

9

A13756

GAUGE

- converter temperature

1шт.

10

L10078

PLUG ASSEMBLY - R.H. panel connector, Includes: Ref. 11 - 16

1шт.

11

A13742

BLOCK - multiple connector

1шт.

12

A13743

WIRE - starting switch (Red - 7" long)

1шт.

13

A19355

WIRE - engine temperature (Green - 12" long)

1шт.

14

A19354

WIRE - fuel gauge (White - 7-1/2" long)

1шт.

15

A19353

WIRE - converter temperature (Black - 23" long)

1шт.

16

A19356

WIRE - starting switch (Blue - 6-1/2" long)

1шт.

17

173-61

SCREW,Sl Rnd Hd, #6 - 32 x 1/2"

- machine, round head (#6 - 32 NC x 1/2")

2шт.

18

192-5

LOCK WASHER,#6

WASHER, LOCK, #6

2шт.

19

129-5

NUT,#6-32

2шт.

20

L10079

PLUG ASSEMBLY - L.H. panel connector, Includes: Ref. 21 - 26

1шт.

21

A13742

BLOCK - connector

1шт.

22

A19359

WIRE - switch solenoid terminal (Green - 24-3/4" long)

1шт.

23

A19361

WIRE - engine oil pressure (White - 24-3/4" long)

1шт.

24

A19357

WIRE - rear headlight (Black - 9-1/2" long)

1шт.

25

A19358

WIRE - taillight (Yellow - 8-1/2" long)

1шт.

26

A19360

WIRE - stoplight (Blue - 28" long)

1шт.

27

173-61

SCREW,Sl Rnd Hd, #6 - 32 x 1/2"

- machine, round head (#6 - 32 NC x 1/2")

2шт.

28

192-5

LOCK WASHER,#6

WASHER, LOCK, #6

2шт.

29

129-5

NUT,#6-32

2шт.

30

A19367

WIRE - front lights (Black - 18" long)

1шт.

31

A8210

CONNECTOR, ELEC

CONNECTOR - 3 wire

1шт.

32

A19365

WIRE - circuit breaker to light switch

1шт.

33

A19366

WIRE - converter temperature to engine temperature

1шт.

34

A19364

WIRE - circuit, Serial Range: breaker-ammeter

1шт.

35

A19369

WIRE - ammeter to key switch battery

1шт.

36

A19508

WIRE - key switch battery to stop light switch

1шт.

37

A19367

WIRE - starting switch to horn (Black - 18" long)

1шт.

38

A27213

CONNECTOR - 2 wire

1шт.

39

A19363

WIRE - engine temperature to oil pressure (Black - 3-3/4" long)

1шт.

40

A19363

WIRE - key switch to fuel gauge (Black - 3-3/4" long)

1шт.

41

A19363

WIRE - fuel to oil gauge (Black - 3-3/4" long)

1шт.

42

A56181

ELECTRICAL WIRE

WIRE -, Serial Range: panel-ground

1шт.

43

A9348

BLOCK - terminal

1шт.

Выбрано товаров: 42