Запчасти Case W8B (022) - FUEL INJECTION SYSTEM, (401) DIESEL ENGINE, FUEL INJECTOR (02) - FUEL SYSTEM

Схема запчастей Case W8B - (022) - FUEL INJECTION SYSTEM, (401) DIESEL ENGINE, FUEL INJECTOR (02) - FUEL SYSTEM
FIT
1:1
100%

Артикул

Название

Примечание

Количество

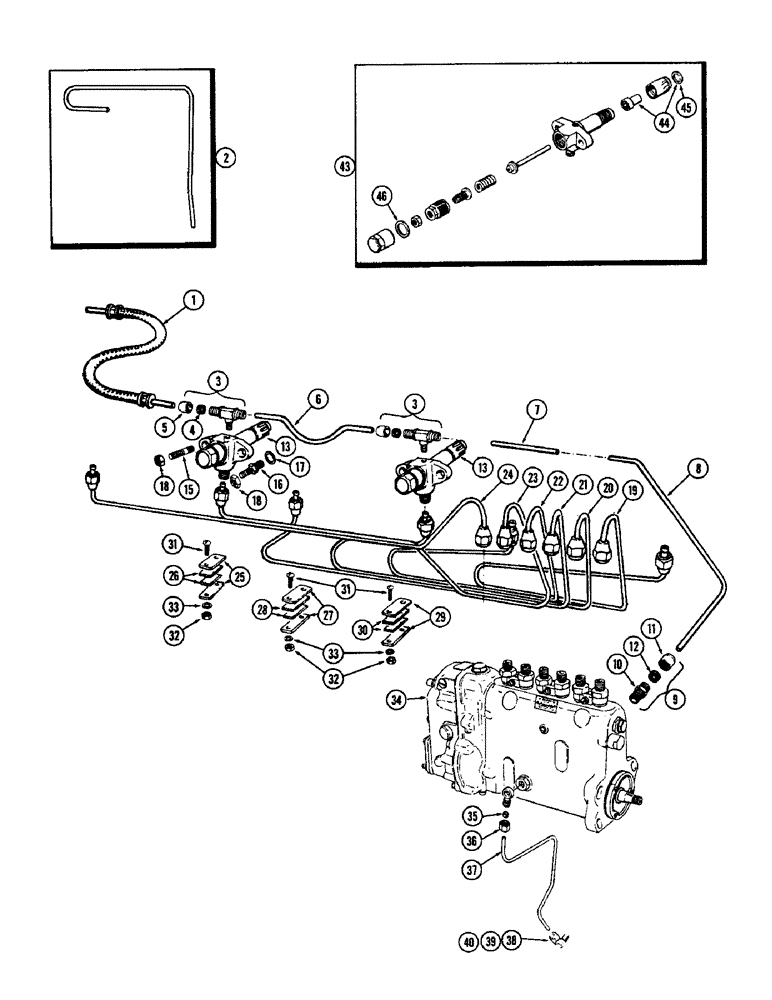
1

L10041

HOSE ASSY.

HOSE - return, #6 injector to tank (1st used eng. ser. no. 2095453)

1шт.

2

A20691

TUBE - leak-off, #6 injector to filter head (Used prior to eng. ser. no. 2095453)

1шт.

3

222-72

TEE,1/4" Flex Tube Run x 1/8" NPTF Br

ASSY. - leak-off, 1/4" tube x 1/8" P.T., Includes: Ref. 4 and 5

6шт.

4

222-102

SLEEVE,1/4" Tube

2шт.

5

87017024

TUBE NUT,1/2"-24

NUT - 1/4" tube

2шт.

6

A27981

TUBE

- leak-off, lower

3шт.

7

A20162

TUBE

- leak-off, upper

2шт.

8

A22186

TUBE

- leak-off, #1, Serial Range: injector-pump

1шт.

9

A28098

VALVE

- check, leak-off to pump, Includes: Ref. 10 - 12

1шт.

10

NSS

NOT SOLD SEPARAT

VALVE - (Order ref. 9)

1шт.

11

221-112

PIPE

NUT - 1/4" tube

1шт.

12

222-102

SLEEVE,1/4" Tube

1шт.

13

A8013

NOZZLE INJECTION

INJECTOR ASSY. - fuel (See ref. 43)

6шт.

15

A27929

STUD

- small, Serial Range: injector-head

6шт.

16

A10678

STUD

- large, Serial Range: injector-head

6шт.

17

A10679

GASKET

-, Serial Range: stud-head

6шт.

18

25-116

NUT,Hex, 3/8"-24, G5

- 3/8" N.F. hex.

12шт.

19

A20501

TUBE

ASSY. - pump to #1 injector

1шт.

20

A20502

TUBE

ASSY. - pump to #2 injector

1шт.

21

A20503

TUBE

ASSY. - pump to #3 injector

1шт.

22

A20504

TUBE

ASSY. - pump to #4 injector

1шт.

23

A20505

TUBE

ASSY. - pump to #5 injector

1шт.

24

A20506

TUBE

ASSY. - pump to #6 injector

1шт.

25

A20508

CLAMP

- injector tube (2 tubes)

2шт.

26

A20509

CUSHION

- tube clamp (2 tubes)

2шт.

27

A27977

CLAMP

- injector tube (3 tubes)

2шт.

28

A27979

CUSHION

- tube clamp (3 tubes)

2шт.

29

A27978

CLAMP

- injector tubes (5 tubes)

2шт.

30

A27980

CUSHION

- tube clamp (5 tubes)

2шт.

31

173-102

SCREW,Sl Rnd Hd, #10 - 24 x 1"

- #10-24 x 1" rd. hd.

6шт.

31

129-7

NUT,Hex, #10 - 24

- hex. #10-24

6шт.

33

92-3

LOCK WASHER,#10

WASHER, LOCK, #10

6шт.

34

A24533

FUEL INJECTION PUMP

PUMP - fuel injection (For repairs see Figure 21A)

1шт.

35

222-102

SLEEVE,1/4" Tube

1шт.

36

87017024

TUBE NUT,1/2"-24

NUT - 1/4" tube

1шт.

37

A22640

TUBE

- lube, Serial Range: oil-pump

1шт.

38

222-42

ELBOW,90 Degree, 1/2"-24 Fem x 1/8"-27 NPTF

ASSY. - tube to block, 1/4" tube x 1/8" P.T., Includes: Ref. 39 and 40

1шт.

39

222-102

SLEEVE,1/4" Tube

1шт.

40

87017024

TUBE NUT,1/2"-24

NUT - 1/4" tube

1шт.

43

A8013

NOZZLE INJECTION

INJECTOR ASSY. - fuel injector

6шт.

44

A31159

NOZZLE INJECTION

NOZZLE ASSY. - injector, fuel, Includes: Ref. 45

1шт.

45

A27928

WASHER,14.22mm ID x 19.18mm OD x 2.06mm Thk

GASKET - nozzle seat, fuel injector

1шт.

46

A31062

GASKET

- injector cap, fuel injector

1шт.

Выбрано товаров: 43