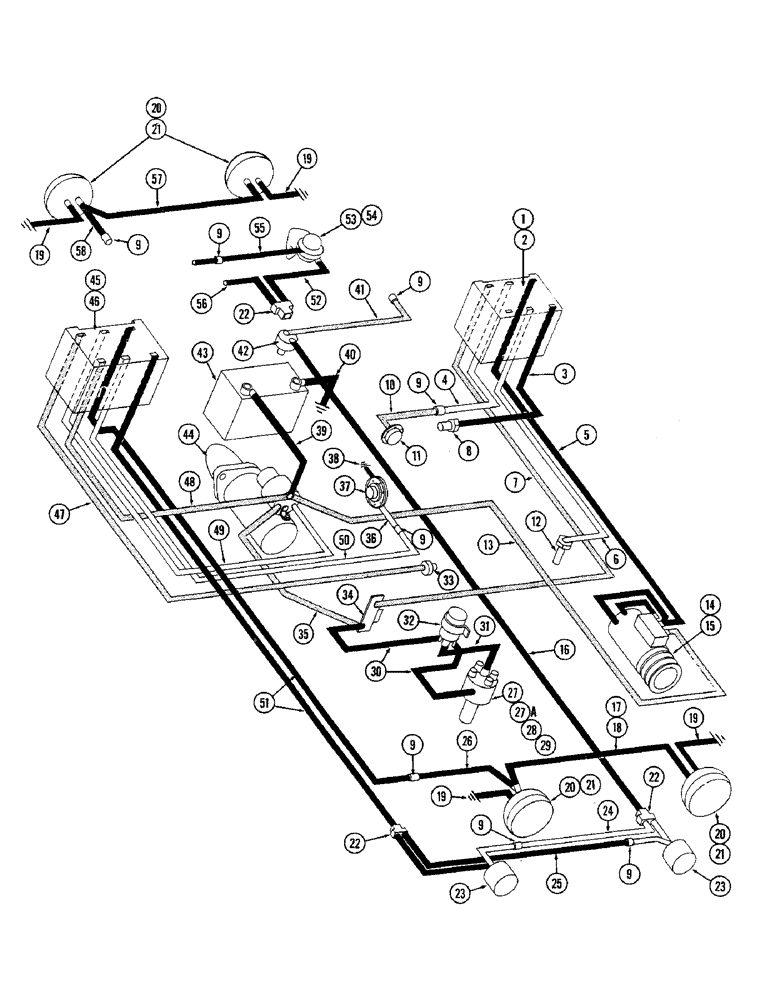
Запчасти Case W9A (058) - ELECTRICAL SYSTEM, GASOLINE (04) - ELECTRICAL SYSTEMS

Схема запчастей Case W9A - (058) - ELECTRICAL SYSTEM, GASOLINE (04) - ELECTRICAL SYSTEMS
FIT
1:1
100%

Артикул

Название

Примечание

Количество

1

A15254

SPECIAL RING

PLUG ASSY - wire, R.H.

1шт.

2

A13777

PLUG - connector, wire

1шт.

3

NSS

NOT SOLD SEPARAT

WIRE - plug to conv. temp. swt. (Blk. 65")

1шт.

4

NSS

NOT SOLD SEPARAT

WIRE - plug to fuel tank unit (Wht. 67")

1шт.

5

NSS

NOT SOLD SEPARAT

WIRE - plug to gen. reg. "A" term (Blk. 110")

1шт.

6

NSS

NOT SOLD SEPARAT

WIRE - plug to eng. temp. unit (Wht. 120")

1шт.

7

NSS

NOT SOLD SEPARAT

WIRE - plug to coil resistor (Red 90")

1шт.

8

A13795

SENDER UNIT

UNIT - sending, conv. oil temperature

1шт.

9

O7549AB

CONNECTOR - two wire

8шт.

10

A14733

ELECTRICAL WIRE

WIRE - fuel tank sender to conn. (Red 17")

1шт.

11

A17219

UNIT

ASSY - sending, fuel tank

1шт.

12

A13796

X

UNIT - sending, engine temperature

1шт.

13

A11950

WIRE - gen. reg. "B" term. to starter sol. "R" terminal (Red 67")

1шт.

14

A21533

X

GENERATOR ASSY - engine (See Figure 54)

1шт.

15

A33983

GENERATOR

ASSY - engine (See Figure 54)

1шт.

16

A12478

WIRE - stop lite swt. to conn. (Blk. 136")

1шт.

17

A16367

ELECTRICAL WIRE

WIRE - rear lamp to lamp (Rubber mtd.) (Blk. 20")

1шт.

18

A12475

WIRE - rear lamp to lamp (Metal mtd.) (Blk. 24")

1шт.

19

A15941

ELECTRICAL WIRE

WIRE - ground, frt. & rear lamp (Blk. 5")

4шт.

20

A15932

X

LAMP ASSY - frt. & rear (Rubber mtd.) (Repair Figure 64)

4шт.

21

A10701

LAMP ASSY - frt. & rear (Metal mtd.) (Repair Figure 64)

4шт.

22

A8210

CONNECTOR, ELEC

CONNECTOR - three wire

3шт.

23

A16732

LAMP ASSY - stop and tail (Repair Figure 64)

2шт.

24

A13251

ELECTRICAL WIRE

WIRE - conn. R.H. to L.H. stop lite (Wht. 18")

1шт.

25

A13252

ELECTRICAL WIRE

WIRE - conn. L.H. to R.H. stop lite (Blk. 18")

1шт.

26

A15948

ELECTRICAL WIRE

WIRE - left rear lite to conn. (Blk. 46")

1шт.

27

A24508

DISTRIBUTOR

ASSY - ignition (See Figure 36)

1шт.

27a

A24506

DISTRIBUTOR

ASSY - ignition (See Figure 37A)

1шт.

28

A22846

X

DISTRIBUTOR ASSY - ignition (See Figure 38)

1шт.

29

A20910

X

DISTRIBUTOR ASSY - ignition (See Figure 38)

1шт.

30

O10224AB

WIRE - coil to resistor & dist.

2шт.

31

VT2876

X

WIRE -, Serial Range: coil-distributor

1шт.

32

A24503

COIL

- ignition (See Figure 26)

1шт.

33

A13794

TRANSMITTER

UNIT - sending, eng. oil pressure

1шт.

34

A24504

RESISTOR

- ballast

1шт.

35

A8743

WIRE - res. to st. sol. "R" term. (Wht. 8")

1шт.

36

O8335AB

X

WIRE - vacuum swt. to conn. (Wht. 13-1/2")

1шт.

37

A14739

SWITCH ASSY - air cleaner warning

1шт.

38

O5598AB

WIRE - ground, vacuum swt. (Blk. 6-1/2")

1шт.

39

O3259AB

CABLE - battery to st. sol. "B" term.

1шт.

40

O6354AB

X

CABLE - ground, battery

1шт.

41

A15260

WIRE - stop light swt. to conn. (Red 39")

1шт.

42

A12491

SWITCH

ASSY - brake, stop light

1шт.

43

A11163

X

BATTERY - dry-charged

1шт.

44

A20873

STARTER ASSY - engine (See Figure 54)

1шт.

45

A16377

PLUG ASSY - wire, L.H.

1шт.

46

A13777

PLUG - connector, wire

1шт.

47

NSS

NOT SOLD SEPARAT

WIRE - plug to eng. oil press. swt. (Red 82")

1шт.

48

NSS

NOT SOLD SEPARAT

WIRE - plug to st. sol. "B" term. (Red 85")

1шт.

49

NSS

NOT SOLD SEPARAT

WIRE - plug to st. sol. "S" term. (Wht. 86")

1шт.

50

NSS

NOT SOLD SEPARAT

WIRE - plug to air cleaner swt. conn. (Wht. 98")

1шт.

51

NSS

NOT SOLD SEPARAT

WIRE - plug to rear & stop lite (Blk. 109")

2шт.

52

A13791

WIRE - horn to conn. (Blk. 40")

1шт.

53

A19581

HORN

ASSY - warning sound (Repair Figure 66)

1шт.

54

A9974

HORN ASSY - warning sound (Repair Figure 66)

1шт.

55

A12476

WIRE - horn to strg. column conn. (Green 26")

1шт.

56

A13202

WIRE - conn. to windshield wiper (Yellow 4")

1шт.

57

A16365

WIRE - lamp to lamp, frt. (Blk. 38")

1шт.

58

A16366

WIRE - left frt. lite to conn. (Blk. 24")

1шт.

Выбрано товаров: 0