Запчасти Case W9A (128) - A19983 TWO SPOOL CONTROL VALVE (08) - HYDRAULICS

Схема запчастей Case W9A - (128) - A19983 TWO SPOOL CONTROL VALVE (08) - HYDRAULICS
FIT
1:1
100%

Артикул

Название

Примечание

Количество

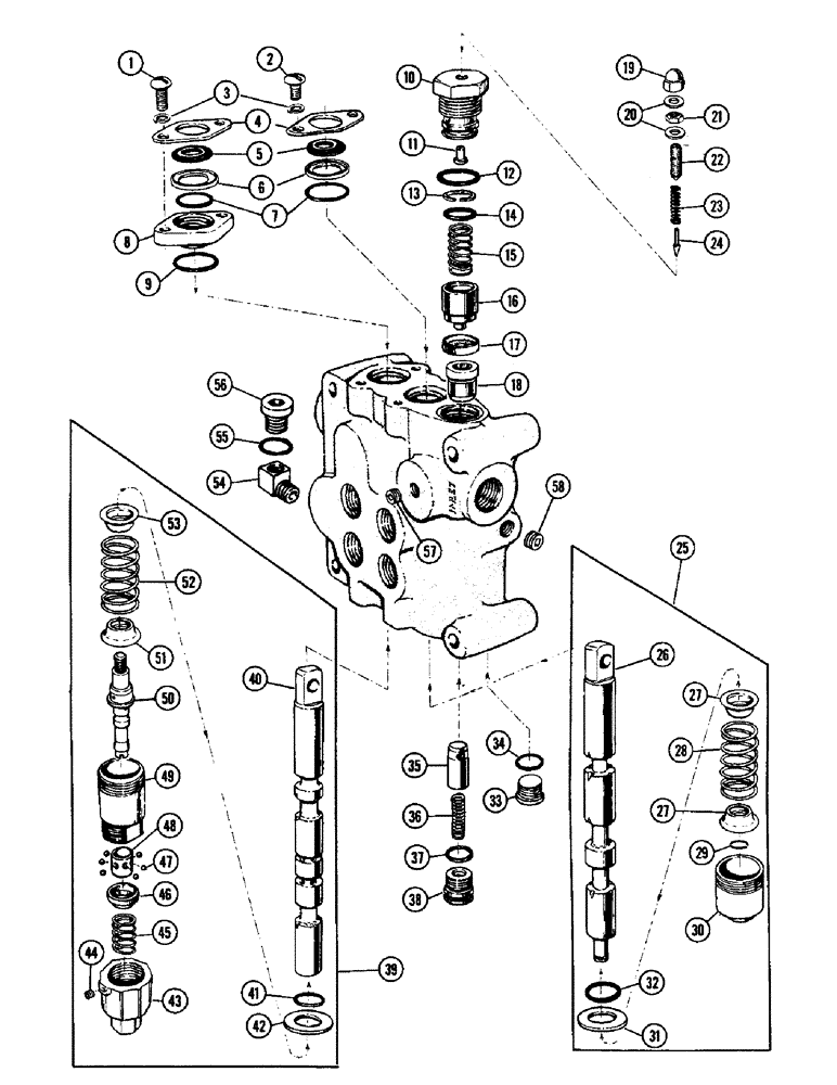
A19983

LOCK VALVE

VALVE ASSY - control, two spool

1шт.

1

75-616

SCREW - mach., 3/8" x 1" N.C., rd. hd.

2шт.

2

75-610

X

SCREW - mach., 3/8" x 5/8" N.C., rd. hd.

2шт.

3

92-6

LOCK WASHER,3/8"

4шт.

4

A13169

PLATE - seal, spool

2шт.

5

A13168

WIPER

- spool

2шт.

6

A13167

RETAINER

- "O" ring, spool

2шт.

7

A13184

O-RING,0.103" Thk x 0.987" ID, -120, Cl 5, 75 Duro

"O" RING - spool

2шт.

8

A13177

HOUSING - seal, lift control

1шт.

9

O8380AB

X

"O" RING - hsg. seal, lift control

1шт.

10

A16856

CYLINDER END CAP

CAP - relief valve

1шт.

11

D26266

SEAT

- pilot plunger

1шт.

12

A15988

X

"O" RING - cap, relief valve

1шт.

13

A16860

RING

- back-up, relief valve

1шт.

14

A18349

O-RING,0.103" Thk x 0.799" ID, -117, Cl 5, 75 Duro

"O" RING - cap, relief valve

1шт.

15

A15918

VALVE SPRING

SPRING - relief valve

1шт.

16

A15919

X

PLUNGER - relief valve

1шт.

17

A15920

X

SCREEN - relief plunger

1шт.

18

A16858

SEAT

- plunger, relief valve

1шт.

19

129-514

CROWN NUT,Low, 5/16" - 24

- acorn, 5/16" N.F., hex

1шт.

20

D26270

WASHER, SEALING

SEAL - nut, relief valve

2шт.

21

25-155

JAM NUT,Jam, 5/16"-24, G5

- jam 5/16" N.F., hex

1шт.

22

A15909

X

SCREW - set, relief valve

1шт.

23

D26268

SPRING

- pilot plunger

1шт.

24

D26267

PLUNGER

- pilot, relief valve

1шт.

25

A15979

SPOOL ASSY - tilt control

1шт.

26

NSS

NOT SOLD SEPARAT

SPOOL - tilt control (Order A15979)

1шт.

27

A13164

RETAINER,13.49mm ID x 37.31mm OD

SPACER - centering

2шт.

28

A15981

SPRING

- tilt spool

1шт.

29

A13190

X

RING - snap, spacer

1шт.

30

A13165

CAP

- tilt spool

1шт.

31

A13166

WASHER

RETAINER - "O" ring

1шт.

32

A13184

O-RING,0.103" Thk x 0.987" ID, -120, Cl 5, 75 Duro

"O" RING - tilt spool, lower

1шт.

33

A13192

X

PLUG - relief valve opening

1шт.

34

D26410

X

"O" RING - relief opening plug

1шт.

35

A16861

VALVE POPPET

POPPET - check valve

2шт.

36

A13171

VALVE SPRING

SPRING - check valve

2шт.

37

A13186

O-RING

"O" RING - check plug

2шт.

38

A13172

CYLINDER END CAP

CAP - check valve

2шт.

39

A25276

SPOOL ASSY - lift control

1шт.

40

NSS

NOT SOLD SEPARAT

SPOOL - lift control (Order A25276)

1шт.

41

A13184

O-RING,0.103" Thk x 0.987" ID, -120, Cl 5, 75 Duro

"O" RING - lift spool, lower

1шт.

42

A13166

WASHER

RETAINER - "O" ring, spool

1шт.

43

A16854

COVER

CAP - detent, outer

1шт.

44

A16855

SCREW

- set, detent cap

1шт.

45

A16853

VALVE SPRING

SPRING - detent cap

1шт.

46

A16852

RETAINER

- detent ball

1шт.

47

A16851

X

BALL - detent

6шт.

48

A16848

SLEEVE CYLINDER

SLEEVE - detent

1шт.

49

A16850

CAP

- detent, inner

1шт.

50

A25278

BARREL

ASSY - detent

1шт.

51

A16846

CAP

SPACER - centering, outer

1шт.

52

A16847

SPRING

- centering spacer

1шт.

53

A13164

RETAINER,13.49mm ID x 37.31mm OD

SPACER - centering, inner

1шт.

54

A15925

ELBOW UNION

ELBOW - pressure check

1шт.

55

A15567

O-RING

"O" RING - pressure check plug

1шт.

56

A15532

X

PLUG - pressure check port

1шт.

57

221-841

PLUG

- pipe, 1/4" hex. sckt. hd.

1шт.

58

221-844

PLUG,Hex Soc, 1/2"-14

- pipe, sq. sckt. hd.

1шт.

Выбрано товаров: 59