Запчасти Case W9C (202) - DROTT FOUR-IN-ONE BUCKET (09) - CHASSIS

Схема запчастей Case W9C - (202) - DROTT FOUR-IN-ONE BUCKET (09) - CHASSIS
FIT
1:1
100%

Артикул

Название

Примечание

Количество

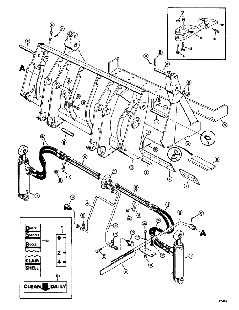
A16966

BUCKET - Drott, without teeth (1-1/2 cu. yd.) Machinery item, Includes: Ref. 1 - 31

1шт.

1

A17668

CYLINDER

- clam, R.H. (Parts list Figure 244)

1шт.

2

A17669

CYLINDER

- clam, L.H. (Parts list Figure 244)

1шт.

3

A40166

BLADE - bucket

1шт.

4

A17654

EDGE

- cutting, center

1шт.

5

A17655

POINT

EDGE - cutting, end

2шт.

6

19-1228

CARRIAGE BOLT,#3, 3/4" - 10 x 1 3/4", Gr 5

BOLT - plow head (3/4" - 10 NC x 1-3/4")

18шт.

7

25-1012

NUT,3/4"-10, G5

18шт.

8

A17662

PIN

-, Serial Range: cylinder-blade

2шт.

9

A17663

PIN

- clevis, 1/2" dia. x 3"

2шт.

10

132-48

COTTER PIN,1/8" x 1"

Pin, Split (Cotter), 1/8" x 1"

2шт.

11

A17660

PIN

-, Serial Range: clam-blade

2шт.

12

219-1

LUBE NIPPLE,1/8" - 27 NPTF

FITTING - grease, straight (1/8" NPT)

2шт.

13

A17661

X

PIN - clevis, 3/8" dia. x 3-3/4"

2шт.

14

132-48

COTTER PIN,1/8" x 1"

Pin, Split (Cotter), 1/8" x 1"

2шт.

15

A17687

HOSE ASSY.

HOSE - clam cylinder to relief valve (20" long)

4шт.

16

A17697

TUBE

- clam cylinder to relief valve

4шт.

17

A17696

COLLAR CLAMP

CLAMP -, Serial Range: tube-blade

2шт.

18

25-106

NUT,3/8"-16, G5

- hex. (3/8" - 16 NC)

2шт.

19

A17701

VALVE

- relief (Parts list Figure 204)

1шт.

20

A17699

TUBE ASSY.

TUBE - relief valve to swivel connector, L.H.

1шт.

21

A17700

TUBE - relief valve to swivel connector, R.H.

1шт.

22

A17698

CLAMP -, Serial Range: tube-blade

2шт.

23

15-612

BOLT (SPREADER)

HHCS - 3/8" - 16 NC x 3/4"

2шт.

24

A17688

LINK

CONNECTOR - swivel (Parts list Figure 204)

2шт.

A17656

CLAM ASSEMBLY - bucket, Includes: Ref. 25 - 28

1шт.

25

NSS

NOT SOLD SEPARAT

CLAM - bucket

1шт.

26

A17658

LARGE PLATE

WEAR PLATE - clam

1шт.

27

A17657

EDGE

- cutting, clam

1шт.

28

A18662

BUSHING

- pivot, clam

4шт.

29

A17664

PIN

-, Serial Range: cylinder-clam

2шт.

30

A17661

X

PIN - clevis, 3/8" dia x 3-3/4"

2шт.

31

132-48

COTTER PIN,1/8" x 1"

Pin, Split (Cotter), 1/8" x 1"

2шт.

31a

A18673

DECAL

- "Clean Daily"

1шт.

32

A17710

DECAL

- clam opening

1шт.

33

321-1319

DECAL - bucket position

1шт.

34

L40592

GUAGE - bucket positon indicator

1шт.

35

13-532

BOLT,Hex, 5/16" - 18 x 2", Gr 5

1шт.

36

13-526

BOLT,Hex, 5/16" - 18 x 1-5/8", Gr 5

1шт.

37

92-5

LOCK WASHER,5/16"

2шт.

38

T34922

BUSHING

SPACER - support

1шт.

39

L40628

ROD - indicator, bucket position

1шт.

40

A12140

PIN

- pivot, upper

2шт.

41

A15405

PIN - pivot, lower

2шт.

42

132-102

COTTER PIN,3/16" x 2 1/2"

Pin, Split (Cotter), 3/16" x 2 1/2"

1шт.

43

A10615

LOCK ASSY

LOCK RETAINER - pin

4шт.

44

13-816

BOLT,Hex, 1/2" - 13 x 1", Gr 5, Full Thd

8шт.

45

92-8

LOCK WASHER,1/2"

8шт.

A17665

TOOTH

ASSEMBLY - bucket (optional), Includes: Ref. 46 - 51

9шт.

46

NSS

NOT SOLD SEPARAT

SHANK - tooth, bucket (optional)

1шт.

47

13-1056

BOLT,Hex, 5/8" - 11 x 3-1/2", Gr 5

HHCS - 5/8" - 11 NC x 3-1/2", bucket teeth (optional)

1шт.

48

13-1048

BOLT,Hex, 5/8" - 11 x 3", Gr 5

Bucket teeth (optional) Hex, 5/8"-11 x 3", G5

1шт.

49

25-1010

NUT,5/8"-11, G5

Bucket teeth (optional) 5/8"-11, G5

2шт.

50

A17667

TIP

- tooth, bucket (optional)

1шт.

51

138-207

LOCK PIN,1/2" x 2 1/4", Slotted

PIN, , Bucket teeth (optional) 1/2" x 2 1/4", Slotted

1шт.

Выбрано товаров: 55