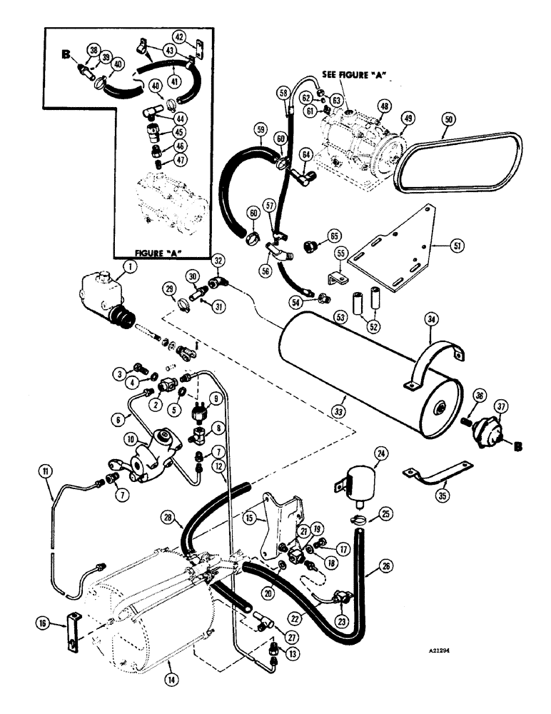
Запчасти Case W9E (124) - HYDROVAC BRAKE SYSTEM, DIESEL ENGINE, HYDROVAC PUMP CYL., RESERVE TANK & FILTERS (07) - BRAKES

Схема запчастей Case W9E - (124) - HYDROVAC BRAKE SYSTEM, DIESEL ENGINE, HYDROVAC PUMP CYL., RESERVE TANK & FILTERS (07) - BRAKES
FIT
1:1
100%

Артикул

Название

Примечание

Количество

1

A19970

CYLINDER

- master, brake (Parts list figure 120)

1шт.

2

A18890

CONNECTOR, ELEC

CONNECTOR - master cylinder to brake lines

1шт.

3

A12864

BOLT

- special, Serial Range: connector-cylinder

1шт.

4

L114099

WASHER,13.64mm ID x 21.21mm OD x 1.59mm Thk

GASKET - connector to bolt, small

1шт.

5

51200242

SEAL,15.24mm ID x 20.64mm OD x 0.81mm Thk

- connector to master cylinder, large

1шт.

6

A18988

TUBE

- master cylinder to clutch control valve

1шт.

7

222-1012

HYD CONNECTOR,7/16"-24 Inv Fl x 1/8" NPT

CONN - clutch cont. tube to tee & trans. tube to valve

2шт.

8

217-55

TEE,1/8"-27 NPTF Fem Run x 1/8"-27 NPTF Male Br

- clutch cont. tube & switch to cont. valve

1шт.

9

A12491

SWITCH

ASSY - brake, stop light

1шт.

10

A18891

LOCK VALVE

VALVE - clutch control (Parts list figure 138 (1) )

1шт.

11

A18977

TUBE - clutch cont. valve to trans. cont. valve

1шт.

12

A18980

PIPE

TUBE - master cylinder to hydrovac cylinder

1шт.

13

A18273

FITTING

- tube to hydrovac cylinder

1шт.

14

A18554

CYLINDER

- hydrovac (Parts list figure 132)

1шт.

13-820

BOLT,Hex, 1/2" - 13 x 1-1/4", Gr 5, Full Thd

2шт.

15

A18895

BRACKET - hydrovac, Serial Range: cylinder-chassis

1шт.

13-620

BOLT,Hex, 3/8" - 16 x 1-1/4", Gr 5, Full Thd

1шт.

92-8

LOCK WASHER,1/2"

2шт.

25-108

NUT,1/2"-13, G5

- 1/2" N.C. hex.

2шт.

16

A18898

BRACKET - support

1шт.

95-6

WASHER,3/8"

- plain - 3/8"

1шт.

92-6

LOCK WASHER,3/8"

4шт.

25-106

NUT,3/8"-16, G5

- 3/8" N.C. hex.

1шт.

25-116

NUT,Hex, 3/8"-24, G5

- 3/8" N.F. hex.

3шт.

17

A12864

BOLT

- connector to hydrovac cylinder

1шт.

18

L114099

WASHER,13.64mm ID x 21.21mm OD x 1.59mm Thk

GASKET - to connector (Small)

1шт.

19

A12863

SUN VISOR

CONNECTOR - hydrovac cylinder to brake tube

1шт.

20

51200242

SEAL,15.24mm ID x 20.64mm OD x 0.81mm Thk

- connector to hydrovac cylinder (Large)

1шт.

21

221-1011

DRAIN PLUG,Sq Hd, 1/8"-27 NPTF

PLUG - pipe, square head (1/8" NPT)

1шт.

22

A18981

TUBE

- connector to brake line tee

1шт.

23

A12451

FITTING

TEE - front and rear brake line

1шт.

13-516

BOLT,Hex, 5/16" - 18 x 1", Gr 5

1шт.

24

A18529

CLEANER - air, hydrovac (Parts list figure 136)

1шт.

92-5

LOCK WASHER,5/16"

1шт.

9635082

NUT,5/16" - 18, Gr 5

- 5/16" N.C. hex. hd.

1шт.

25

214-256

HOSE CLAMP,#20, 0.81" - 1.75", Type F Worm

CLAMP - hose

2шт.

26

A19325

INTAKE AIR HOSE,19.00 mm ID x 559.00 mm, SAE 20R1

- Air cleaner to Hydrovac 19.00 mm ID x 559.00 mm, SAE 20R1

1шт.

27

A17852

NIPPLE - 90 degree, Serial Range: hydrovac-hose

1шт.

28

A18900

HOSE ASSY.

HOSE - hydrovac to reserve tank

1шт.

29

214-253

HOSE CLAMP,#10, 0.56" - 1.06", Type F Worm

CLAMP - hose

2шт.

30

A18515

SUN VISOR

NIPPLE - special

1шт.

31

221-1011

DRAIN PLUG,Sq Hd, 1/8"-27 NPTF

PLUG - pipe, square head (1/8" NPT)

1шт.

32

221-1414

ELBOW,90 Degree, 1/2"-14, NPT

- street, 90 degrees (1/2" NPT)

1шт.

33

A18514

TANK

- reserve, vacuum

1шт.

34

A19960

STRAP - mounting tank (Upper)

2шт.

35

A19961

STRAP - mounting tank (Lower)

2шт.

13-512

BOLT,Hex, 5/16" - 18 x 3/4", Gr 5

4шт.

75-432

SCREW

- machine, 1/4" x 2" N.C. rd. hd.

2шт.

92-4

LOCK WASHER,1/4"

WASHER, LOCK, 1/4"

2шт.

92-5

LOCK WASHER,5/16"

4шт.

25-224

SQUARE NUT,Sq, 1/4"-20

- square, 1/4" N.C.

2шт.

36

221-1185

FITTING

NIPPLE - straight (1/2" NPT)

1шт.

37

A18532

CLEANER

FILTER - air, vacuum pump (Parts list figure 136)

1шт.

38

A18515

SUN VISOR

NIPPLE - special

1шт.

39

221-1011

DRAIN PLUG,Sq Hd, 1/8"-27 NPTF

PLUG - pipe square head (1/8" NPT)

1шт.

40

214-253

HOSE CLAMP,#10, 0.56" - 1.06", Type F Worm

CLAMP - hose

2шт.

41

A18904

HOSE ASSY.

HOSE - filter to vacuum pump

1шт.

42

A19330

BRACKET - clamp mounting

1шт.

43

A27256

CLAMP

- tube, manifold and cylinder block

2шт.

13-520

BOLT,Hex, 5/16" - 18 x 1-1/4", Gr 5

- 5/16" x 1-1/4" N.C. hex.

1шт.

13-612

BOLT,Hex, 3/8" - 16 x 3/4", Gr 5, Full Thd

1шт.

95-5

WASHER,3/8" x 7/8" x .083"

- plain - 5/16"

2шт.

92-5

LOCK WASHER,5/16"

1шт.

95-6

WASHER,3/8"

- plain - 3/8"

1шт.

92-6

LOCK WASHER,3/8"

1шт.

9635082

NUT,5/16" - 18, Gr 5

- 5/16" N.C. hex.

1шт.

44

A17852

ELBOW - male, 90 degrees

1шт.

45

A18513

LOCK VALVE

VALVE - check (Parts list figure 136)

1шт.

46

221-1060

REDUCER,Hex, 3/4" x 1/2" NPT

BUSHING - reducer

1шт.

47

221-1185

FITTING

NIPPLE - straight (1/2" NPT)

1шт.

48

A18534

PUMP

- vacuum (Parts list figure 136)

1шт.

49

A18536

PULLEY

- vacuum pump

1шт.

50

L41636

BELT,0.38" W x 40.20" L

V BELT , Pump drive 0.38" W x 40.20" L

1шт.

51

L40572

PLATE - pump mounting

1шт.

13-724

BOLT,Hex, 7/16" - 14 x 1-1/2", Gr 5

Hex, 7/16"-14 x 1 1/2, G5

4шт.

95-7

WASHER,7/16"

- plain, 7/16"

4шт.

92-7

LOCK WASHER,7/16"

4шт.

25-107

NUT,7/16"-14, G5

- 7/16" N.C. hex

4шт.

13-716

BOLT,Hex, 7/16" - 14 x 1", Gr 5

1шт.

92-7

LOCK WASHER,7/16"

1шт.

13-868

BOLT,Hex, 1/2" - 13 x 4-1/4", Gr 5

2шт.

92-8

LOCK WASHER,1/2"

2шт.

52

L40686

SPACER - pump mounting

2шт.

53

221-101

PIPE,Nipple, 1/8" NPT x 3/4"

NIPPLE - 1/8" x 3/4" long

1шт.

54

221-743

ADAPTER

BUSHING - reducing

1шт.

55

L41209

BRACKET - clamp mounting

1шт.

56

A18509

FITTING

ELBOW - 45 degrees

1шт.

57

49774

CLAMP

-, Serial Range: hose-bracket

1шт.

13-612

BOLT,Hex, 3/8" - 16 x 3/4", Gr 5, Full Thd

1шт.

92-6

LOCK WASHER,3/8"

1шт.

25-106

NUT,3/8"-16, G5

- 3/8" N.C. hex.

1шт.

58

A18547

HOSE

- lubrication, vacuum pump

1шт.

59

L40896

HOSE ASSY.

HOSE - oil return, Serial Range: pump-engine

1шт.

60

214-253

HOSE CLAMP,#10, 0.56" - 1.06", Type F Worm

CLAMP - hose

2шт.

222-23

FITTING,1/2"-24 x 1/4" NPTF w/Nut

CONNECTOR ASSEMBLY - flex tube, straight, Includes: Ref. 61 - 63

1шт.

61

NSS

NOT SOLD SEPARAT

CONNECTOR - flex tube, straight

1шт.

62

222-102

SLEEVE,1/4" Tube

1шт.

63

87017024

TUBE NUT,1/2"-24

NUT - flex fitting (1/4" tube)

1шт.

64

A27489

ELBOW UNION

NIPPLE - 90 degrees, pump to return hose

1шт.

65

A18550

PLUG

CONNECTOR -, Serial Range: elbow-engine

1шт.

Выбрано товаров: 100