Качественные детали и логистика
Оригинальные и аналоговые запчасти с доставкой по России, Казахстану и Беларуси
©2022 PartSell ООО "Система" ИНН 2463123282 ОГРН 1212400004838
Центральный офис: г. Красноярск, Академика Киренского, д.87, пом.4
Телефон: 8 (800) 777-65-74 Email: zakaz@partsell.ru
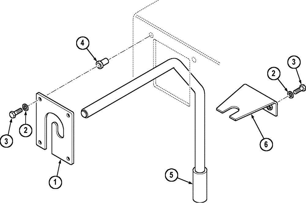
(09D-22) - UPPERSTRUCTURE SWING LOCKING CONTROL 788P / 788PSU
№
Артикул
Название
Примечание
Количество
1
E5123461
PLATE
1шт.
2
U35001
WASHER
M6 N
6шт.
3
120100
BOLT,M6 x 20mm, Cl 8.8
4
F35425
RIVET
M6
4шт.
5
Q8828242
6
H8828212
Выбрано товаров: 0