Качественные детали и логистика
Оригинальные и аналоговые запчасти с доставкой по России, Казахстану и Беларуси
©2022 PartSell ООО "Система" ИНН 2463123282 ОГРН 1212400004838
Центральный офис: г. Красноярск, Академика Киренского, д.87, пом.4
Телефон: 8 (800) 777-65-74 Email: zakaz@partsell.ru
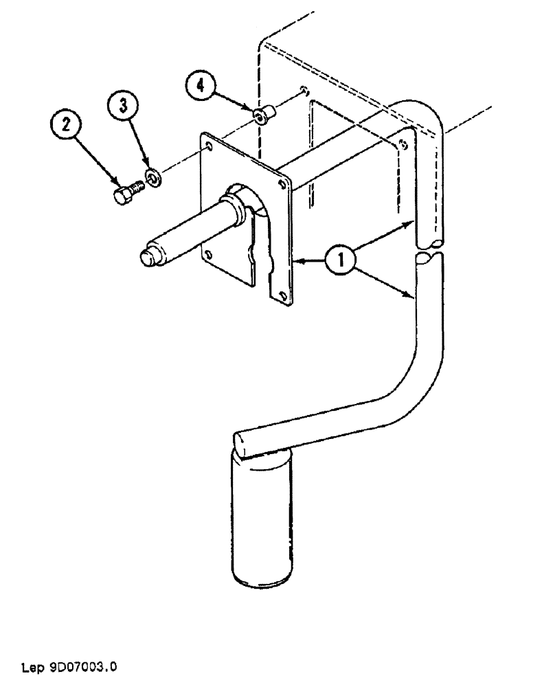
(84) - UPPERSTRUCTURE SWING LOCKING CONTROL
№
Артикул
Название
Примечание
Количество
1
F8128274
ASSEMBLY
1шт.
2
86508568
BOLT,Hex, M6 x 1 x 16mm, Cl 8.8
4шт.
3
R34607
WASHER
4
F35425
RIVET
M6
Выбрано товаров: 0