Запчасти Case 688B (96) - CAB DOOR (05) - UPPERSTRUCTURE CHASSIS

Схема запчастей Case 688B - (96) - CAB DOOR (05) - UPPERSTRUCTURE CHASSIS
2
6
6
24
5
17
21
15
9
10
21
1
4
18
12
20
29
21
19
27
26
3
8
16
7
2
4
14
25
23
8
30
22
11
28
20
13
FIT
1:1
100%

Артикул

Название

Примечание

Количество

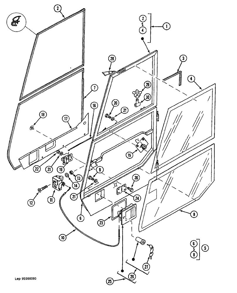
1

Q9554927

PANEL

1шт.

2

S9554929

GASKET

1шт.

3

R9554928

GASKET

1шт.

4

K9554922

GLASS

1шт.

5

U9554931

DOOR ASSY.

1шт.

6

V9554932

DOOR

1шт.

7

W9554933

GASKET

1шт.

8

L9554923

GLASS

1шт.

9

86977786

BOLT,Hex, M6 x 1 x 25mm, Cl 8.8

M6 x 12

4шт.

10

E2631342

CABLE ASSY.

1шт.

11

D1352058

LOCK ASSY

1шт.

12

P32411

SCREW,Cross, M8 x 45, 10.9

2шт.

13

A134596

SAFETY NUT

M8

2шт.

14

J745438

WASHER

2шт.

15

C4143222

CONTROL

1шт.

16

G2631344

CABLE

1шт.

17

B4641447

LINING

1шт.

18

U3836947

CLASP

3шт.

19

T1652015

LOCK ASSY

1шт.

20

120100

BOLT,M6 x 20mm, Cl 8.8

6шт.

21

U35001

WASHER

10шт.

22

F234513

SAFETY NUT

M6

4шт.

23

C9646018

GASKET,1mm Thk

1шт.

24

J2725991

DOOR COVER

1шт.

25

E1652002

HANDLE

1шт.

26

F1652003

LOCK, CYLINDER

LOCK-CYLINDER

1шт.

27

G1652004

SET OF 2 KEYS

1шт.

28

3404053R91

PACKAGE

1шт.

29

B9554937

LOCK

2шт.

30

C9554938

LARGE PIN

PIN, LARGE

2шт.

Выбрано товаров: 30